SAMSUNG Smart Freestanding Electric Range with Steam Clean

Signature Features
Easy to Clean
• Steam Clean quickly cleans your oven in 20 minutes, while the hidden bake element makes cleaning your oven easy with a seamless cavity interior.
Large Oven Capacity
• This large 6.3 cu. ft. oven can fit multiple dishes at one time.
Flexible Cooktop
• This 4-burner cooktop includes 2 adjustable dual ring burners.
Available Colors
- Stainless Steel (shown)
- Black
- White

Features
- Stainless Steel Design
- Large Oven Capacity – 6.3 cu. ft.
- Extra Oven Settings – Bread Proof, Favorite Cook, Keep Warm
- Storage Drawer
- Flexible Cooktop:
- Four Burner Cooktop
- Two Dual Burners (6″/9″)
- Two Single Burners (6″)
Convenience
- Wi-Fi Connectivity
- Voice-Enabled
- SmartThings Cooking
- Steam Clean
- Hidden Bake Element
- Sabbath Mode
- Child Safety Lock
- Delay Start
- Auto Oven Light
- Kitchen Timer
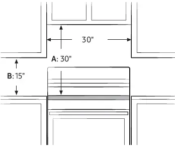
Installation Specifications

- A: Cabinet opening min 30″
- B: Acceptable electrical outlet area
IMPORTANT: If your cabinets are over 363⁄4″ high, you must install this range on a hard, heat-resistant support that raises the surface of the range so that it is about even with the countertop.

- A: 30″ minimum clearance between the top of the cooking surface and the bottom of an unprotected wood or metal cabinet; or 24″ minimum when the bottom of the wood or metal cabinet is protected by not less than ¼” of flame retardant millboard covered with not less than no.28 MSG sheet steel, 0.015″ stainless steel, 0.024″ aluminum, or 0.020″ copper.
- B: 15″ minimum between the countertop and the adjacent cabinet bottom.
IMPORTANT: Consult with Installation Manual for detailed instructions before installing. All ranges must be installed with the Anti-Tip device that is included.
Power Source: 240V/208V/60 Hz/40A
Electric Cooktop
- Right Front: 6″/9″ Dual Ring Burner, 3300 W
- Left Front: 6″/9″ Dual Ring Burner, 3300 W
- Right Rear: 6″ Burner, 1200 W
- Left Rear: 6″ Burner, 1200 W
Oven
- Capacity: 6.3 cu. ft.
- Bake
- Variable Broil: Low/High
- Bread Proof
Warranty
One (1) Year Parts and Labor
Product Dimensions & Weight (WxHxD)
Oven Interior Dimensions:
2413/16″ x 227/16″ x 193/4″
Outside Net Dimensions:
2915/16″ x 465/16-471/16″ (Adjustable) x 2811/16″
Weight: 131 lbs
Shipping Dimensions & Weight (WxHxD)
Dimensions: 331/16″ x 509/16″ x 305/16″
Weight: 154 lbs

![Samsung Freestanding Electric Range [ne59t4311ss] User Manual Samsung Freestanding Electric Range [ne59t4311ss] User Manual](https://static-data1.manualsee.com/1/img/341/18033/2020/12/00-97.jpg)
















