Cubii COMPACT Seated Elliptical Trainer Owner’s Manual
Welcome to the Cubii Communitii®
Whether you are taking the first step on your fitness journey or lookingto get more exercise from the comfort of home, bringing the Cubii Move into your routine is a big stride toward a healthier, more active life! Before you begin, we want you to be familiar with important information on how to use the Cubii Move safely so that you and your loved ones get the most out of your experience. Let’s review the safety notes and warnings now. If you have any questions, please contact:
+1-844-282-4401
[email protected]
cubii.com/help
BEFORE YOU BEGIN
Safety Warnings & Instructions
WARNING Consult your physician before starting this or any exercise program. This is especially important if you have never exercised before, are pregnant, or suffer from any health problems. If at any time during exercise you feel faint, dizzy, or experience pain, stop and consult your physician.
WARNING Do not use when standing. Only use when sitting. Failure to follow all warnings and instructions could result in serious injury or death.
WARNING To reduce the risk of serious injury, read the following Safety Instructions before using Cubii Move.
WARNING Wear sturdy, closed-toed shoes when using any Cubii elliptical.
BATTERY WARNING
KEEP OUT OF REACH OF CHILDREN. DO NOT SWALLOW. Battery can cause serious injuries if swallowed or placed inside any part of the body. Seek medical attention immediately if it is suspected the battery has been swallowed or placed inside any part of the body
- Read all warnings and cautions posted on the Cubii Move unit.
- Cubii Move should only be used after a thorough review of the Owner’s Manual.
USE ONLY WHILE SITTING, DO NOT STAND ON THE UNIT UNDER ANY CIRCUMSTANCE.
- We recommend that two people are available for assembly of this product.
- Do not allow children to use or play on Cubii Move. Keep children and pets away from Cubii Move when it is in use.
- Set up and operate Cubii Move on a solid, level surface. Do not position Cubii Move on loose rugs or uneven surfaces.
- Make sure that adequate space is available for access to and around Cubii Move.
- Before using, inspect Cubii Move for worn or loose components. Securely tighten or replace any worn or loose components prior to use.
- Do not wear loose or dangling clothing while using Cubii Move.
- Follow your physician’s recommendations in developing your own personal fitness program.
- Always choose a workout plan which best fits your fitness and ability level. Know your limits and train within them. Always use common sense when exercising.
- Be careful to maintain your balance on your chair while using, mounting, dismounting, or assembling Cubii Move; loss of balance may result in a fall and serious bodily injury.
- Keep both feet firmly and securely on the pedals while exercising.
- Maximum recommended user weight is 300 pounds (136 kg). Never stand on the pedals, no matter your weight.
- Cubii Move should be used by only one person at a time.
Before You Begin
Consult Your Physician
It is always important to consult your physician before starting an exercise program. This is particularly true if any of the following apply to your current medical condition:
- Chest pain or pain in the neck and/or arm
- Shortness of breath
- A diagnosed heart condition
- Joint and/or bone problems
- Currently taking cardiac and/or blood pressure medications
- Have not previously been physically active
- Dizziness or blurred vision
- Those with physical handicaps
If you feel any of the physical symptoms listed above when you start your exercise program, contact your physician right away.
GETTING STARTED
Product Size and Weight
The assembled Cubii Move measures: 21.7” x 19.7” x 9.7”H (55cm x 50cm x 24.5cm). The weight of the unit is approximately 17.6lbs (8kg).
What’s in the Box
Move Main Body Left Pedal Tube Right Pedal Tube Left Pedal Right Pedal Base Frame Screws (x10) Allen Key.
Getting Started
Warning Labels
The warning label is located on your Cubii Move product here:
WARNING
Failure to follow all warnings and instructions could result in serious injury or death. Before assembling or using this product, read and follow the Owner’s Manual and all other instructions that accompany this product. Replace this warning label if damaged, illegible, or reMoved. Keep children and pets away from equipment. Consult your physician before starting this or any exercise program. This is especially important if you are over the age of 35 or have any pre-existing health condition. Always make sure all nuts and bolts are securely tightened before using this product. The maximum weight that can be applied is 300 lb or 136 kg. DO NOT STAND ON UNIT UNDER ANY CIRCUMSTANCE. USE ONLY WHEN SITTING. STANDING ON THE UNIT MAY CAUSE SERIOUS INJURY
Serial Number Location
The serial number is located on your Cubii Move product label and the content panel of the box.
PRODUCT LABEL

ASSEMBLING YOUR UNIT
Follow the steps below to assemble your Move compact elliptical.
Step 1 — Align Base Frame
Flip your Move unit upside down
Align the holes of the base frame with the holes on the bottom of the unit.
NOTE: Make sure the rubber pads on top of the base frame are underneath the resistance knob
Screw in the four screws matching A screw images
Assembling Your Unit
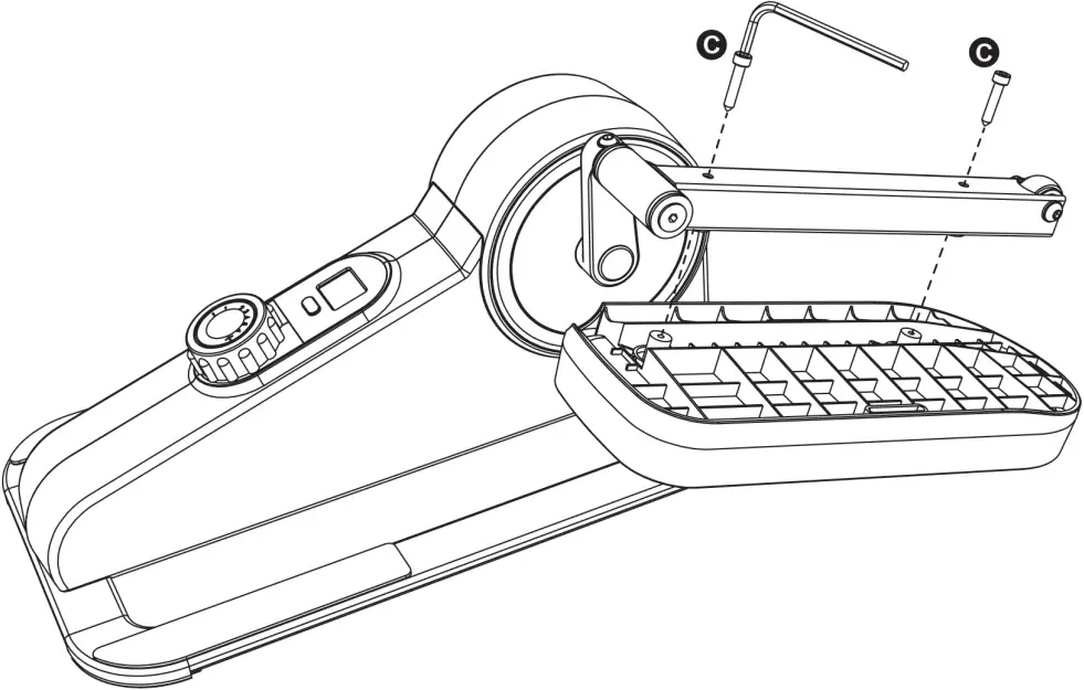
Step 2 — Add Arms
Flip your Move unit rightside up.
Align the right pedal arm with the right crank arm hole.Push the tube all the way into the hole in the crank arm. Make sure it is completely secure before moving to the next step
Once completely secure, use your allen key to tighten the fastner bolts on top of the crank arm.
Step 3 — Flip
For maximum support, make sure you flip the pedal arm you are assembling so it is at the bottom and close to the base.
Step 4 — Screw
With an allen key, screw in the pedal until tight. Make sure it does not wobble.
Step 5 — Repeat
Repeat steps 2-4 with the left pedal, then get moving!
USING YOUR CUBII Move
Make sure to have followed all of the assembly steps in the Owner’s Manual before you begin using Cubii Move.
Positioning
The Cubii Move can be used either in an upright position, such as with an office chair, or in a more reclined position, such as when used on a sofa.
- Cubii Move occupies a floor area of 21.7” x 19.7” (55cm x 50cm). Please leave a clear zone behind the training area that is at least 24” (61 cm). This zone must be clear of any obstruction and provide the user a clear exit path.
- Find the seat configuration that suits you most. If you feel there is not enough room between your knees and the desk, push your Cubii Move away from you and lower the chair height. Keep your back straight, and do not slouch.

Adjusting the Resistance
Cubii Move has 6 resistance levels. Adjust your workout intensity by turning the resistance control knob. Level 1 is the lowest intensity and level 6 is the highest. We recommend you begin at Level 1 and increase the intensity gradually over time.
Display Monitor
You can track your workout using the LCD Screen. It tracks the stats listed below:
- Strides (0-9999)
- Calories (0-999.9 kcal)
- Distance (0-999.9 mi or km)
- Time (0:00-99:59 hour: min)
- RPM (0-999 strides/min)
- Press the blue button to switch between stats. Select scan to alternate automatically.
- Screen turns on when the silver button is pressed or when you start
pedaling. Screen turns off after 4 minutes of inactivity. - To reset stats, press and hold the silver button until all segments turn black (about 3 seconds), then let go. Replacing the battery will also reset the stats. When the stats reach maximum values, they will reset to zero.
- To switch from Miles (M) to Kilometers (K), press and hold the silver button for at least 6 seconds. All segments will turn black twice during this time. After the second flash of black segments, release the button. When displaying distance, you will see the M is now showing a K, or vice versa.
GENERAL INFORMATION
Return Policy and Warranty
For more information about how to register your unit and our warranty and return policy, scan the QR code at the beginning of the manual, call our Customer Service number +1-844-282-4401 or visit Cubii.com.
We strongly recommend keeping the original box in the event of a return or warranty claim.
Troubleshooting
For troubleshooting and assistance with your Cubii Move, you can email us at: [email protected]
LCD Screen Battery Caution & Disposal
To replace battery, gently re Move the screen from the housing to access the back panel. Gently unscrew the fastener to gain access to the battery housing. Carefully reattach the battery cover with the two screws. Press down on the top of the screen until you hear it click. The screen is now secure in the unit.
- For best results, use 1.5V LR44H Button Cell.
- Only install a new battery of the same type.
- Do not dispose of battery in fire.
- Battery should be recycled or disposed of as per state and local guidelines.
- Failure to insert battery in the correct polarity may shorten the life of the battery or cause the battery to leak.
- For assistance with replacing the battery, please email us at
[email protected]
Correct Orientation Below
Care and Maintenance
The safety and integrity designed into Cubii Move can only be maintained when Cubii Move is regularly examined for damage and wear. It is the sole responsibility of the user/owner to ensure that regular maintenance is performed. Special attention should be given to the following:
- • Periodically wipe the unit down with a damp cloth, paying special attention to the rubber padding on the wheel tracks. This will help reduce any noise between the wheels and the wheel track.
- Pay special attention to how tightly the pedals are screwed to the pedal arms. Tighten regularly using an allen key.
- Worn or damaged components shall be replaced immediately or Cubii Move re Moved from service until repair is made. Email Fitness Cubed, Inc at [email protected] to request replacement parts.
- Only Fitness Cubed, Inc supplied components shall be used to maintain/repair Cubii Move.
- Make sure crank arm fastener screws are tightly secured or else pedals could come unscrewed from unit and create noise, and cause risk of damage and injury.
Important Health & Safety Instructions
Consult your physician before starting this or any exercise program. This is especially important if you are over the age of 35 or have any preexisting health conditions. If you feel faint or dizzy, immediately discontinue use of this equipment. Serious bodily injury can occur if this equipment is not assembled and used correctly. Serious bodily injury can also occur if all instructions are not followed. Keep others and pets away from equipment when in use. Read and follow these instructions:
- Cubii Move has been designed to be used only while sitting. Do not stand on the pedals as it was not designed to be used while standing.
- Make sure the pedals on Cubii Move are tight before use. General Information Loose pedals will slowly come undone, create noise, and cause risk of damage and injury.
- Do not subject Cubii Move to heavy shock or treat it with excessive force. Do not attempt to disassemble or modify it.
- Use Cubii Move indoors on a level surface. Keep it away from moisture and dust.
- Do not expose Cubii Move to extremely high or low temperatures. Do not leave Cubii Move in direct sunlight for an extended period of time.
- Do not place Cubii Move in a location where it may cause an obstruction.
- Do not use cleaners or solvents to clean Cubii Move.
- Do not use any lubricants. They can damage the unit.
- Make sure base screws are tightly secured.
- Make sure pedal tubes are as tightly secured to the crank arms.
Regulatory Notices
- This device complies with Part 15 of FCC Rules. Operation is subject to the following two conditions:
- This device may not cause harmful interference, and
- This device must accept any interference received, including interference that may cause undesired operation.
- Changes or modifications not expressly approved by the party responsible for compliance could void the user’s authority to operate the equipment
NOTE: This equipment has been tested and found to comply with the limits for a Class B digital device, pursuant to Part 15 of the FCC Rules. These limits are designed to provide reasonable protection against harmful interference in a residential installation. This equipment generates uses and can radiate radio frequency energy and, if not installed and used in accordance with the instructions, may cause harmful interference to radio communications. However, there is no guarantee that interference will not occur in a particular installation. If this equipment does cause harmful interference to radio or television reception, which can be determined by turning the equipment off and on, the user is encouraged to try to correct the interference by one or more of the following measures:
- Reorient or relocate the receiving antenna.
- Increase the separation between the equipment and receiver.
- Connect the equipment into an outlet on a circuit different from that to which the receiver is connected.
- Consult the dealer or an experienced radio/TV technician for help.
RF warning statement:
The device has been evaluated to meet general RF exposure requirement. The device can be used in portable exposure conditions without restriction.
Fitness Cubed, Inc. is authorized to apply the CE Mark on Cubii, Model F5A1, thereby declaring conformity to the essential requirements and other relevant provisions of:
- EMC: EMC Directive 2014/30/EU
- Safety: General Product Safety Directive 2001/95/EC
- ROHS: European Council Directive 2011/65/EU
- WEEE: WEEE Directive 2012/19/EU
- Reach: Reach Regulation (EC) No. 1907/2006
TRADEMARK OF FITNESS CUBED INC. REGISTERED IN THE IN THE US AND CANADA.
CAN ICES-003 (B) / NMB-003 (B)
This device contains license-exempt transmitter(s)/receiver(s) that comply with Innovation, Science and Economic Development Canada’s license-exempt RSS(s). Operation is subject to the following two conditions:
- This device may not cause interference.
- This device must accept any interference, including interference that may cause undesired operation of the device.
SYMBOLS
Additional product information can be found online
manuals.cubii.com
Customer Support
[email protected]
cubii.com/help
+1-844-282-4401




















