NEUTYPECHIC LS-A-MR11002 Medicine Cabinet User Manual
Parts List
| Medicine Cabinet X1 | Rubber plug screws X4 | Shelf X2 | Screw Cover X4 | Mental Screws X4 |
![]() | ![]() | ![]() | ![]() | ![]() |
Tools Needed

Rough Wall Opening
| Overall Size | Rough wall Opening |
| 24 in.(W) X 36 in.(H) X 5 in.(D) | 22-4/5 in.(W) X 22 in.(H) X 3-1/2 in.(D) |
Installation Instruction
Important
- This product contains glass parts.
Care must be taken when fitting or handling these parts to prevent personal injury or damage to the products; if the glass is broken, please stop using it and replace it from agent or manufacturer. - Ensure the mounting surface is dry and strong enough to bear four times the weight of luminaire for the safe fitting of this fixture:
Ensure that current building regulations are adhered to at all times should an additional electrical supply be required; - Care must be taken before drilling fixing holes to avoid any existing wiring or pipework that may be concealed;
Finish the installation as following steps
Maintenance Cleaning
Cabinet(s) should only be cleaned with clean chamois leather moistened with warm water and given a final polishing buff with a soft,
lint free cloth.
Recessed Installation
- Step 1: Carefully remove all packing material.
Place shelves and hardware aside until needed. - Step 2: Determine desired location of cabinet on wall. Mark wall to show wall opening size.
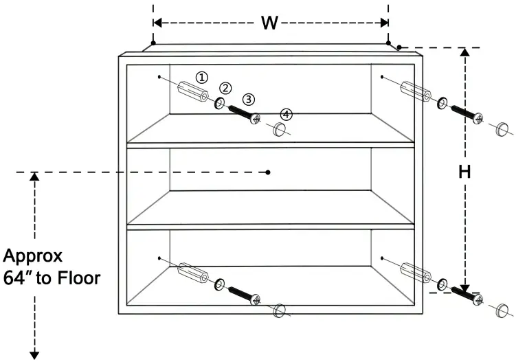
Generally, the recommended height to the center of the cabinet is 64″ from the floor. - Step 3: CAUTION: Wall studs, plumbing or electrical lines that interfere must be removed or relocated.
Cut wall opening, being careful not to damage the surrounding wall surface.
Insert framing to support all plaster board edges.
- Step 4: Insert cabinet into wall opening in plumb and centered position.
Use a carpenter’s level and shim corners of cabinet if necessary. - Step 5: Once cabinet is inserted into wall, measure down 4″ from the top and the bottom of the cabinet.
Center the measurement on the sides of the cabinet. - Step 6: Using a drill bit, drill a total of 4 pilot holes in the locations determined in Step 5. Secure to wall studs through the 4 mounting holes inside cabinet (screws provided)

Surface Installation
- Step 1: Open the doors and measure four (4) mounting holes.

- Step 2: Mark four (4) mounting holes on the wall corresponding to the pre-drilled hole Io cations in the mounting bars on the
inside back panel of the cabinet.
- Step 3: Having the cabinet held by a helper, drive the mounting screws as supplied to secure the cabinet firmly against the mounting
surface.
CUSTOMER SUPPORT
1 323 412 8766
www.neutypechic.com




























