
Ref:1545_131021

2022-2023
131021 Charcoal Barbecue
| 1 | 605x287x30 MM | X 1 | 1/1 | |
| 2 | 460x310x20 MM | X 1 | 1/1 | |
| 3 | 460x310x20 MM | X 1 | 1/1 | |
| 4 | 605x287x30 MM | X 1 | 1/1 | |
| 5 | 745X50X50 MM | X 1 | 1/1 | |
| 6 | 745X50X50 MM | X 1 | 1/1 | |
| 7 | 80X80X50 MM | X 2 | 1/1 | |
| 8 | 695X50X50 MM | X 1 | 1/1 | |
| 9 | 695X50X50 MM | X 1 | 1/1 | |
| 10 | 610X440X26 MM | X 1 | 1/1 | |
| 11 | 490X8.7X8.7 MM | X 1 | 1/1 | |
| 12 | 170X170X50 MM | X 2 | 1/1 | |
| 13 | 123X123X33 MM | X 2 | 1/1 | |
| 14 | 620X380X45 MM | X 1 | 1/1 | |
| 15 | 240X38X11 MM | X 1 | 1/1 | |
| 16 | 80X23X30 MM | X 1 | 1/1 | |
| 17 | 320X320X5 MM | X 1 | 1/1 | |
| 18 | 150X38X11 MM | X 1 | 1/1 | |
| 19 | 120x95x25 MM | X 4 | 1/1 | |
| 20 | 70X25X25 MM | X 2 | 1/1 | |
| 21 | 490X340X70 MM | X 2 | 1/1 | |
| 22 | 610X150X225 MM | X 1 | 1/1 | |
| 23 | 80X30X25 MM | X 2 | 1/1 | |
| 24 | 270X85X19 MM | X 1 | 1/1 | |
| 25 | 25X25X5 MM | X 4 | 1/1 | |
| 26 | 80X33X40 MM | X1 | 1/1 | |
| 27 | 600X458X35 MM | X1 | 1/1 | |
| 28 | 200X85X190 MM | X1 | 1/1 | |
| 29 | 615X310X25 MM | X 1 | 1/1 | |
| 30 | 280X415X5 MM | X2 | 1/1 | |
| 31 | 80X35X25 MM | X 1 | 1/1 | |
| 32 | 75X75X38 MM | X1 | 1/1 |
| A | M6X12 MM | X 29 | 1/1 | |
| B | M6X35 MM | X 4 | 1/1 | |
| C | M6X45 MM | X 4 | 1/1 | |
| E | M5X16 MM | X 4 | 1/1 | |
| F | M5X28 MM | X 2 | 1/1 | |
| G | M6 MM | X 8 | 1/1 | |
| H | M6 MM | X 9 | 1/1 | |
| I | M10 MM | X 2 | 1/1 | |
| J | NA | X 2 | 1/1 | |
| K | NA | X 3 | 1/1 | |
| L | D6 MM | X 13 | 1/1 | |
| M | D6 MM | X 13 | 1/1 | |
| N | M5X28 MM | X 1 | 1/1 |
AFTER-SALES SERVICE/INFORMATION/VIDEO/CONTACT
SAV.HABITATETJARDIN.COM

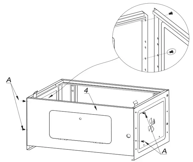
Step 1

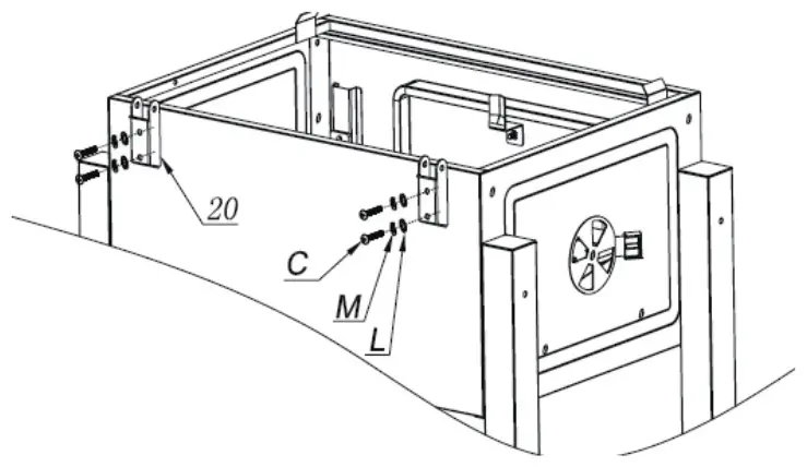
Step 2

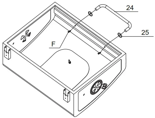
Step 3

Step 4

Step 5

Step 6

Step 7

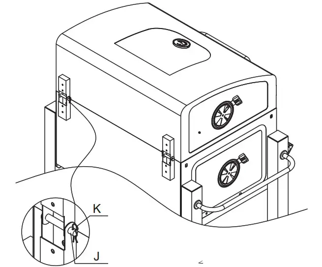
Step 8

Step 9

Step 10

Step 11

Step 12

Step 13

Step 14

Step 15

Step 16

Step 17

Step 18

Step 19

Step 20

Step 21

Step 22

Step 23

Step 24




















