
Instruction
Installing the coin box
WE170PP, WE170VP
WE170PP Washing Machine
- Instruction for installing the coin box to WE170PP and WE170VP
Demount the rear cover on the coin box

The connection cable is at delivery inside the coin box.
Note!
The connection cable is 3 m. Take this into consideration when positioning the coin box.
Insert and connect the cable on the board in the coin box at connection COIN. The connection on the cable is marked with COIN.
Instruction
Fasten the cable with the counter nut and cable gland at the bottom of the coin box. There are two holes prepared, select one of them.
The other counter nut and cable gland shall be mounted to the machine.

Level the coin box by adjusting the feet (A).
The coin box shall be fastened to the floor/foundation. Fasten the coin box through two of the holes (B) (diagonally).

Remount the cover on the rear of the coin box.
Disconnect the power to the machine.
Demount the top panel.

Locate one of the holes that are prepared for the cable to the coin box on the back of the machine. (One hole is used for the coin box and one hole is used for the connection of the external payment system).
Drill a 20–21 ⌀ mm hole at one of the locations.
Insert the cable and mount it with the counter nut and cable gland.
The cable shall be run through the machine to the “satellite board” on the front of the machine.
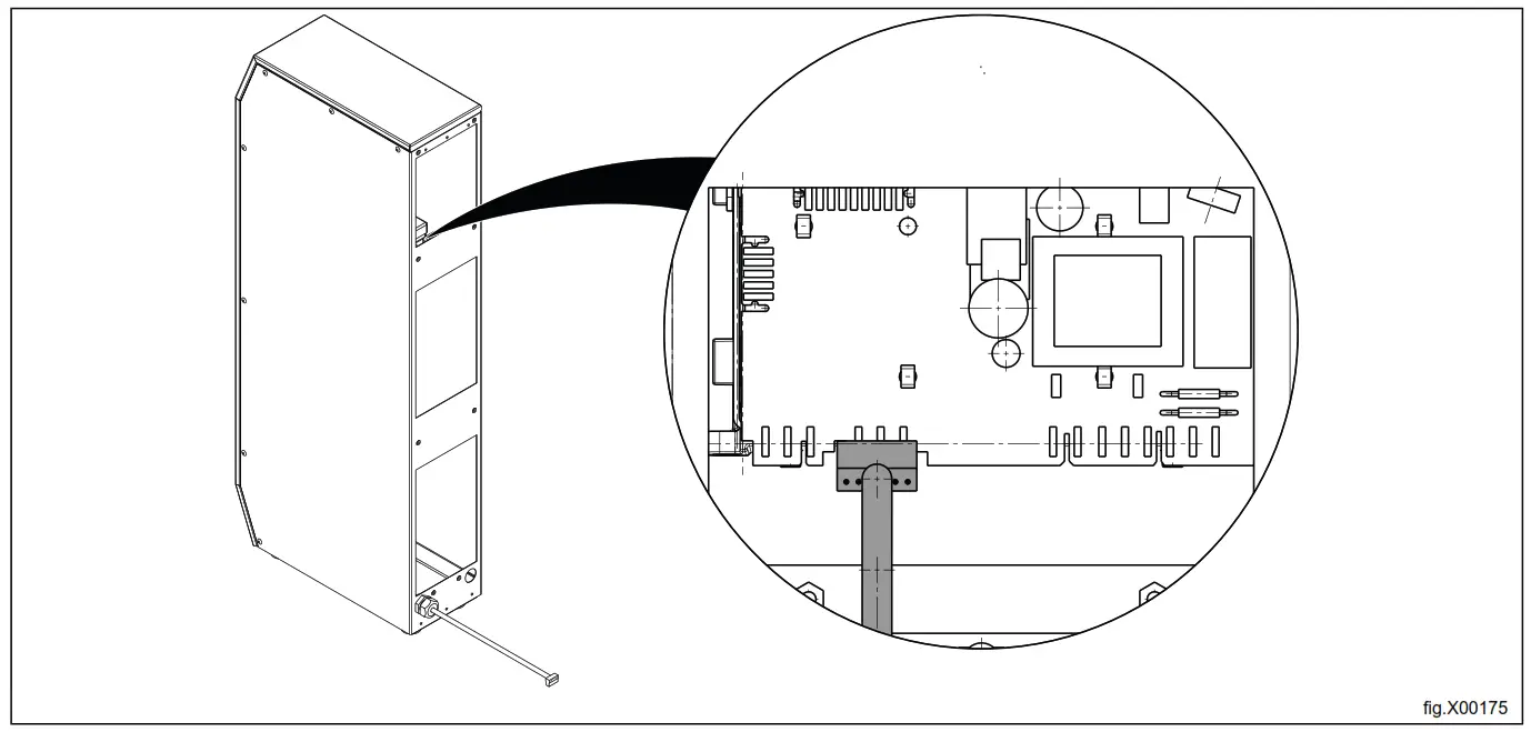
Remove the screw and demount the lid to the “satellite board”.

Connect the cable to connection J29. The connection on the cable is marked with J29.
The cable shall be led out on the right side of the “satellite board”.

Note!
All jumpers on J30 and J31 must be removed.

Strap the cable at suitable positions. The cable must not be in contact with any moving parts.
Remount the lid to the “satellite board”.
Remount the top panel.
1.1 Programming the machine
When the coin box has been installed; connect the power to the machine and switch on the machine.
Remove the drawer on the front of the coin box.
Press the price programming button that is located on the right behind where the drawer.
When the button has been pressed the display on the machine switches to the following view:
Select if the price shall be displayed with a decimal or not.
Press the first button to the left to select or deselect the decimal.
Save your selection by pressing the start/pause button to the right.
The next menu is automatically displayed when saving through the complete programming.
Set the value of coin 1 (C1). Decrease the value with the first button to the left and increase the value with the second button to the left.
Note!
The value must be over zero. C1 are for coin.
Save the value by pressing the start/pause button.
Set the value of coin 2 (C2). Decrease the value with the first button to the left and increase the value with the second
button to the left.
Note!
The value must be over zero if tokens are to be accepted.
Save the value by pressing the start/pause button.
Set the price for the programs 1–6. The price for program 1 is set first followed by programs 2, 3, etc. Decrease the value with the first button to the left and increase the value with the second button to the left.

When the last program has been programmed and saved the display switches to the following view:
Note!
The menu will go back to normal status if the programming is inactive for 15 seconds. You can also go back to normal status by pressing any other button or if the machine is switched off and on again.
To return to the programming menu; press the price programming button again.
1.2 Programming the coin meter
To reach the micro switches, the coin meter must be demounted from the coin box.
Demount the rear cover on the coin box.
Demount the coin meter by removing the nuts from the back of the coin box and removing the coin meter from the front of the coin meter.

The microswitches (C) are located on the left side of the coin meter.

Program the coin meter by setting the microswitches according to the following table.
Note!
Set the microswitches to the currencies that ARE to be used in the lower position (D).
The microswitches to the currencies that are NOT to be used shall be set to ON (upper position = E).
| Coin meter | Currency | Individual coins | The whole currency |
| Microswith position | Microswith position | ||
|
438894201 | 0,10 EUR | 2 | 11 |
| 0,20 EUR | 3 | 11 | |
| 0,50 EUR | 5 | 11 | |
| 1 EUR | 7 | 11 | |
| 2 EUR | 10 | 11 | |
| 1GBP 2017 | 7 | 12 | |
| 0,1GBP | 2 | 13 | |
| 0,2GBP | 3 | 12 | |
| 0,5GBP | 5 | 12 | |
| 1GBP | 7 | 14 | |
| 2GBP | 10 | 12 | |
| 0,1GBP 2010 | 2 | 12 | |
| Token WA 4 | 15 | ||
| TK16 | 16 | ||
|
438894202 | 50 JPY | 2 | 14 |
| 100JPY | 4 | 14 | |
| 500 JPY new | 6 | 14 | |
| Token WA 4 | 15 | ||
| TK16 | 16 | ||
| 1,00 AUD | 7 | 13 | |
| 2,00 AUD | 9 | 13 | |
| 0,50 NZD | 10 | 13 | |
| 1,00 NZD | 11 | 13 | |
| 2,00 NZD | 12 | 13 | |
|
438894203 | 2 THE | 2 | 10 |
| 2 THB new | 4 | 10 | |
| 5 THE | 6 | 10 | |
| 10 THE | 9 | 10 | |
| 0,10 MYR | 2 | 11 | |
| 0,20 MYR | 4 | 11 | |
| 0,50 MYR | 6 | 11 | |
| 0,10 MYR new | 2 | 12 | |
| 0,20 MYR new | 4 | 12 | |
| 0,50 MYR new | 6 | 12 | |
| 0,5 SGD | 2 | 13 | |
| 1 SGD | 4 | 13 | |
| 0,5 SGD new | 2 | 14 | |
| 1 SGD new | 4 | 14 | |
| Token WA 4 | 15 | ||
| TK16 | 16 | ||
|
438894204 | 0,10 EUR | 2 | 13 |
| 0,20 EUR | 3 | 13 | |
| 0,50 EUR | 5 | 13 | |
| 1 EUR | 7 | 13 | |
| 2 EUR | 10 | 13 | |
| 0,5CHF | 2 | 14 | |
| 1CHF | 4 | 14 | |
| 2CHF | 6 | 14 | |
| Token WA 4 | 15 | ||
| TK16 | 16 |
|
438894205 | 0,50 EUR | 2 | 10 |
| 1,00 EUR | 4 | 10 | |
| 2,00 EUR | 6 | 10 | |
| 5,00 SEK 2016 | 2 | 11 | |
| 10,00 SEK | 4 | 11 | |
| 5,00 DKK | 2 | 12 | |
| 10,00 DKK | 4 | 12 | |
| 5,00 NOK | 2 | 13 | |
| 10,00 NOK | 4 | 13 | |
| 50,00 ISK | 2 | 14 | |
| 100,00 ISK | 4 | 14 | |
| Token WA 4 | 15 | ||
| TK16 | 16 | ||
|
438894206 | 1 PLN | 1 | 7 |
| 2 PLN | 3 | 7 | |
| 5 PLN | 5 | 7 | |
| 1 HRK | 1 | 10 | |
| 2 HRK | 3 | 10 | |
| 5 HRK | 5 | 10 | |
| 100 HUF | 1 | 11 | |
| 200 HUF | 3 | 11 | |
| 0,2 EUR | 1 | 12 | |
| 0,5 EUR | 3 | 12 | |
| 1 EUR | 5 | 12 | |
| 2 EUR | 7 | 12 | |
| Token WA 4 | 15 | ||
| TK16 | 16 | ||
|
438894207 | 10CZK | 2 | 7 |
| 20CZK | 4 | 7 | |
| 50CZK | 6 | 7 | |
| Token WA 4 | 15 | ||
| TK16 | 16 |
Electrolux Professional AB
341 80 Ljungby, Sweden
www.electroluxprofessional.com













