EG-24S Workline Griddle Electric Countertop

Electric Griddle
The APW Wyott EG Series Electric Griddle is available in three different models: EG-24S, EG-36S, and EG-48S. This electric griddle is suitable for use in commercial kitchens and is designed for installation on a countertop. The following instructions are included in the user manual:
General Information and Installation
- Inspect the unit upon arrival and ensure that the model number, serial number, voltage, and purchase date are recorded.
- Ensure that the unit is properly installed and that it has the minimum clearance on the sides and back as specified on the nameplate.
- Before using the unit for the first time, clean it properly using the cleaning procedure document provided.
Daily Operation
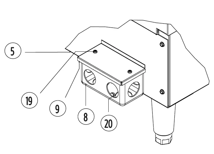
- Plug the unit into a standard outlet that is specified for its voltage and amp draw. Do not modify or replace the power cord or plug as this will void the warranty.
- Set the temperature using the thermostat control knob.
- Place the food on the griddle and cook until done. Use a spatula to flip the food as needed.
- Monitor the temperature of the griddle to ensure that it remains at the desired temperature.
Cleaning
- Allow the unit to cool down before cleaning.
- Use a scraper or spatula to remove any excess food or grease from the griddle surface.
- Clean the griddle surface using a non-abrasive cleaner and a damp cloth. Do not use steel wool or other abrasive cleaners as they may damage the surface.
- Wipe down the unit using a damp cloth and dry thoroughly before using it again.
For any questions regarding installation, use, or maintenance, please contact your Star dealer or the APW Manufacturing service department. The warranty for this product is in lieu of any other warranties, expressed or implied.
This manual includes material related to installation, use , cleaning, and care. Exploded view[s], as well as any available parts list[s] and wiring diagram[s] pertaining to the unit[s] covered by this manual are also included.
This manual must be read and understood by all persons using or installing this appliance. Contact your Star dealer if you have any questions concerning installation, use, or maintenance of this equipment.
DO NOT DISCARD THIS MANUAL.
LIMITED EQUIPMENT WARRANTY
APW warrants to the original purchaser of new APW’s products to be free from defects in material or workmanship, under normal and proper use and maintenance service as specified by APW and upon proper installation and start-up in accordance with the instructions supplied with each APW unit. APWs’ obligation under this warranty is limited to a period of one [1] year from the date of original installation, or eighteen [18] months from original invoice date, whichever occurs first. Defects that occur as a result of normal use, within the time period and limitations defined in this warranty, will at APWs’ discretion have the parts replaced or repaired by APW or a APWs-authorized service agency.
THIS WARRANTY IS SUBJECT TO ALL LISTED CONDITIONS
Repairs performed under this warranty are to be performed by an APW authorized service agency. APW will not be responsible for charges incurred or service performed by non-authorized repair agencies. In all cases, the nearest APW-authorized service agency must be used. APW will be responsible for normal labor charges incurred in the repair or replacement of a warrantied product within 50 miles (80.5 km) of an authorized service agency. Time and expense charges for anything beyond that distance will be the responsibility of the owner. All labor will need to be performed during regular service hours. Any overtime premium will be charged to the owner. For all shipments outside the U.S.A. and Canada, please see the International Warranty for specific details. It is the responsibility of the owner to inspect and report any shipping damage claims, hidden or otherwise, promptly following delivery. No mileage or travel charges will be honored on any equipment that is deemed portable. In general, equipment with a cord and plug weighing less than 50 lb. (22.7 kg) is considered portable and should be taken or shipped to the closest authorized service agency, transportation prepaid.
CONTACT
Should you require any assistance regarding the operation or maintenance of any APW Manufacturing; phone or email our service department. In all correspondence provide the model number and serial number of the unit needing service; include the voltage or gas type.
Normal Business Hours: 8:00 a.m. to 4:30 p.m. Central
Telephone: 800-264-7827 Tech Service Option 2
Email: [email protected]
www.apwwyott.com
WARRANTY EXCLUSIONS
THE FOLLOWING WILL NOT BE COVERED UNDER WARRANTY. APWs’ sole obligation under this warranty is limited to either repair or replacement parts, subject to the additional limitations detailed below. This warranty neither assumes nor authorizes any person to assume obligations other than those expressly covered by this warranty.
- Any product which has not been used, maintained, or installed in accordance with the directions published in the appropriate installation sheet and/or owner’s manual, including incorrect gas or electrical connection. APW is not liable for any unit which has been mishandled, abused, misapplied, subjected to harsh chemicals, modified by unauthorized personnel, damaged by flood, fire, or other acts of nature [or God], or which have an altered or missing serial number.
- • Installation, labor, and job checkouts, calibration of heat controls, air and gas burner/bypass/pilot adjustments, gas or electrical system checks, voltage and phase conversions, cleaning of equipment, or seasoning of griddle surface.
- Replacement of fuses or resetting of circuit breakers, safety controls, or reset buttons.
- Replacement of broken or damaged glass components, quartz heating elements, and light bulbs.
- Labor charges for all removable and consumable parts in gas char broilers and hotplates, including but not limited to burners, grates, and radiant.
- Any labor charges incurred by delays, waiting time, or operating restrictions that hinder a service technician’s ability to perform service.
- Replacement of parts that fail or are damaged due to normal wear or labor for replacement of parts that can be replaced during a daily cleaning routine, such as but not limited to silicone belts, PTFE non-stick sheets, control labels, knobs, bulbs, fuses, quartz heating elements, baskets, racks, and grease drawers.
- Any economic loss of business or profits.
- Non-OEM parts. Use of non-OEM parts without APWs’ approval will void the warranty.
- Units exceeding one [1] year from original installation date, or more than eighteen [18] months from original invoice date, whichever comes first.
ADDITIONAL WARRANTIES
- Specific/chain-specific equipment may have additional and/or extended warranties.
The foregoing warranty is in lieu of any and all other warranties expressed or implied and constitutes the entire warranty.
SAFETY SYMBOLS
These symbols are intended to alert the user to the presence of important operating and maintenance instructions in the manual accompanying the appliance.

THOROUGHLY INSPECT YOUR UNIT ON ARRIVAL
This unit has been tested for proper operation before leaving our plant to ensure delivery of your unit in perfect condition. However, there are instances in which the unit may be damaged in transit. In the event you discover any type of damage to your product upon receipt, you must immediately contact the transportation company who delivered the item to you and initiate your claim with that company. If this procedure is not followed, it may affect the warranty status of the unit. If damage or loss is not apparent until after equipment is unpacked, a request for inspection of concealed damage must be made with carrier within 15 days. Please record the model number, serial number, voltage, and purchase date in the area below at the time of receipt.
Model Number _______________________
Serial Number _______________________
Voltage _______________________
Purchase Date _______________________
MAINTENANCE AND REPAIRS
Contact your local authorized service agent for service or required maintenance. Please have the information in the above fields ready when you call to ensure a faster service.
Using any part other than genuine APW Wyott factory supplied parts relieves the manufacturer of all liability. Due to periodic changes in designs, methods, procedures, policies, and regulations, the specifi cations contained in this document are subject to change without notice. APW Wyott reserves the right to change product specifi cations and design without notice. Such revisions do not entitle the buyer to corresponding changes, improvements, additions or replacements for previously purchased equipment. While APW Wyott exercises good faith efforts to provide information that is accurate, we are not responsible for errors or omissions in information provided or conclusions reached as a result of using the specifi cations. By using the information provided, the user assumes all risks in connection with such use.
PLEASE REFER TO THE WARRANTY PAGE FOR SPECIFIC WARRANTY INFORMATION.
AUTHORIZED SERVICE AGENT LISTING
Reference the listing provided with the unit or for an updated listing go to the website or call customer service to find an agent.
Business hours: 8:00 a.m. to 4:30 p.m. Central Standard Time
Telephone: (800) 527-2100 ext 3
Email: [email protected]
Website: www.apwwyott.com
GENERAL SAFETY INFORMATION
This equipment is designed and sold for commercial use only, and is intended for use by personnel trained and experienced in its operation. This is not sold for consumer use in and around the home nor for use directly by the general public in food service locations.
Before using your new equipment, read and understand all the instructions and labels associated with the unit prior to putting it into operation. Make sure all people associated with its use understand the units operation and safety before they use the unit.
GENERAL INSTALLATION INFORMATION
The unit is shipped fully assembled and ready to plug into a standard outlet specified for its voltage and amp draw. If improper electrical supply can be determined through troubleshooting, contact a qualified electrician prior to using the unit. Removal or replacement of the power cord or plug will void the warranty. Should you require assistance, contact your local authorized service agent for any service or required maintenance.
Set the unit so that the rear is 0.25 inches (6 mm) higher than the front using the adjustable feet. Make certain the griddle has at least the minimum clearance on the sides and back as called out on the nameplate of the unit.
Before using the unit for the first time, ensure to clean the unit properly. Refer to the Cleaning Procedure document for cleaning instructions.
ELECTRICAL CONNECTION
For your protection we recommend that a qualified electrician work on connecting this griddle. He should be familiar with electrical installations and all electric codes. Proper connections and power supply are essential for efficient performance. The external wiring should be in conduit or an approved type of flexible cable suitable for operation at the temperature indicated on the wiring diagram for your unit, and of a proper size to carry the load. The supply circuit should be properly fused and equipped with a means of disconnecting, as required by local electrical code.
The body of the griddle should be grounded.
Before making any electrical connection to this unit, check that the power supply is adequate for the voltage, amperage, and requirements stated on the nameplate. This unit will be shipped ready to hard wire. Make certain to disconnect the unit from the power source before installing or removing any parts. Be absolutely sure that the ground connection for the receptacle is properly wired. Do not connect equipment to power without proper ground connections. Improper grounding may result in personal injury or fatality.
WIRING
Models may be wired for operation in the field for either 1-phase or 3-phase power supplies by making line connections at the junction box located at the rear of the unit as described on the phase diagram. EG-36S and EG-48S models are recommended to be wired for 3-phase operation. EG-48S models are supplied with two junction boxes and can be wire to two (2) 8 kW lines or a single 16 kW line.
CONNECT/PLUG UNIT INTO DEDICATED AC LINE WITH APPROPRIATE AMPERAGE/VOLTAGE AS SPECIFIED ON THE NAMEPLATE OF THE UNIT.
DO NOT IMMERSE OR LET THE UNIT STAND IN WATER.
DO NOT HOSE DOWN THE UNIT OR THE TABLE/COUNTER IF THE UNIT IS ON THE TABLE/COUNTER.
KEEP AWAY FROM RUNNING WATER.
PHASE DIAGRAM
POWER MUST BE REMOVED FROM THE UNIT BEFORE ATTEMPTING REPAIR OR SERVICE. MAKE CERTAIN TO CHECK ALL CONNECTIONS THOROUGHLY BEFORE RESTORING POWER TO THE UNIT. THE INFORMATION BELOW IS REFERENCED FROM DIAGRAM 2M-Z21072.

DAILY OPERATION
GRIDDLE CARE
It takes very little time and effort to keep the griddle attractive and performing at top efficiency. If grease is permitted to accumulate, it forms a viscous residue and then carbonizes, making it extremely difficult to remove. To prevent this condition, the following suggestions for cleanliness should be followed.
- i. After each use, scrape the griddle with a scraper or flexible spatula to remove excess grease and food and maneuver it into the grease chute. If there is an accumulation of burned on grease and/or food, the griddle should be thoroughly scoured and reasoned. Use pumice or griddle stone while the griddle is warm. Do not use steel wool because of the danger of steel slivers getting into the food
- ii. Daily use a clean cloth and a good non-abrasive cleaner to clean the stainless steel body of the griddle is recommended. Wipe the polished front with a soft cloth so not to scratch the finish.
- iii. At least once a day, remove the grease drawer and wash it using the same process as an ordinary cooking utensil. The drawer is removed by pulling forward until it is released from its track.
SEASONING THE GRIDDLE HEATING SURFACE
Clean the griddle surface thoroughly. After the griddle has been thoroughly cleaned, it should be seasoned to prevent food from sticking. Before using and after each thorough scouring, season the griddle heating surface in the following manner.
- Turn the temperature control dials to 350°F (177°C).
- Using a clean cloth, not a spatula, spread a thin film of cooking oil over the griddle cooking surface. This film should remain on the hot griddle surface for half an hour.
- Remove the excess oil and wipe clean.
- Apply another film of cooking oil over the hot cooking area for another half hour and again remove excess oil and wipe clean. The griddle surface should now be ready for use
TEMPERATURE CONTROL
The temperature controls are combination “ON/OFF” switches and thermostats. Turning the dial knob automatically maintains the selected heat range. There is one thermostat for every twelve [12] inch (305 mm) wide section that operate independently.
COOKING
Set the thermostat dial knob at the desired temperature. After a short pre-heating period, the thermostat will automatically maintain the selected temperature.
IDLING
During idle periods, to save on operating costs, lower the temperature setting of the thermostat to about 250°F (121°C). It is not necessary to maintain cooking temperature during idle periods, as the griddle can quickly be reheated to the desired temperature.
SIGNAL LIGHTS
Each thermostat has its own signal light which indicates when the unit’s control knob is not in the off position.
GREASE PAN
The grease pan on the front is hot and contains hot grease. Take care when removing and emptying the tray. The tray should be checked and emptied on a regular basis.
SPECIFICATIONS
EG-24S shown

| Model No. | (A) Width Inches (cm) | (B) Depth Inches (cm) | (C) Height Inches (cm) | (D) Leg Width Inches (cm) | Plate Depth Inches (mm) | Installed Weight lbs. (kg) | Shipping Weight lbs. (kg) |
| EG-24S | 24 (61.0) | 28-1/2 (72.1) | 15-1/2 (39.4) | 19 (48.3) | 20.5 (128.3 cm) | 165 (74.8) | 175 (79.4) |
| EG-36S | 36 (91.4) | 28-1/2 (72.1) | 15-1/2 (39.4) | 32-3/4 (83.2) | 20.5 (128.3 cm) | 247 (112.0) | 262 (118.9) |
| EG-48S | 48 (121.9) | 28-1/2 (72.1) | 15-1/2 (39.4) | 44-3/4 (113.7) | 20.5 (128.3 cm) | 330 (149.7) | 350 (158.9) |
| NOMINAL AMPS PER LINE WIRE | ||||||||||
| MODEL | 208V | 240V | 208V 3PH | 240V 3PH | 208V | 240V | ||||
| X | Y | Z | X | Y | Z | 1 PH | 1 PH | |||
| EG-24S | 6,008 | 8,000 | 14.4 | 25 | 14.4 | 16.7 | 28.9 | 16.7 | 28.9 | 33.3 |
| EG-36S | 9,012 | 12,000 | 25 | 25 | 25 | 28.9 | 28.9 | 28.9 | 43.3 | 50.0 |
| EG-48S | 12,016 | 16,000 | 38.2 | 25 | 38.2 | 44.2 | 28.9 | 44.2 | 57.8 | 66.7 |
| 3 PHASE LOADING KW PER PHASE | ||||||||
| MODEL | 208V | 240V | 208V 50/60 HZ | 240V 50/60 HZ | ||||
| X-Y | Y-Z | X-Z | X-Y | Y-Z | X-Z | |||
| EG-24S | 6,008 | 8,000 | 3 | 3 | – | 4 | 4 | – |
| EG-36S | 9,012 | 12,000 | 3 | 3 | 3 | 4 | 4 | 4 |
| EG-48S | 12,016 | 16,000 | 3 | 3 | 6 | 4 | 4 | 8 |
FRONT-PANEL AND CONTROLS RIGHT SIDE-PANELS
EG-36S shown
LEFT SIDE-PANELS
EG-36S shown 
BOTTOM
EG-36S shown 
HEATING ELEMENT 
HARDWARE
EG-36S shown 
REAR-ELECTRICAL BOX
EG-36S shown 
POWER JUNCTION BOX 
PARTS LIST
NOTE: Side references are from the operator’s point-of-view – from the front of the unit. Items labeled “NS” are non-serviceable. Items labeled “NP” are not pictured.
| P/N | MODEL | PART NUMBER | QTY | DESCRIPTION | PAGE NO |
| 1 | ALL | G3-Z6036 | 2 | DRAWER SLIDE | 7 |
| 2 | ALL | G3-624304 | 1 | GREASE CHUTE | 7 |
| 3 | ALL | G3-Y7046 | 1 | GREASE DRAWER | 7 |
| 4 | EG-24S | G3-GD0036 | 2 | PROBE TUBE ASSEMBLY | 7 |
| EG-36S | 3 | ||||
| EG-48S | 4 | ||||
| 5 | EG-24S | G3-Z5952 | 1 | PANEL, REAR 24 INCH | 7 |
| EG-36S | G3-Z5954 | 1 | PANEL, REAR 36 INCH | ||
| EG-48S | G3-Z5956 | 1 | PANEL, REAR 48 INCH | ||
| 6 | EG-24S | 2J-Y6690 | 2 | INDICATOR LIGHT, RED | 6 |
| EG-36S | 3 | ||||
| EG-48S | 4 | ||||
| 7 | EG-24S | 2T-Z5958 | 2 | THERMOSTAT | 6 |
| EG-36S | 3 | ||||
| EG-48S | 4 | ||||
| 8 | EG-24S | 2E-Y7327 | 1 | HANDY BOX | 7 |
| EG-36S | 1 | ||||
| EG-48S | 2 | ||||
| 9 | EG-24S | G3-Y7788 | 1 | COVER, HANDY BOX | 7 |
| EG-36S | 1 | ||||
| EG-48S | 2 | ||||
| 10 | EG-24S | 2N-Z5948 | 2 | HEATING ELEMENT | 7 |
| EG-36S | 3 | ||||
| EG-48S | 4 | ||||
| 11 | EG-24S | G3-Z5972 | 6 | ELEMENT CLAMP, LONG | 7 |
| EG-36S | |||||
| EG-48S | 12 | ||||
| 12 | EG-24S | G3-Z5973 | 4 | ELEMENT CLAMP, SHORT | 7 |
| EG-36S | 6 | ||||
| EG-48S | 8 | ||||
| 13 | EG-24S | G3-Z5994 | 1 | PANEL, BOTTOM 24 INCH | 7 |
| EG-36S | G3-Z5995 | PANEL, BOTTOM 36 INCH | |||
| EG-48S | G3-Z5996 | PANEL, BOTTOM 48 INCH | |||
| 14 | EG-24S | G3-Z5998 | 1 | PANEL, FRONT BOTTOM 24 INCH | 6 |
| EG-36S | G3-Z5999 | PANEL, FRONT BOTTOM 36 INCH | |||
| EG-48S | G3-Z6001 | PANEL, FRONT BOTTOM 48 INCH | |||
| 15 | EG-24S | 2K-Z6183 | 3 | BUSHING | 6 |
| EG-36S | 3 | ||||
| EG-48S | 6 |
IMPORTANT: WHEN ORDERING, SPECIFY VOLTAGE OR TYPE GAS DESIRED INCLUDE MODEL AND SERIAL NUMBER
| P/N | MODEL | PART NUMBER | QTY | DESCRIPTION | PAGE NO |
| 16 | EG-24S | 2E-Z5970 | 1 | WIRING SET, 24 INCH | NP |
| EG-36S | 2E-Z5971 | 1 | WIRING SET, 36 INCH | ||
| EG-48S | 2E-Z5970 | 2 | WIRING SET, 48 INCH | ||
| 17 | EG-24S | 2C-6517 | 18 | 1/4-20 FLANGED HEX NUT | 7 |
| EG-36S | 27 | ||||
| EG-48S | 34 | ||||
| 18 | ALL | 2C-Z2893 | 4 | #10-24 NUT | 7 |
| 19 | EG-24S | 2C-1488 | 2 | #6-32 X 0.375 INCH MACHINE SCREW | 7 |
| EG-36S | 2 | ||||
| EG-48S | 4 | ||||
| 20 | EG-24S | 2C-1512 | 2 | #10-24 X 0.375 INCH MACHINE SCREW | 7 |
| EG-36S | 2 | ||||
| EG-48S | 4 | ||||
| 21 | EG-24S | 2R-Z13016 | 2 | KNOB, T-STAT ELEC. | 6 |
| EG-36S | 2 | ||||
| EG-48S | 4 | ||||
| 22 | EG-24S | RM-Z15451 | 2 | LABEL, APW Wyott ELECTRIC KNOB | 6 |
| EG-36S | 3 | ||||
| EG-48S | 4 | ||||
| 23 | EG-24S | G3-Z15708 | 1 | PANEL, FRONT 24 INCH | 6 |
| EG-36S | G3-Z15709 | PANEL, FRONT 36 INCH | |||
| EG-48S | G3-Z15796 | PANEL, FRONT 48 INCH | |||
| 24 | ALL | 2A-Z5942 | 4 | 4 INCH LEG | 7 |
| 25 | EG-24S | G3-Z5915 | 1 | CENTER WALL ASSEMBLY, 24 INCH | 6-NS |
| EG-36S | G3-Z5925 | CENTER WALL ASSEMBLY, 36 INCH | |||
| EG-48S | G3-Z5935 | CENTER WALL ASSEMBLY, 48 INCH | |||
| 26 | ALL | G3-624302 | 1 | LINER ASSEMBLY, LEFT | 6 |
| 27 | ALL | G3-624303 | 1 | LINER ASSEMBLY, RIGHT | 6 |
| 28 | EG-24S | G4-TC0098 | 1 | TOP WELDMENT, 24 INCH ELECTRIC | 6 |
| EG-36S | G4-TC0104 | TOP WELDMENT, 36 INCH ELECTRIC | |||
| EG-48S | G4-TC0107 | TOP WELDMENT, 48 INCH ELECTRIC | |||
| 29 | ALL | 2M-8830100 | 1 | APW WYOTT BADGE | 6 |
| 30 | ALL | G3-Z5945 | 2 | PANEL, SIDE | 6 |
| 31 | EG-24S | G3-Z5947 | 2 | COVER, ELECTRIC | NP |
| EG-36S | 3 | ||||
| EG-48S | 4 | ||||
| 32 | EG-24S | 2C-8833 | 43 | #8-18 X 0.5 INCH SCREW | NP |
| EG-36S | 51 | ||||
| EG-48S | 56 | ||||
| 33 | ALL | 2C-Z6035 | 2 | 1/2-13 X 3 INCH BOLT | NP |
IMPORTANT: WHEN ORDERING, SPECIFY VOLTAGE OR TYPE GAS DESIRED INCLUDE MODEL AND SERIAL NUMBER
APW Wyott • www.apwwyott.com 265 Hobson St. • Smithville, TN 37166
Telephone: (800) 527-2100
Printed in the U.S.A. • 2M-Z23810 • Rev A (12-21) Specifications are subject to change without notice.
APW Wyott is a registered trademark of APW Wyott®, A Middleby Company. All rights reserved.




















