
Refrigerator
User Manual
![]()
470550MB-470465MB
58 5575 0000/AE -TR-EN
INFORMATION
http://ModeldescriptioninEUregistrationdatabase.com

.The model information is stored in the product database can be reached by entering the following website and searching for your model identifier (*) found on the energy label. https://eprel.ec.europa.eu/
Safety and environment instructions
This section provides the safety instructions necessary to prevent the risk of injury and material damage. Failure to observe these instructions will invalidate all types of product warranty.
Intended use
Intended use
WARNING:
Keep ventilation openings, in the appliance enclosure or in the built-in structure, clear of obstruction.
WARNING:
Do not use mechanical devices or other means to accelerate the defrosting process, other than those recommended by the manufacturer.
WARNING:
Do not damage the refrigerant circuit.
WARNING:
Do not use electrical appliances inside the food A storage compartments of the appliance, unless they are of the type recommended by the manufacturer.
This appliance is intended to be used in household and similar applications such as
– staff kitchen areas in shops, offices, and other working environments;
– farmhouses and by clients in hotels, motels, and other residential type environments;
– bed and breakfast type environments;
– catering and similar non-retail applications.
1.1. General safety
- This product should not be used by persons with physical, sensory, and mental disabilities, without sufficient knowledge and experience, or by children. The device can only be used by such persons under the supervision and instruction of a person responsible for their safety. Children should not be allowed to play with this device.
- In case of malfunction, unplug the device.
- After unplugging, wait at least 5 minutes before plugging in again.
- Unplug the product when not in use.
- Do not touch the plug with wet hands!
Do not pull the cable to plug off, always hold the plug. - Do not plug in the refrigerator if the socket is loose.
- Unplug the product during installation, maintenance, cleaning, and repair.
- If the product will not be used for a while, unplug the product and remove any food inside.
- Do not use the product when the compartment with circuit cards located on the upper back part of the product (electrical card box cover) (1) is open.

Safety and environmental instructions
- Do not use steam or steamed cleaning materials for cleaning the refrigerator and melting the ice inside. Steam may contact the electrified areas and cause a short circuit or electric shock!
- Do not wash the product by spraying or pouring water on it! The danger of electric shock!
- In case of malfunction, do not use the product, as it may cause electric shock. Contact the authorized service before doing anything.
- Plug the product into an earthed socket. Earthing must be done by a qualified electrician.
- If the product has LED-type lighting, contact the authorized service for replacement or in case of any problem.
- Do not touch frozen food with wet hands! It may adhere to your hands!
- Do not place liquids in bottles and cans in the freezer compartment.
- They may explode.
- Place liquids in an upright position after tightly closing the lid.
- Do not spray flammable substances near the product, as it may burn or explode.
- Do not keep flammable materials and products with flammable gas (sprays, etc.) in the refrigerator.
- Do not place containers holding liquids on top of the product.
- Splashing water on an electrified part may cause electric shock and the risk of fire.
- Exposing the product to rain, snow, sunlight, and wind will cause electrical danger. When relocating the product, do not pull by holding the door handle. The handle may come off.
- Take care to avoid trapping any part of your hands or body in any of the moving parts inside the product.
- Do not step or lean on the door, drawers, and similar parts of the refrigerator. This will cause the product to fall down and cause damage to the parts.
- Take care not to trap the power cable.

1.1.1 HC warning
If the product comprises a cooling system using R600a gas, take care to avoid damaging the cooling system and its pipe while using and moving the product. This gas is flammable. If the cooling system is damaged, keep the product away from sources of fire and ventilate the room immediately.
The label on the inner left side indicates the type of gas used in the product.
1.1.2 For models with water dispensers
- Pressure for cold water inlet shall be maximum 90 psi (6.2 bar). If your water pressure exceeds 80 psi (5.5 bar), use a pressure limiting valve in your mains system. If you do not know how to check your water pressure, ask for the help of a professional plumber.
- If there is risk of water hammer effect in your installation, always use a water hammer prevention equipment in your installation.
Consult Professional plumbers if you are not sure that there is no water hammer effect in your installation. - Do not install on the hot water inlet. Take precautions against of the risk of freezing of the hoses. Water temperature operating interval shall be 33°F (0.6°C) minimum and 100°F (38°C) maximum. Use drinking water only.
1.2. Intended use
- This product is designed for home use. It is not intended for commercial use.
- The product should be used to store food and beverages only.
- Do not keep sensitive products requiring controlled temperatures (vaccines, heat sensitive medication, medical supplies, etc.) in the refrigerator.
- The manufacturer assumes no responsibility for any damage due to misuse or mishandling.
- Original spare parts will be provided for 10 years, following the product purchasing date.
1.3. Child safety
- Keep packaging materials out of children’s reach.
- Do not allow the children to play with the product.
- If the product’s door comprises a lock, keep the key out of children’s reach.
1.4. Compliance with WEEE Directive and Disposing of the Waste Product
This product complies with EU WEEE
Directive (2012/19/EU). This product bears a classification symbol for waste electrical and electronic equipment (WEEE).
This product has been manufactured with high quality parts and materials which can be reused and are suitable for recycling. Do not dispose of the waste product with normal domestic and other wastes at the end of its service life. Take it to the collection center for the recycling of electrical and electronic equipment. Please consult your local authorities to learn about these collection centers.
1.5. Compliance with RoHS Directive
This product complies with EU WEEE Directive (2011/65/EU). It does not contain harmful and prohibited materials specified in the Directive.
1.6. Package information
Packaging materials of the product are manufactured from recyclable materials in accordance with our National Environment Regulations.
Do not dispose of the packaging materials together with the domestic or other wastes. Take them to the packaging material collection points designated by the local authorities.
Your Refrigerator

| 1. Door shelf 2. Adjustable feet 3. Crisper 4. Crisper cover 5. Lock and key * 6. Refrigerator compartment glass shelf | 7. Temperature adjustment knob 8. Fan 9. Freezer compartment shelf 10. Ice tray 11. Freezer compartment 12. Fridge compartment |
![]()
*Optional: Figures that take place in this user manual are samples and may not correspond exactly with your product. If the subject parts are not included in the product you have purchased, then the figure is valid for other models.
Installation
3.1. Right place for installation
Call the Authorized Service Provider for installation of the product. To make the product ready for use, be careful that the electrical wiring and plumbing are appropriate by referring to the information in the user manual. If not, call a qualified electrician and plumber and have the necessary arrangements made.
WARNING: The manufacturer is not liable for damages caused by operations by unauthorized persons.
WARNING: During the installation, the power plug of the product should not be plugged in. Otherwise, there is a danger of death or serious injury!
WARNING: : If the doorway of the room to where the product will be placed is so narrow that the product cannot pass through, pass the product by turning it to side; otherwise, call an authorized service.
- To avoid shaking, place the product on a flat surface.
- Install the product at least 30 cm away from heat sources such as cooker, radiators, stove and at least 5 cm away from electrical oven.
- Do not expose the product to direct sunlight and do not store it in humid place.
- Your product requires adequate air circulation to function efficiently. If the product will be placed in an alcove, remember to leave at least 5 cm clearance between the product and the ceiling, rear wall and the side walls.
- If the product will be placed in an alcove, remember to leave at least 5 cm clearance between the product and the ceiling, rear wall and the side walls. Check if the rear wall clearance protection component is present at its location (if provided with the product). If the component is not available, or if it is lost or fallen, position the product so that at least 5 cm clearance shall be left between the rear surface of the product and the wall of the room. The clearance at the rear is important for efficient operation of the product.
- Do not install the product where the temperature drops below 10 °C.
- Attach 2 plastic wedges as illustrated below.
Plastic wedges are intended to keep the distance which will ensure the air circulation between your refrigerator and the wall. (The picture is drawn up as a representation and it is not identical with your product.)
- Condenser of your refrigerator is on the rear side. In order to increase the energy efficiency by minimizing the power consumption, the upper part of the condenser on the rear side of the product must be pulled backwards nd locked as shown in the figure. When the condenser is pulled back, the right and left upper holders are locked and the position of the condenser is fixed.

3.2. Adjusting the feet
If the product is unstable on the place where it is placed, adjust it by turning the front adjustment feet to the right or left.

3.3. Electrical connection
WARNING: Do not make connections to the extension cords or multiple sockets.
WARNING: Damaged power cable must be replaced by an Authorized Service.
If two refrigerators are placed side by side, there should be at least 4 cm space between them.
- Our company will not be liable for any damages that occur when the product is used without grounding and electrical connections that are according to national regulations.
- The power cord plug must be easily accessible after installation.
- Do not use multi-group socket with or without extension cable in between your refrigerator and the wall outlet.
3.4. Changing door opening direction
Based on where you use, your refrigerator’s door opening direction can be changed. When you need this, please contact your nearest Authorized Service Point.
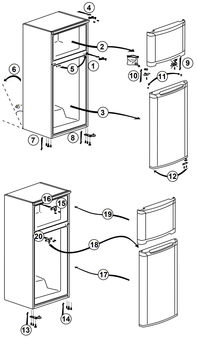
3.5. Reversing the doors
Proceed in numerical order.

3.6. Reversing the doors
Proceed in numerical order.
Preparation
4.1. Actions to be taken to save energy
Connecting the product to electronic energy-saving system is inconvenient as this may damage the product.
- for a freestanding appliance; ‘this refrigerating appliance is not intended to be used as a built-in appliance’ ;
- Do not leave the doors of the product open for a long time.
- Do not put hot food or drinks in the product.
- Do not overfill the product. When the inlet air circulation is reduced, its cooling capacity is prevented.
- Put your food in the product in closed containers.
- You can store maximum amount of food items in the freezer compartment of the product when you remove the shelf of the freezer. Energy consumption value stated for the product has been determined by removing freezer shelf and under maximum food load. There is no harm to use a shelf according to the shapes and size of food to be frozen.
- Defrosting the frozen food in fridge compartment will both provide energy saving and preserve the food quality.
- This device is designed to operate at ambient temperatures up to 43°C (90 °F). It is equipped with Advanced Electronic Temperature Control System allowing to keep the frozen food in the freezer defrost even the ambient temperature reduces to -15 °C. When first installed the product MUST NOT be placed in low ambient temperatures.
- The baskets/drawers that are provided with the chill compartment must always be in use for low energy consumption and for better storage conditions.
- Food contact with the temperature sensor in the freezer compartment may increase energy consumption of the appliance. Thus any contact with the sensor(s) must be avoided.
- Do not contact the foods to the fridge compartment temperature sensor indicated in the figure below.

4.2. First use
Before you start using your refrigerator, make sure that preparations are made according to the instructions in the “Safety and environmental instructions” and “Installation” sections.
• Run the product empty without putting food for 6 hours and do not open the door unless necessary. compressor starts. The liquids and gases compressed within the cooling system may produce sound even if the compressor is not running and that sound is normal.
The front edges of the product may be hot.
This is normal. These areas are designed to be heated to prevent condensation.
Use of the Product
5.1. Temperature adjustment knob
The internal temperature of your refrigerator will vary due to the following reasons:
- Seasonal temperatures,
- Frequently opening the door and the door remaining open for a long time,
- Dishes put hot in your refrigerator before cooling down to room temperature,
- The location of the refrigerator in the room (such as exposure to the sun’s heat).
- You can adjustment knob shows the degree of temoeratrure as ”°C” varies due to these reasons by the adjustment knob.
The numbers around the adjustment knob shows the degree of temperature as “°C”.
If the ambient temperature is 25 °C, it is recommended to use the temperature adjustment knob of the refrigerator at 4 °C.
In other ambient temperatures, this value can be increased or decreased according to need.

5.2. Fast freezing
If you want to freeze large quantities of fresh food, put the temperature adjustment knob to (
) position 24 hours before putting the food in the fast freezing compartment.
In order to freeze maximum amount of fresh food specified as the freezing capacity, it is recommended to keep the knob in this position for at least 24 hours.
Pay particular attention to not mixing food sold as frozen and the fresh food.
Once the food is frozen, remember to bring the temperature adjustment knob to its previous position.

5.3. Holiday function
If the doors of the product is not opened for at least 12 hours after the temperature adjustment knob is put to the warmest (
) position,
Holiday function will be activated automatically.
To cancel the function, the adjustment of the knob must be changed.
When the holiday function is active, storing food in the fridge compartment is not recommended.

• After adjustment process is complete, you can hide the temperature adjustment knob by pushing it in.
5.4. Snow defrosting
During the cooling of your refrigerator, water droplets and snow up to 7-8 mm thickness are formed on the inside back wall of the fridge compartment. This formation is normal due to the cooling system.
The snow formed in the fridge compartment is defrosted at regular intervals by means of the automatic defrost system contained in the interior rear wall. Therefore, there is no need of scraping snow and cleaning water droplets by the user.
The water formed by defrosting flows to the evaporating dish on the rear of your refrigerator and spontaneously evaporates here.
The water flows to the evaporating dish via a drain pipe contained in the inner back wall.
Check whether the drain pipe is blocked at specific time intervals and if blocked, open.
![]()
To avoid deterioration of the frozen food in the freezer compartment, no defrosting is performed automatically.
The snow formed in the freezer compartment should be defrosted every 6 months.
For snow defrosting process, it is primarily necessary to stop the operation of your refrigerator. To do this, unplug the power plug.
Use of the Product
Empty the freezer compartment. Keep your frozen food in a cool place during the snow defrosting process.
The door of the freezer compartment should be kept closed during the defrosting process.
When the snow formed is completely defrosted, take the water collected in the freezer compartment with an absorbent cloth or sponge and dry.
To run your product re-connect the power plug.
WARNING: To speed up the defrosting in your refrigerator, never use materials such as candles, gas lamps and heaters.
Before putting your food back in the freezer compartment run for 2 hours with the doors closed and empty.
5.5. Door Open Warning
(This feature is optional)
An audio warning signal will be given when the door of your product is left open for at least 1 minute. This warning will be muted when the door is closed or any of the display buttons (if any) are pressed.
Door open warning is given to user both visually and acoustically. If the warning continues for 10 minutes, interior lights will be turned off.
5.6. Ice tray
- Remove the ice tray from the freezer compartment.
- Fill the ice tray with water.
- Place the ice tray in the freezer compartment. The ice is ready after about two hours.
- Remove the ice tray from the freezer compartment and slightly bend it over the ice cap in which you will serve the ice. The ice will be easily poured into the service cap.
5.7. Egg tray
You can put the egg tray on any door or body shelf you want. If to be placed in the body shelf, it is recommended to prefer the bottom cold shelves.
Never put the egg tray in the freezer compartment.
5.8. Fan
Fan is designed to ensure that the cold air in your refrigerator is dissolved and distributed homogeneously. Fan operation time may vary depending on the properties of your product. While in some products fan only works with the compressor, in some products, the control system determines the time when it will work according to the cooling requirements.

5.9. Crisper
Crisper of the product is specially designed to protect the vegetable as fresh without losing its moisture. For this purpose, cold air circulation throughout the crisper is concentrated.

Maintenance and cleaning
Service life of the product is increase if it is regularly cleaned
WARNING: First unplug the product before cleaning your refrigerator.
- Never use any sharp and abrasive tools, soap, household cleaners, detergent and wax polish for cleaning.
- Dissolve one teaspoon of carbonate in half liter of water. Soak a cloth with the solution and wrung it thoroughly. Wipe the interior of the appliance with this cloth and the dry thoroughly.
- Make sure that no water enters the lamp housing and other electrical items.
- Clean the door with a damp cloth. To remove door and body shelves, remove all of its contents. Remove door shelves by moving them upwards. After cleaning, slide them from top to bottom to install.
- Never use cleaning agents or water that contain chlorine to clean the outer surfaces and chromium coated parts of the product. Chlorine causes corrosion on such metal surfaces.
6.1. Avoiding bad odors
Materials that may cause odor are not used in the production of our appliances. However, due to inappropriate food preserving conditions and not cleaning the inner surface of the appliance as required can bring forth the problem of odor.
Therefore, clean the refrigerator with carbonate dissolved in water every 15 days.
- Keep the food in closed containers. Microorganisms spreading out from uncovered containers can cause unpleasant odors.
- Never keep the food that have expired best before dates and spoiled in the refrigerator.
6.2. Protecting the plastic surfaces
Clean with arm water immediately as the oil may cause damage on the surface when it is poured on plastic surfaces.
Troubleshooting
Check this list before contacting the service. Doing so will save you time and money. This list includes frequent complaints that are not related to faulty workmanship or materials. Certain features mentioned herein may not apply to your product.
The refrigerator is not working.
- The power plug is not fully settled. >>> Plug it in to settle completely into the socket.
- The fuse connected to the socket powering the product or the main fuse is blown. >>> Check the fuses.
Condensation on the side wall of the cooler compartment (MULTI ZONE, COOL, CONTROL and FLEXI ZONE).
- The door is opened too frequently >>> Take care not to open the product’s door too frequently.
- The environment is too humid. >>> Do not install the product in humid environments.
- Foods containing liquids are kept in unsealed holders. >>> Keep the foods containing liquids in sealed holders.
- The product’s door is left open. >>> Do not keep the product’s door open for long periods.
- The thermostat is set to too low temperature. >>> Set the thermostat to appropriate temperature.
Compressor is not working.
- In case of sudden power failure or pulling the power plug off and putting back on, the gas pressure in the product’s cooling system is not balanced, which triggers the compressor thermic safeguard. The product will restart after approximately 6 minutes. If the product does not restart after this period, contact the service.
- Defrosting is active. >>> This is normal for a fully-automatic defrosting product.
The defrosting is carried out periodically.
- The product is not plugged in. >>> Make sure the power cord is plugged in.
- The temperature setting is incorrect. >>> Select the appropriate temperature setting.
- The power is out. >>> The product will continue to operate normally once the power is restored.
The refrigerator’s operating noise is increasing while in use.
- The product’s operating performance may vary depending on the ambient temperature variations. This is normal and not a malfunction.
The refrigerator runs too often or for too long.
- The new product may be larger than the previous one. Larger products will run for longer periods.
- The room temperature may be high. >>> The product will normally run for long periods in higher room temperature.
- The product may have been recently plugged in or a new food item is placed inside. >>> The product will take longer to reach the set temperature when recently plugged in or a new food item is placed inside. This is normal.
- Large quantities of hot food may have been recently placed into the product. >>> Do not place hot food into the product.
- The doors were opened frequently or kept open for long periods. >>> The warm air moving inside will cause the product to run longer. Do not open the doors too frequently.
- The freezer or cooler door may be ajar. >>> Check that the doors are fully closed.
- The product may be set to temperature too low. >>> Set the temperature to a higher degree and wait for the product to reach the adjusted temperature.
- The cooler or freezer door washer may be dirty, worn out, broken or not properly settled. >>> Clean or replace the washer. Damaged / torn door washer will cause the product to run for longer periods to preserve the current temperature.
The freezer temperature is very low, but the cooler temperature is adequate. - The freezer compartment temperature is set to a very low degree. >>> Set the freezer compartment temperature to a higher degree and check again.
The cooler temperature is very low, but the freezer temperature is adequate. - The cooler compartment temperature is set to a very low degree. >>> Set the freezer compartment temperature to a higher degree and check again.
The food items kept in cooler compartment drawers are frozen. - The cooler compartment temperature is set to a very low degree. >>> Set the freezer compartment temperature to a higher degree and check again.
The temperature in the cooler or the freezer is too high. - The cooler compartment temperature is set to a very high degree. >>> Temperature setting of the cooler compartment has an effect on the temperature in the freezer compartment. Wait until the temperature of relevant parts reach the sufficient level by changing the temperature of cooler or freezer compartments.
- The doors were opened frequently or kept open for long periods. >>> Do not open the doors too frequently.
- The door may be ajar. >>> Fully close the door.
- The product may have been recently plugged in or a new food item is placed inside. >>> This is normal. The product will take longer to reach the set temperature when recently plugged in or a new food item is placed inside.
- Large quantities of hot food may have been recently placed into the product. >>> Do not place hot food into the product.
Shaking or noise. - The ground is not level or durable. >>> If the product is shaking when moved slowly, adjust the stands to balance the product. Also make sure the ground is sufficiently durable to bear the product.
- Any items placed on the product may cause noise. >>> Remove any items placed on the product.
The product is making noise of liquid flowing, spraying etc. - The product’s operating principles involve liquid and gas flows. >>> This is normal and not a malfunction.
There is sound of wind blowing coming from the product. - The product uses a fan for the cooling process. This is normal and not a malfunction.
There is condensation on the product’s internal walls. - Hot or humid weather will increase icing and condensation. This is normal and not a malfunction.
- The doors were opened frequently or kept open for long periods. >>> Do not open the doors too frequently; if open, close the door.
- The door may be ajar. >>> Fully close the door.
There is condensation on the product’s exterior or between the doors. - The ambient weather may be humid, this is quite normal in humid weather. >>>
The condensation will dissipate when the humidity is reduced.
The interior smells bad. - The product is not cleaned regularly. >>> Clean the interior regularly using sponge, warm water and carbonated water.
- Certain holders and packaging materials may cause odour. >>> Use holders and packaging materials without free of odour.
- The foods were placed in unsealed holders. >>> Keep the foods in sealed holders. Micro-organisms may spread out of unsealed food items and cause malodour. Remove any expired or spoilt foods from the product.
The door is not closing. - Food packages may be blocking the door. >>> Relocate any items blocking the doors.
- The product is not standing in full upright position on the ground. >>> Adjust the stands to balance the product.
- The ground is not level or durable. >>> Make sure the ground is level and sufficiently durable to bear the product.
The vegetable bin is jammed. - The food items may be in contact with the upper section of the drawer. >>>
Reorganize the food items in the drawer.
If The Surface Of The Product Is Hot. - High temperatures may be observed between the two doors, on the side panels and at the rear grill while the product is operating. This is normal and does not require service maintenance!Be careful when touching these areas.
WARNING:
If the problem persists after following the instructions in this section, contact your vendor or an Authorised Service. Do not try to repair the product.
DISCLAIMER/WARNING
Some (simple) malfunctions may be repaired by end users without creating any safety issue or causing unsafe usage provided that they are carried out under the following instructions.
(Please see the section “I Want to Repair Myself”.)
For this reason, except for parts specified at the section “I Want to Repair Myself” as could be repaired by end users, repair by an authorized service station is definitely suggested for the purpose of preventing any safety issues and this is required so that Arçelik product warranty may continue.
I WANT TO REPAIR MYSELF
Repair that will be carried out by end-users can be performed within the following spare parts: Door Handles spare parts from https://www.arcelik.com.tr/destek as of 1 March 2021)
Further, in order to ensure product safety and to prevent the risk of severe injuries, repair has to be carried out according to instructions from the user manual or https://www.arcelik.com.tr/destek. For your own safety, please unplug the product prior to carrying out any repair.
Arçelik may not be held responsible for safety issues that may arise because of repairs or attempts not carried out in accordance with instructions specified at user manuals or located at https://www.arcelik.com.tr/destek and performed on parts other than parts contained at the current list of parts accessed from https://www.arcelik.com.tr/destek. In such a case, the Arçelik product warranty will be invalid.
For this reason, we strongly recommend end-users to avoid carrying out repairs for parts other than above- mentioned spare parts themselves and apply to an authorized service station in case of requirement. Such repair attempts by end-users may cause safety issues, may damage products,s and may cause fire, flood, electrocution, and severe personal injuries afterward.
Including but not limited to the listed items, repairs of the following parts have to be performed by authorized service stations: Compressor, Cooling system elements, Motherboard, Inverter card, Display card, etc.
The manufacturer/dealer may not be held responsible for any circumstances where end-users fail to act in accordance with the foregoing.
This product is equipped with a lighting source of the “G” energy class.
The lighting source in this product shall only be replaced by professional repairers.


Preparation

















