Adonit Note-M Dual Function Mouse
What devices will Note-M work with in terms of mouse feature?
Mouse feature of Note-M is compatible with any device that runs on any operating system as long as it supports Bluetooth mouse.
Does Note-M have Bluetooth? Do I need to pair the Note- M with an app?
In terms of stylus, it runs without Bluetooth. To use the stylus feature, no pairing process is required, all you need to do is to turn on the pen and ready to use.
In terms of Bluetooth Mouse, you need to pair Note-M to your device, after a successful pairing. You may use the other side of the pen as a mouse.
How to turn on Adonit Note-M mouse feature?

- Press the I button to turn on the pen (green LED).
- Once you see the green LED, press the B button. A blue LED in slow blinking indicates the pen is switched over to mouse mode and stylus feature is off.
- Together press B and D buttons for 3 seconds. A blue LED in fast blinking indicates the pen is waiting to pair.
- On your device, find Adonit Note-M stylus on the Bluetooth searching list, then select and allow it to pair.
Note: A blue LED in fast blinking remains for 1 minute, and turns back to A blue LED in slow blinking.
Why can’t I use the stylus feature after a successful Mouse pairing?
Stylus and Mouse are separate features, it switches off stylus feature while using Mouse feature. You need to switch over as you want to use the other feature.
To switch to using the mouse function, please press the B button (LED shows blue light). To switch to using the stylus function, please press the I button (LED shows green light).
If pairing is unsuccessful, please try 1. Remove all Bluetooth devices on your computer. 2. Turn Bluetooth off then on again. 3. Repeat the pairing steps to reconnect the pen.
How do you turn off Note-M stylus?
Turn your Adonit Note-M stylus OFF by holding down both H and I buttons at the same time over 3 seconds until light turns off. Note-M can be turned off from either stylus or mouse mode.
Does Note-M automatically turn off?
Note-M will automatically turn off after 20 minutes if no button is pressed or no movement is detected to the pen.
Does Note-M’s Bluetooth mouse auto reconnect to the previous device?
Yes, it will auto reconnect to the previous device whenever switch over to the mouse mode and as long as you did not remove pen from your Device.
What material of surface or pad will Note-M work onto with?
Just like any Infrared mouse, Note-M work with most surfaces or mouse pads.
Note-M can’t work with any surface that is made of glass.
Is Adonit Note-M only allowed working with tablet devices?
More than that, any device with Bluetooth mouse features works. Like phones, laptops, computers.
Can I customize Adonit Note-M mouse buttons?
You may rearrange the mouse for primary button, mouse scroll and mouse sensitivity in the setting.
Note: rearrangeable features vary from device to device
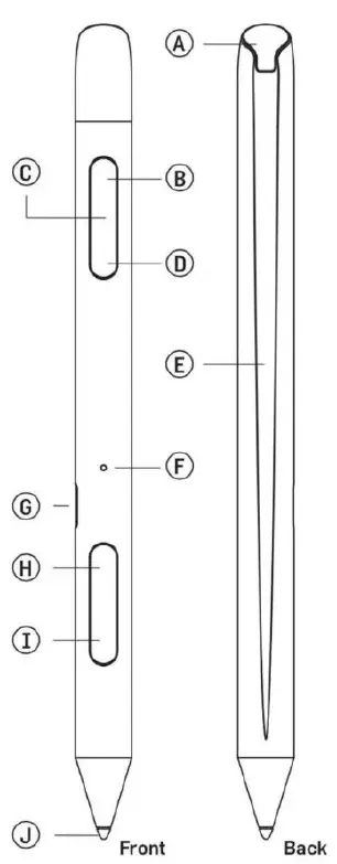
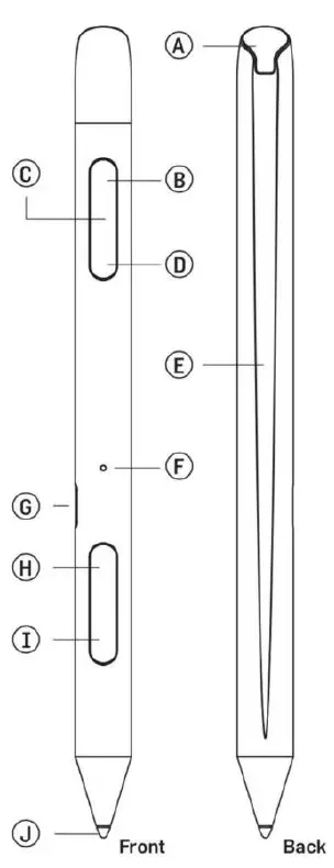
What are the buttons with Note-M?

B: Mouse Left Click
C: Mouse Scroll
D: Mouse Right Click
I:Pen Switch-On Button
Does Adonit Note-M support pressure sensitivity in terms of stylus feature?
No
How do I use the special features of Note-M? (i.e palm rejection)
As long as your device supports Adonit Note-M, it will support the advanced features like palm rejection. No need to set up in your device or apps.
Does Note-M support tilt for shading?
No.
What devices does Adonit Note-M magnetically attach with?
iPad Pro (3rd/ 4th Generation, 11″& 12.9″) & newer
What do the LED light’s mean on the Adonit Note-M?
Solid blue: successfully paired or fully charged
Slow blinking blue: reconnect mouse model or fully charged
Fast blinking blue: pairing mode
Solid red: stylus charging mode
Slow blinking red: Low battery mode
Solid green: fully charged or in the stylus mode
Why Note-M’s mouse is still working when the pen is away from a surface?
It’s part of Note-M’s feature, and different from mouses in general. Controllable range is 5~50 mm from the air depend on the surface matireal. It can’t be switched off or customized.
How to maintain cleanliness of mouse end?
Blow into the sensor hole to get rid of dirt that covers.
Do not try or perform a cleaning method with pens, sharp objects or your finger right into the sensor.





















