BEGA 50 117.2 Recessed Wall Luminaire
Product Information
| Module Designation | Colour Temperature | Colour Rendering Index | Module Luminous Flux | Luminaire Luminous Flux | Luminaire Luminous Efficiency |
|---|---|---|---|---|---|
| LED-0815/927 | 2700 K | CRI > 90 | 155 lm | 40 lm | 19 lm/W |
| LED-0815/930 | 3000 K | CRI > 90 | 160 lm | 42 lm | 20 lm/W |
Product Usage Instructions
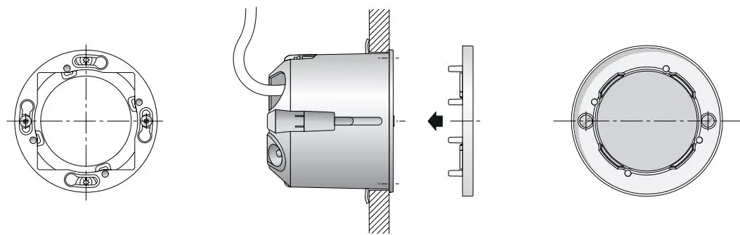
- Pass the mains cable through a cable entry of the recess box and fit the recess box.
- Make sure that the countersunk screws of the recess box are horizontal relative to the ground.
- Connect the earth conductor to the link on the luminaire housing.
- Make electrical connection to the terminal of the power supply unit.
- Insert the luminaire into the recess box and use the two countersunk screws to adjust and secure it.
- Use retention pins to mount the trim ring with glass on the luminaire housing such that the two rear magnets are seated on the countersunk screws.
- Note: This luminaire is supplied with a matching cavity-wall box. If cavity-wall boxes of other manufacturers are used, they must be made of electrical insulating material such as plastic!
- Through-wiring: Through wiring of the luminaire is only possible by means of an electronic box. We recommend the use of a flush-mounted box Kaiser 1068-02 for flush-mounting and a cavity-wall box Kaiser 9268-94 for cavity wall mounting.
- Replacement of the LED module: The designation of the LED module is noted on a label in the luminaire. The light colour and light output of BEGA replacement modules correspond to those of the modules originally fitted. The module can be replaced by qualified persons using standard tools. Disconnect the system and open the luminaire. Please follow the installation instructions for the LED module. Defective glass must be replaced. Close the luminaire.
Recessed wall luminaire for indoor use
DIMENSIONS
Instructions for use
Application
Recessed wall luminaire · indoor luminaire with crystal glass, inside white and metal housing. Luminaire with unshielded light for directing and conducting lighting.
Product description
- Recessed ceiling luminaire »ACCENTA« Die-cast zinc luminaire housingMetal frame ring with safety glass, white inside Stainless steel finish Cavity-wall box with 2 fixing claws and fixing screws Ceiling aperture ø 68 mm
- Free space installation depth required 65 mm Mains cable up to ø 10.5 mm, max. 3 × 1.5@ Connecting terminal 1.5@ Earth conductor connection
- LED power supply unit 220-240 V x 0/50-60 Hz DC 176-264 V
- Safety class I
Safety mark
Conformity mark- Weight: 0.25 kg
- This product contains light sources of energy efficiency classes D
Safety:
The installation and operation of this luminaire are subject to national safety regulations. Installation and commissioning may only be carried out by a qualified electrician. The manufacturer accepts no liability for damage caused by improper use or installation. If subsequent modifications are made to the luminaire, the person responsible for these modifications shall be considered the manufacturer.
Overvoltage protection
- The electronic components installed in the luminaire are protected against overvoltage in accordance with DIN EN 61547.
- To achieve an additional protection against e. g. transients, etc. we recommend separate overvoltage protection components.
- You can find them on our website at www.bega.com.
Lamp
- Module connected wattage: 1 W
- Luminaire connected wattage: 2.1 W
- Rated temperature: ta = 25 °C
- Ambient temperature: ta max = 45 °C
- When installed in heat-insulating material: ta max = 35 °C
50 117.2 K27: - Module designation: LED-0815/927
- Colour temperature: 2700 K
- Colour rendering index: CRI > 90
- Module luminous flux: 155 lm
- Luminaire luminous flux: 40 lm
- Luminaire luminous efficiency: 19 lm / W
50 117.2 K3: - Module designation: LED-0815/930
- Colour temperature: 3000 K
- Colour rendering index: CRI > 90
- Module luminous flux: 160 lm
- Luminaire luminous flux: 42 lm
- Luminaire luminous efficiency: 20 lm / W
Installation
LED are high-quality electronic components! Please avoid touching the light output opening of the LED directly during installation or relamping.
Installation into solid walls
For this purpose a recess box, ø 68 mm and a recessed depth of min. 62 mm is necessary.
Installation into wall panels
A recessed opening of ø 68 mm is necessary to accept the cavity-wall box. Recessed depth min. 65 mm. The lateral distance between cavity-wall box and standard combustible building parts must be at least 40 mm. The claws of the cavity-wall box catch the wall panel from the back side. If minimum thickness is less than 7 mm, it must be reinforced from the back side. Maximum thickness of the panel must be no more than 35 mm.
- Pass the mains cable through a cable entry of the recess box and fit the recess box.
- Make sure that the countersunk screws of the recess box are horizontal relative to the ground.
- Connect the earth conductor to the link on the luminaire housing.
- Make electrical connection to the terminal of the power supply unit.
- Insert the luminaire into the recess box and use the two countersunk screws to adjust and secure it.
- Use retention pins to mount the trim ring with glass on the luminaire housing such that the two rear magnets are seated on the countersunk screws.
Note: This luminaire is supplied with a matching cavity-wall box. If cavity-wall boxes of other manufacturers are used, they must be made of electrical insulating material such as plastic!
Through-wiring
Please note: Through wiring of the luminaire is only possible by means of an electronic box. We recommend the use of a flush-mounted box Kaiser 1068-02 for flush-mounting and a cavity-wall box Kaiser 9268-94 for cavity wall mounting.
Cleaning Maintenance
Clean luminaire regularly with solvent-free cleansers from dirt. Defective glass must be replaced.
Replacement of the LED module
- The designation of the LED module is noted on a label in the luminaire.
- The light colour and light output of BEGA replacement modules correspond to those of the modules originally fitted.
- The module can be replaced by qualified persons using standard tools.
- Disconnect the system and open the luminaire. Please follow the installation instructions for the LED module.
- Defective glass must be replaced.
- Close the luminaire.
Spares
- Glass/Trim ring: 20 000 029 M1
- LED power supply unit: DEV-0231/350
- LED module 2700 K: LED-0815/927
- LED module 3000 K: LED-0815/930
BEGA Gantenbrink-Leuchten KG · Postfach 31 60 · 58689 Menden · [email protected] · www.bega.com














