SEALEY VMSC01.V2 2000W Steam Cleaner 18L Tank

Thank you for purchasing a Sealey product. Manufactured to a high standard, this product will, if used according to these instructions, and properly maintained, give you years of trouble free performance.
IMPORTANT: PLEASE READ THESE INSTRUCTIONS CAREFULLY. NOTE THE SAFE OPERATIONAL REQUIREMENTS, WARNINGS & CAUTIONS. USE THE PRODUCT CORRECTLY AND WITH CARE FOR THE PURPOSE FOR WHICH IT IS INTENDED. FAILURE TO DO SO MAY CAUSE DAMAGE AND/OR PERSONAL INJURY AND WILL INVALIDATE THE WARRANTY. KEEP THESE INSTRUCTIONS SAFE FOR FUTURE USE.
Refer to instruction manual | Wear eye protection | Wear protective gloves |
Hot surface | Steam | Keep away from rain |
SAFETY
ELECTRICAL SAFETY
- WARNING! It is the user’s responsibility to check the following:
Check all electrical equipment and appliances to ensure that they are safe before using. Inspect power supply leads, plugs and all electrical connections for wear and damage. Sealey recommend that an RCD (Residual Current Device) is used with all electrical products. You may obtain an RCD by contacting your local Sealey stockist.
If the product is used in the course of business duties, it must be maintained in a safe condition and routinely PAT (Portable Appliance Test) tested.
Electrical safety information, it is important that the following information is read and understood.
Ensure that the insulation on all cables and on the appliance is safe before connecting it to the power supply.
Regularly inspect power supply cables and plugs for wear or damage and check all connections to ensure that they are secure.
Important: Ensure that the voltage rating on the appliance suits the power supply to be used and that the plug is fitted with the correct fuse – see fuse rating in these instructions.
✘ DO NOT pull or carry the appliance by the power cable.
✘ DO NOT pull the plug from the socket by the cable.
✘ DO NOT use worn or damaged cables, plugs or connectors. Ensure that any faulty item is repaired or is replaced immediately by a qualified electrician.
This product is fitted with a BS1363/A 13 Amp 3 pin plug.
If the cable or plug is damaged during use, switch off the electricity supply and remove from use. Ensure that repairs are carried out by a qualified electrician.
Replace a damaged plug with a BS1363/A 13 Amp 3 pin plug. If in doubt contact a qualified electrician.
a) Connect the GREEN/YELLOW earth wire to the earth terminal ‘E’.
b) Connect the BROWN live wire to the live terminal ‘L’.
c) Connect the BLUE neutral wire to the neutral terminal ‘N’.
Ensure that the cable outer sheath extends inside the cable restraint and that the restraint is tight. Sealey recommend that repairs are carried out by a qualified electrician.
GENERAL SAFETY
This electrical appliance produces hot steam from pressurized water. There are several dangers in case of misuse. To prevent these dangers and to use the device safely, it is necessary to observe the instructions and instructions given in this manual. This electrical appliance produces hot steam from pressurized water. There are several dangers in case of misuse. To prevent these dangers and to use the device safely, it is necessary to follow instructions given in this manual.
✘ DO NOT use in any other way than described in this leaflet.
✔ This device can be used outdoors. Protection class: IPX4. It should not be stored outdoors, and should not be exposed to rain, moisture or dew.
• DANGER! NEVER TOUCH OR POINT THE STEAM TO YOURSELF OR OTHERS!
✔ If excessive steam comes out of the filler cap, turn off the power and disconnect immediately. Stop using the device. For repair, contact a qualified technician.
✔ The pressure indicator needle (manometer) should be in the red zone. The normal operating pressure is 5 bar. If the needle is in the yellow zone, the pressure is insufficient.
✘ DO NOT use the device without water in the tank.
✘ DO NOT open the filling port during use.
✘ DO NOT operate the appliance without tightening the filler cap securely.
✘ DO NOT overfill the water tank. The maximum capacity of Steamer is 1.8L of water. Standard capacity is 1.6L. Excessive filling of the water tank may cause malfunctions, property damage or injury.
✘ DO NOT return or tilt the Steamer more than 45° when it is energized or if it still produces steam.
✔ The device does not contain any user-serviceable parts.
✘ DO NOT use if damaged. DO NOT use if steamer has been dropped, if there are visible signs of damage or if there is a leak.
DO NOT attempt any repairs. Steamer must only be repaired by qualified electricians. If the power cable is damaged, it must be replaced by suitably qualified persons.
✘ DO NOT use near swimming pools containing water.
• WARNING!: Danger of burning by hot liquid and steam.
The temperature of the steam is above 100 °C; therefore, never direct it to people, animals or electrical appliances. Never place your hand in front of the steam outlet of an accessory to check temperature, proper operation or any other reason. This device can be used by people with reduced physical, sensory or mental capabilities, or lack of experience and knowledge if they have been trained and supervised to use this device safely and understand the risks. incurred. Children should not play with the device.
✔ This appliance should not be used by children. Keep the device and its cable out of the reach of children. Cleaning and maintenance
should not be done by children. Steamer is not a toy and should never be used by children.
✔ Keep hair, loose clothing, fingers, feet, and all body parts away from the jet of steam.
✘ DO NOT use Steamer barefoot or with open shoes or sandals.
✔ The appliance must not be left unattended when connected to the mains. Keep the appliance out of the reach of children.
Always disconnect Steamer from the mains supply when not in use, left unattended, after use and before servicing.
✔ Stop all controls before unplugging.
▲ CAUTION! HOT SURFACE. The surface of the body may become hot during use.
✔ Use the handle provided for transport.
✘ DO NOT touch the hose that carries the steam it becomes hot during use.
✘ DO NOT use the steamer to clean electrical appliances. Never direct steam or water onto appliances containing electrical
components such as inside an oven.
✘ DO NOT store near flammable materials.
✘ DO NOT place Steamer on or under insulation such as blankets, towels or papers.
✔ Always store Steamer in a dry place.
✘ DO NOT expose Steamer to frost.
✔ Use only the original Steamer accessories. There is a danger when using incompatible accessories.
✔ Store the product indoors, out of reach of children.
✘ DO NOT clean this product with water jet. Use a dry or dampened cloth with soap if necessary.
✘ DO NOT use to heat a room.
INTRODUCTION
2000W Steam cleaner with a 1.8L tank, ideal for small but stubborn stains. Using only tap water, this unit produces pressurized steam up to a maximum of 160°C which cleans, sanitizes and sterilizes. Heats up to full temperature in only 8 minutes. Steam leaves no toxic residues as opposed to chemical cleaning. Includes a variety of accessories for multiple cleaning tasks. This machine is excellent for cleaning carpets and upholstery, alloy wheels, car interiors, floors, mirrors, glazed areas, service and toilet areas.
SPECIFICATION
| Model no | VMSC01.V2 |
| Electrical Plug Type: | 3-Pin BS |
| IP Rating | IPX4 |
| Max. operating temperature | 170°C |
| Max. working pressure | 5bar(72.5psi) |
| Power | 2000W |
| Supply | 230V |
| Tank capacity | 1.8L |
| Warm up time | 8min |
Accessories:
(1) 2pc Extension Tube, (2) Floor Scrub Brush, (3) Floor Scrub Brush Cleaning Cloth, (4) Floor Scrub Brush Adaptor, (5) Small Tip Adaptor, (6) Medium Brush, (7) Small Brush, (8)Small Power Jet Tip – Angled, (9) Rotating Brush, (10) Window Squeegee, (11)Cloth for Window Squeegee, (12) Wave Brush, (13) Funnel And (14) Measuring Jug
CONTENTS

OPERATION

- CAUTION: If the filler cap is opened too quickly, without taking the necessary precautions, there is a very high risk of injury. The metal parts can be extremely hot; avoid contact with the skin. Risk of burns.
NOTE: The filler cap will not unscrew if the tank is pressurized.
FILLING
- WARNING! Before filling/refilling turn off and remove from mains supply. Always allow to cool for 10 minutes before adding water.
- Ensure there is no more steam by unlocking the steam trigger in the ON position.
- Remove the filler cap by turning counter clockwise.
- Fill the water tank using the funnel and measuring cup provided. The maximum capacity of the tank is 1.8L. Tip: DO NOT overfill the tank.
- Replace the filler cap by turning clockwise until a good seal is achieved
HANDLE OPERATION

RELEASING STEAM

AFTER USE
Lock the steam trigger in the OFF position (A) to prevent accidental operation.
OPERATION Refer to Contents section above
- Make sure the Steamer is unplugged and the switch in the OFF position.
- Unscrew the tank filler cap by turning counter clockwise.
- Using the measuring cup and the funnel, fill the Steamer with 1.8L of water. (This will produce about 35 minutes of steam.)
- Replace the filler cap by screwing it clockwise.
- Attach the extension tubes to the steam handle to use the steam mop or attach chosen accessory.
- Connect the appliance to the mains supply and press the switch to the ON position.
- Two lights come on. The indicator light comes on to indicate that the power is turned on. The orange steam light comes on to indicate a rise in steam pressure in the appliance.
- The appliance is ready for use when the orange steam indicator light goes out and the pressure reaches between 4 and 5 bar depending on the water level in the tank (red zone of the steam pressure gauge).
- During use, the orange steam indicator light may turn on again. This indicates that the steam pressure may not be high enough. In this case, release the steam trigger for a few moments. When the orange steam indicator light goes off again, can resume using steam.
- If the pressure drops below 2 bar, the steam flow may not be sufficient depending on the accessory used. In this case, release the steam trigger and wait until the steam pressure gauge reaches the red zone again.
- When activating the steam trigger, water may appear. This is quite normal because at the beginning, the steam takes a little time to arrive and the water condenses in the hose and the extension tubes.
- After a few moments the water will turn into steam.
- When activating the steam trigger, a lot of water can flow. This may be due to a residue of steam from the previous use that has turned into water. Empty this water by operating the steam trigger over a bucket or sink. Once this water has passed, you can use your device normally again.
- When using the accessories, the surface you are cleaning may be wet. This is due to the steam that turns into water in contact with this surface. Use a sponge or cloth to wipe this surface.
- After use, press the switch in the OFF position and disconnect from the mains supply.
• DANGER! Be careful, never direct steam on yourself or anyone else as it may cause burns
The steam trigger (2) is located in the handle and the steam trigger lock latch is located under the handle (3). The lock has two positions: OFF / LOCK and ON / UNLOCK. Press the front of the steam trigger lock latch to lock the steam (A) and press the back to unlock (B) the Steam

When the pressure gauge reaches the red zone, refer to picture above, the Steamer is ready for use (maximum pressure of 5 bar). Press the steam trigger lock latch (A) to the ON position (B) and press the steam trigger (C) to obtain a steam jet. Release the trigger to stop the jet of steam.
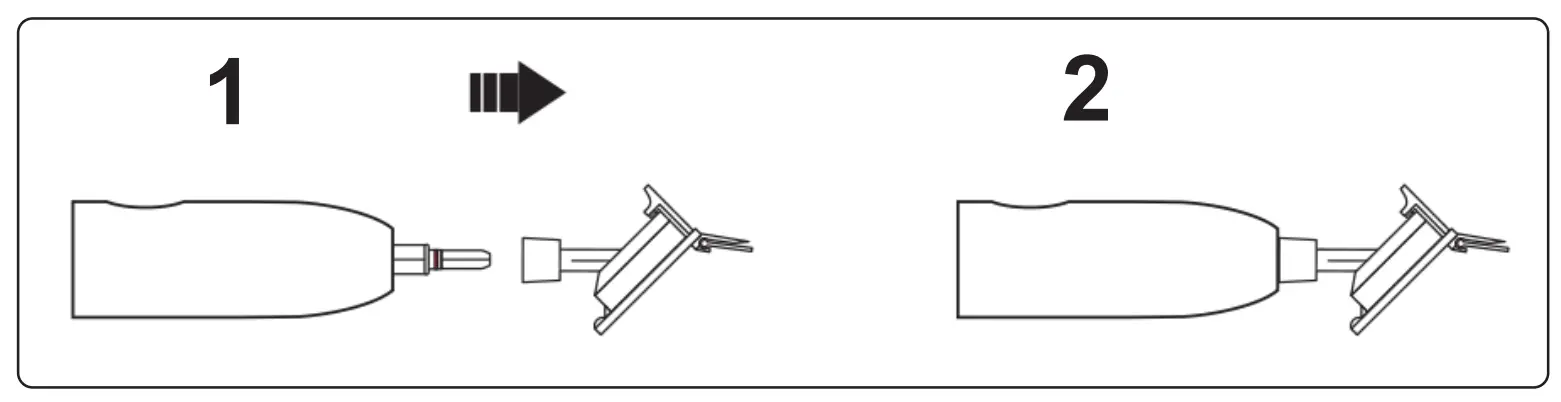
ACCESSORY ASSEMBLY
Press the button on the handle (1) and insert the extension tubes or accessories. Make sure the button goes back up to lock the accessory in position before use. You should normally hear a light click.
- FLOOR SCRUB BRUSH


- WINDOW SQUEEGEE

- WINDOW SQUEEGEE CLOTH

- ROTATING BRUSH

- MEDIUM BRUSH, SMALL BRUSH, POWER JET TIP

WATER
Maximum capacity of the water tank is 1.8L. DO NOT OVERFILL. Steam production time is about 35 minutes. Heating time for a full tank is about 10 minutes for a full tank.
HARD WATER
If the tap water used is very calcareous, it is recommended to use distilled or de-mineralized water in the Steamer.
If the use of very calcareous water is unavoidable, it is recommended to clean the water tank regularly.
FABRICS AND FINISHES
CAUTION: Some fabrics and finishes are not compatible with steam. DO NOT use steam on leather, waxed floors, synthetic fabrics, velvet and other fragile materials. When using steam appliances, always refer to the manufacturer’s instructions for use and pre-test at a non-visible location.
GLASS / MIRRORS
- WARNING!: Never apply steam to windows or mirrors with a temperature below 0 °C. Thermal shock resulting from extreme temperature deviations can break windows and mirrors.
STORAGE
• WARNING! Always empty the Steamer after use. Never leave water in the tank when storing the unit.
- Disconnect from mains supply.
- Empty all remaining tank pressure by pressing the steam trigger.
- Allow the unit to cool completely (10 minutes minimum). When the appliance is cold, lock the steam trigger and remove the accessories.
- Empty all remaining water from the tank by tilting the unit to one end. Never leave water in the tank when the unit is not in use or stored.
- Replace the filler cap and store the Steamer in a safe and dry place. Protect from frost.
MAINTENANCE
- CLEANING To clean the water tank and de-scale, proceed as follows.
• WARNING! Remove from mains supply.
• WARNING! Never clean the water tank whilst it is still hot.
✘ DO NOT use detergent to clean the tank. - Mix a 50/50 solution of 250 ml of white vinegar and 250 ml of water. Use the measuring cup.
- Pour the solution into the unheated cold tank using the funnel.
- Leave the solution in the tank for about 30 minutes.
- After 30 minutes, empty the tank.
- Repeat steps 7.1.1 to 7.1.4, if necessary.
- Rinse well with water.
- Replace the tank filler cap and store in a safe and dry place.
QUESTIONS
- WHY DOES WATER COME OUT OF THE NOZZLE?
Steamer generates a large amount of steam that can condense in water in the hose and extension tubes after a period of no use or cooling of the unit. Empty this water by operating the steam trigger over a bucket or sink. Once this water has drained, use the device normally. - NO STEAM IS COMING OUT?
Check that the hose is not bent. Make sure that the water tank is not empty. - I CANNOT REMOVE THE FILL CAP?
Make sure the Steamer is completely de-pressurized. The filler cap is designed so that it can not be removed while the unit is still under pressure. To do this, empty all residual pressure from the tank by pressing the steam trigger. The steam trigger can be unlocked by engaging the steam trigger lock latch in the ON position. Once the pressure is discharged from the tank, the filler cap of the tank can be opened. - THE STEAM FLOW IS IRREGULAR, THE APPLIANCE “COUGHS”.
Slight blockage caused by soil or other foreign matter that can prevent the flow of steam from arriving continuously. Clean the water tank as shown in Section 7.1. - I SEE THE CONDENSED WATER ON THE GAUGE OF THE STEAM PRESSURE GAUGE?
Any condensation that may appear will disappear in a short period of time. No action is necessary. - CAN I USE BOILED WATER FROM MY KETTLE?
No. Boiled water concentrates the minerals that form the scale. Never use pre-boiled water in the Steamer. - CAN I LEAVE WATER IN THE STEAMER?
No. Water left in the water tank for a prolonged period may deteriorate the components of Steamer and deposit scale. Never leave water in the Steamer; always empty it after use. If the tap water used is very hard, it is recommended to use distilled water to prolong the service life and increase the performance of Steamer. - ROTATING BRUSH
The inner part will rotate due to the high steam pressure applied. Push the rotating brush pipe on the extension tube until the knob fits correctly in the oval opening of the rotating brush pipe. Use the rotating brush to clean all kind off surfaces with a gentle push and move the brush in the required direction. The rotating part will clean the surface.
• WARNING! DO NOT use the brush towards your face or other parts of the body. Hot steam is coming out!
TROUBLESHOOTING
| PROBLEM | CAUSE | SOLUTION |
| The device does not heat up. (In the ON position, the power switch does not light.) |
|
|
| The unit does not heat up. (The light does not come on and the power switch is on.) |
|
|
| The steam flow is irregular, the Appliance “coughs”. |
|
|
| Water comes out of the accessories or The head of the broom, but no steam. |
|
|
| Steamer generates a large amount of steam that can condense water in the hose, and the extension tubes after a cooling period or of use of the device. | ||
| The broom head does not stay attached to the extension tubes. |
| Make sure the spring button is fully engaged in the hole in the tip. |
| The handle becomes hot. | When hot steam passes through the handle, it warms up. | In case of discomfort, use a glove. |
WEEE REGULATIONS
Dispose of this product at the end of its working life in compliance with the EU Directive on Waste Electrical and Electronic Equipment (WEEE). When the product is no longer required, it must be disposed of in an environmentally protective way. Contact your local solid waste authority for recycling information.
ENVIRONMENT PROTECTION
Recycle unwanted materials instead of disposing of them as waste. All tools, accessories and packaging should be sorted, taken to a recycling centre and disposed of in a manner which is compatible with the environment. When the product becomes completely unserviceable and requires disposal, drain any fluids (if applicable) into approved containers and dispose of the product and fluids according to local regulations.
Note: It is our policy to continually improve products and as such we reserve the right to alter data, specifications and component parts without prior notice. Please note that other versions of this product are available. If you require documentation for alternative versions, please email or call our technical team on [email protected] or 01284 757505.
Important: No Liability is accepted for incorrect use of this product.
Warranty: Guarantee is 12 months from purchase date, proof of which is required for any claim.
Customer Support
Sealey Group, Kempson Way, Suffolk Business Park, Bury St Edmunds, Suffolk. IP32 7AR
01284 757500
01284 703534
[email protected]
www.sealey.co.uk

































