INSTRUCTION MANUAL
MECHANICAL OSCILLATING TOWER FAN
PLEASE READ THIS MANUAL CAREFULLY BEFORE OPERATING
MODEL 3 301 OO LPU THIS APPLIANCE AND RETAIN IT FOR FUTURE REFERENCE
IMPORTANT SAFETY INSTRUCTIONS
- This appliance is for indoor use only.
- Whenever the appliance is not in use or before cleaning, unplug it from the socket. Always unplug the appliance by pulling the plug from the socket. Do not pull on the cord.
- To protect against the risk of electric shock, do not immerse the unit, cord, or plug in water or any other liquid.
- Do not use this fan in the immediate surroundings of a bath, shower, or swimming pool. Never place the fan where it may fall into a bathtub or other water container.
- Before plugging in, check that the voltage on the fan rating label is the same as the main supply.
- This fan is intended for use by competent adults only, and children should be supervised at all times.
- The supply cable cannot be replaced. If the cable is damaged, the appliance should be scrapped.
- Do not allow the cable to hang over the end of a table or work surface, or come into contact with any hot surfaces.
- This appliance can be used by children aged 8 and above and by persons with reduced physical, sensory, or mental capabilities or lack of experience and knowledge if they have been given supervision or instruction concerning how to do so safely and understand the hazards involved. Children must not play with the appliance. Cleaning and user maintenance must not be carried out by children without supervision.
- Children under 3 should be kept away from the appliance unless continuously supervised. Children aged between 3 and 8 may only switch the appliance on or off if it has been placed or installed in its intended normal operating position and they have been given supervision or instruction concerning how to use it safely and understand the hazards involved. Children aged between 3 and 8 may not plug in, regulate, or clean the appliance or carry out user maintenance.
- If the appliance malfunctions, do not try to repair it yourself, as doing so may result in a fire hazard or electric shock.
- Do not use the appliance for purposes other than its intended use.
- This product is under continuous product development, and the design may after from that shown on the instruction manual or box without prior notice.
TECHNICAL SPECIFICATIONS
| Model No. | 330100LPU |
| Power Supply | 220-240 V ~ 50-60Hz |
| Power Consumption | 45W |
| Dimensions | L270W270H820MM |
The specifications and design are subject to changes without notice.
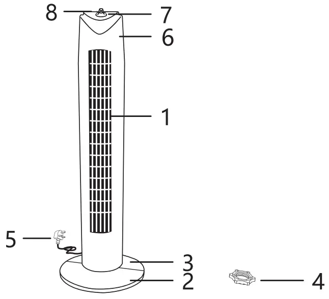
PRODUCT OVERVIEW

- Body
- Front base
- Rear base
- Plastic nut
- Power cord
- Built-in handle
- Fan control
- Timer
ASSEMBLY INSTRUCTIONS
Caution: Before assembling, ensure the fan is unplugged.
- Remove the fan body and spare parts from the box. Put the front base onto the rear base and push gently to click into place (see Fig. 1).
- Unlock the plastic nut from the fan body (see Fig. 2).
- Pass the power cord through the flute, then insert the fan body into the base (see Fig. 3).
- Fix the fan body onto the base with the plastic nut (see Fig. 2).

OPERATING INSTRUCTIONS
Fan control:
- Turn the dial clockwise to select the desired speed.
- To set the oscillation speed, rotate the dial anti-clockwise.
Timer:
Switch the timer knob to set the auto-off time between 1 and 120 mins (one mark on the dial indicates 20 minutes).

CLEANING AND MAINTENANCE
- The fan must be unplugged before cleaning, assembling, or disassembling.
- Wipe the exterior surfaces with a soft cloth soaked in a mild detergent. Thoroughly remove the soap film with a dry cloth. 3. Do not use any abrasive detergent or solvents to avoid scratching the surface. Do not use petrol or thinner as a cleaner.
- Do not allow water or any other liquid to enter the motor housing or interior parts.
- Cleaning and user maintenance may not be carried out by children without supervision.
- Keep the air vents at the rear of the main body free from dust or fluff — use a vacuum cleaner to remove these when necessary. Do not probe any opening to remove fluff.
DISPOSAL
As responsible retailers, we care about the environment. As such, we urge you to follow the correct disposal procedures for the appliance and its packaging materials. This will help conserve natural resources and ensure that these items are recycled in a manner that protects the health and the environment. You must dispose of the appliance and its packaging according to local laws and regulations. As this appliance contains electronic components, it and its accessories must be disposed of separately from household waste when the appliance reaches the end of its life. Contact your local authority to learn about your disposal and recycling options. The appliance should be taken to your local recycling center. Some collection points accept appliances free of charge.
https://www.aigostar.com/ES/turnto/turnto3.aspx
AIGOSTAR INTERNATIONAL LIMITED UNIT 4 TEES VALLEY COURT GLENARM ROAD WYNYARD TS22 SFE GB GB311003583
http://WWW.AIGOSTAR.COM
MADE IN P.R.C















