STEAM TABLE
User Manual
Intended for other than household use. The unit must be kept clear of combustibles at all times.
WARNINGS
- Do not touch any hot surfaces.
- Do not plug or unplug the unit with wet hands.
- Do not immerse the unit, cord, or plug-in liquid at any time.
- Unplug cord from outlet when not in use and before cleaning.
- Do not operate unattended.
- Do not use this unit for anything other than intended use.
- Do not use outdoors.
- Operate the unit with legs provided to prevent overheating of surfaces below.
- Do not use it if the unit has a damaged cord or plug, in the event the appliance malfunctions, or has been damaged in any manner.
- Keep children and animals away from the unit.
- Any incorrect installation, alterations, adjustments, and/or improper maintenance can lead to property loss and injury. All repairs should be done by authorized professionals only.
- Ensure that the designated power supply is adequate for continual usage and the voltage is correct.
ASSEMBLY
NOTE – Legs and under‐shelf must be assembled before securing legs to the table.
Standard Adjustable under‐shelf
- Remove the unit from the shipping carton and packaging.
- Inspect the contents to ensure there is no damage to the unit.
- Rest table on its top with gussets facing up. (use cardboard or other material to prevent scratching the top)
- Install legs into gussets. Make sure the rivet in the leg is closer to the gusset than to the foot end.
- Align under‐shelf gussets with legs and slide under‐shelf down legs to the desired position. (DO NOT force or beat corners as damage could occur)
- Tighten set screws in under‐shelf gussets to secure under‐shelf and install feet into legs using a rubber mallet.
- Tighten set screws in gussets to secure legs to table.
- Place table on the back with control knobs up.
- See next page.

O series (open well) Operation
Dry Operation with over
- Plug unit into appropriate electrical power supply receptacle.
- With openings covered, set the dial to the highest position for 45 minutes to preheat the unit.
- During initial start‐up, smoke or odor may be detected (a small amount). This will occur when the coating on the heating element turns off and should stop approximately a half hour after start up.
- Place precooked food (minimum 160 F) in food pans, place in openings and cover with lids.
(Indicator light is the set point for the control knob) - Adjust to the desired setting for proper food temperature. This will vary with the type of food, size of pans, and individual serving temperatures. NSF requires food to be a minimum of 150 F.
- To increase temperature, turn the knob toward the highest setting. To decrease, turn toward the lowest setting.
- Food pans should be covered to maintain temperature when food is not being served and to prevent food from drying out.
Wet Operation with Cover (Spillage pans required)
Note – DO NOT put hot water in the heating well or on the element
- With openings covered, set the dial at the highest setting for 45 minutes.
- Install spillage pans and spillage pans to the bottom of food pans with hot water (minimum of 185°F).
- Place pre‐cooked food (minimum 160°F) in food pans.
- Place in spillage pans and cover food pans with lids.
- Adjust to the desired setting for proper food temperature. NSF requires food to be a minimum of 150°F.
S/SO/SD Series (sealed well) Operation
- Before the unit is used for the first time, turn the temperature knob to “10” and heat the well for 2030 minutes.
Do not be alarmed if smoke appears; this preheat should burn off any residue or dust on the heating element.
WARNING: Steam can cause serious burns.
Always wear some type of protective covering on your hands and arms when removing lids or pans from the unit. Lift the lid or pan in a way that will direct escaping steam away from your face and body. - Never place food directly into the well. Always use pans.
- A wet operation is recommended.
- Always place covers on pans when not serving to prevent food from drying out and to reduce your operating costs.
- For most efficient operation, keep empty, covered insets in each well during preheating and when the well is not in use.
- Wet Operation
- Fill food well with two (2) quarts of water. For quicker pre-heating, use hot water to till the well.
- Turn the control to “HIGH” and pre-heat the warmer for 30 minutes.
- After preheating, set the control to your desired serving temperature.
- Never pour water into a well that has been heated dry. This may cause the well to crack and leak.
- Always fill well before preheating or before water level is below 1/2”.
CLEANING – NOTE: To maintain cleanliness and increase service life, the steam table should be cleaned daily. Do not immerse the unit in water or any other liquid. If liquid enters the electrical compartment, it may cause a short circuit or electrical shock.
- Allow unit to completely cool before cleaning.
- Disconnect the cord from the outlet.
- Wipe the inside and outside surfaces of the unit with a damp cloth, then wipe dry.
- To avoid damage, do not use abrasive cleaners or scouring pads.
- Avoid using cleaners as the chemical residue could damage or corrode the surfaces of the unit. Clean the unit with warm soapy water and a soft cloth only.
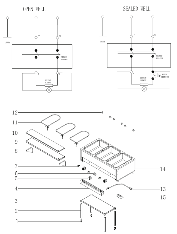
Wiring Diagram

O series(open well) Spare Part List
| ITEM | DESCRIPTION | |
| 1 | ADJUSTABLE FOOT | |
| 2 | LEG PIPE | |
| 3 | UNDER SHELF (2) WELL | |
| UNDER SHELF (3) WELL | ||
| UNDER SHELF (4) WELL | ||
| UNDER SHELF (5) WELL | ||
| 4 | ELECTRICAL BOX (2) WELL | |
| ELECTRICAL BOX (3) WELL | ||
| ELECTRICAL BOX (4) WELL | ||
| ELECTRICAL BOX (5) WELL | ||
| 5 | THERMOSTAT KNOB | |
| 6 | THERMOSTAT 120V (Infinite Switch) | |
| THERMOSTAT 240V (Infinite Switch) | ||
| 7 | INDICATOR LIGHT | |
| 8 | BRACKET FOR CUTTING BOARD LEFT | |
| BRACKET FOR CUTTING BOARD RIGHT | ||
| 9 | SHELF FOR CUTTING BOARD (2) WELL | |
| SHELF FOR CUTTING BOARD (3) WELL | ||
| SHELF FOR CUTTING BOARD (4) WELL | ||
| SHELF FOR CUTTING BOARD (5) WELL | ||
| 10 | POLY CUTTING BOARD (2) WELL | |
| POLY CUTTING BOARD (3) WELL | ||
| POLY CUTTING BOARD (4) WELL | ||
| POLY CUTTING BOARD (5) WELL | ||
| 11 | HEATING ELEMENT 500W 120v | |
| HEATING ELEMENT 1000W 240 | ||
| 12 | HEATING ELEMENT CLIP | |
| 13 | CORD AND STRAIN RELIEF 5-15P (120v) | |
| CORD AND STRAIN RELIEF 5-20P (120v) | ||
| CORD AND STRAIN RELIEF 6-20P (240v) | ||
| CORD AND STRAIN RELIEF 6-30P (240V) | ||
| 14 | BODY | |
| 15 | TERMINAL BLOCK |
S Series (sealed well) Exploded Views

S/SO/SD Series (sealed well)
| ITEM | DESCRIPTION | |
| 1 | ADJUSTABLE FOOT | |
| 2 | LEG PIPE | |
| 3 | UNDER SHELF (2) WELL | |
| UNDER SHELF (3) WELL | ||
| UNDER SHELF (4) WELL | ||
| UNDER SHELF (5) WELL | ||
| 4 | ELECTRICAL BOX (2) WELL | |
| ELECTRICAL BOX (3) WELL | ||
| ELECTRICAL BOX (4) WELL | ||
| ELECTRICAL BOX (5) WELL | ||
| 5 | THERMOSTAT KNOB | |
| 6 | THERMOSTAT 120V (Infinite Switch) | |
| THERMOSTAT 240V (Infinite Switch) | ||
| 7 | INDICATOR LIGHT | |
| 8 | BRACKET FOR CUTTING BOARD LEFT | |
| BRACKET FOR CUTTING BOARD RIGHT | ||
| 9 | SHELF FOR CUTTING BOARD (2) WELL | |
| SHELF FOR CUTTING BOARD (3) WELL | ||
| SHELF FOR CUTTING BOARD (4) WELL | ||
| SHELF FOR CUTTING BOARD (5) WELL | ||
| 10 | POLY CUTTING BOARD (2) WELL | |
| POLY CUTTING BOARD (3) WELL | ||
| POLY CUTTING BOARD (4) WELL | ||
| POLY CUTTING BOARD (5) WELL | ||
| 11 | HEATING ELEMENT 640 120v | |
| HEATING ELEMENT 1100W 240 | ||
| 12 | HEATING ELEMENT CLIP | |
| 13 | CORD AND STRAIN RELIEF 5-15P (120v) | |
| CORD AND STRAIN RELIEF 5-20P (120v) | ||
| CORD AND STRAIN RELIEF 6-20P (240v) | ||
| CORD AND STRAIN RELIEF 6-30P (240V) | ||
| 14 | BODY | |
| 15 | TERMINAL BLOCK | |
| 16 | VALVE | |
| 17 | BOWL |
Limited Service Warranty
Valid only in the United States
1 Year Parts and Labor Warranty
Unless otherwise stated, Koolmore Supply Inc. warrants to the original purchaser of the new Koolmore steam table, that such equipment will be free from defects in material and workmanship for a period of 1 year from the date of delivery. Valid only in the Continental United States.
Coverage Limitations
The 1-year parts and labor warranty do not cover:
Failure to install and/or use the equipment within proper operating conditions specified by Coolmore. This includes but is not limited to residential, outdoor, or mobile applications.
Any adjustments necessitated by improper operating conditions.
Damage caused by improper electrical connection, power failure, or generators.
Failure to properly maintain the unit including all preventive maintenance and cleaning.
Equipment sold or used outside of the United States, equipment purchased second-hand, equipment sold by an unauthorized reseller, and equipment expressly sold without warranty coverage.
Equipment without a valid serial number and proof of purchase, or another way to verify warranty coverage.
Equipment that has not been used appropriately or was subject to misuse, neglect, abuse, accident, alteration, negligence, damage during transit, delivery or installation, fire, flood, or an act of God.
Equipment that has been altered, modified, or repaired by anyone other than an authorized service agency outside of preventative maintenance and cleaning.
Parts deemed by Coolmore to be normal wear and tear parts, including hoses and select plastic or rubber components.
For Warranty Inquiries or Service:
This warranty is only valid on equipment purchased from an authorized dealer.
Locate the model number.
Next, call 1-718-576-6342. You must have the model number when contacting service technicians.
Failure to contact Koolmore prior to obtaining equipment service may void your warranty.
















