ECHORING R3 Ethernet Bridge User Manual
General Terms of Use of this Document
- It is the user’s responsibility to check regularly and ensure they have downloaded the latest version of this manual, as R3 may edit, revise, or improve product documentation over time.
- The user must ensure the product is used correctly according to this document’s guidelines, in particular observing all relevant standards and regulations.
- This document, including all diagrams and illustrations, is copyright protected. Any and all changes violate our Terms of Use.
ATTENTION — Installation must only be performed by qualified specialist personnel. !
Please Observe the Following Notes
Please observe and obey the following note formats and instructions throughout the document:
TIP — Text in this format is information explaining the use of the product. !
ATTENTION — Text in this format must be observed in order to avoid malfunction and/or damage, or to avoid potential security risks.
Product Information
Intended Use of the Product
The EchoRing Ethernet Bridge (device) enables a time-critical and reliable wireless link between Ethernet-based industrial protocol devices. It can be employed for:
- Replacing cable-based network infrastructure with a wireless connection in machinery, vehicles and devices, enabling simplified infrastructure and flexible operations.
- Replacing network cables between moving structures or components in machinery, vehicles and devices in order to reduce weight, size and use of installation space, as well as wear and tear on network infrastructure.
ATTENTION — This radio device is intended for transmitting data wirelessly. It is furthermore intended to be used for low latency and/or high reliability data communications. When using device, be mindful of the general behavior and physics of the wireless channel. Abrupt or predictable changes in the operational environment, such as movement of people or objects, and the presence of interfering devices, can result in reduced wireless signal quality and failed data transmissions. Thus, when used in critical applications, where the result of poor wireless connectivity can cause severe human injury or economic damage, intended operations cannot rely solely on this device. A comprehensive system solution, such as an integrated wired failsafe in case of poor wireless connectivity, must be installed and tested to the level of intended application’s importance.
Localization Information and Constraints
The EchoRing Ethernet Bridge ER-EB 1000M (Version for USA and Canada) was specifically designed to meet regulatory requirements of the FCC and ISED respectively. The Device operates in the 5GHz Band, more specifically Channels 36, 40, 44, 48, 149, 153, 157, 161 and 165. The maximum output power at the SMA port is limited to 16.2dBm. For any installation use dipole antennas only. The maximum antenna gain shall under no circumstances supersede 13dBi. Do not operate the EchoRing Ethernet Bridge ER-EB 1000M (Version for USA and Canada) in regions other than indicated.
Versions of this Product
- ER-EB 1000M (EU version) – NOT COVERED BY THIS DOCUMENTATION
- ER-EB 1000M (Version for USA and Canada) – this document
Conformity/Country Approvals
Additional information (e.g. declaration of conformity, documents, test reports, restrictions, etc.) can be found on www.echoring.com.
FCC 47 CFR 15 Compliance
This device complies with Part 15 of the FCC Rules Operation is subject to the following two conditions: (1) this device may not cause harmful interference, and (2) this device must accept any interference, including interference that may cause undesired operation.
ATTENTION — Changes or modifications made to this equipment not expressly approved by R3 may void the FCC authorization to operate this equipment.
This equipment has been tested and found to comply with the limits for a Class B digital device, pursuant to Part 15 of the FCC Rules. These limits are designed to provide reasonable protection against harmful interference in a residential installation. This equipment generates, uses and can radiate radio frequency energy and, if not installed and used in accordance with the instructions, may cause harmful interference to radio communications. However, there is no guarantee that interference will not occur in a particular installation. If this equipment does cause harmful interference to radio or television reception, which can be determined by turning the equipment off and on, the user encouraged to try to correct the interference by one or more of the following measures:
- Reorient or relocate the receiving antenna.
- Increase the separation between the equipment and receiver.
- Connect the equipment into an outlet on a circuit different from that to wich the receiver is connected.
- Consult the dealer or an experienced radio/TV technician for help.
ATTENTION — This equipment complies with FCC radiation exposure limits set forth for an uncontrolled environment. Under normal use condition the user has to keep at least 20cm separation distance between radiator and body of the user.
ATTENTION — This transmitter must not be co-located or operating in conjunction with any other antenna or transmitter.
ATTENTION — Professional Installation Notice: To comply with FCC Part 15 rules in the United States, the system must be professionally installed to ensure compliance with the Part 15 certification. It is the responsibility of the operator and professional installer to ensure that only certified systems are deployed in the United States. The use of the system in any other combination (such as co located antennas transmitting the same information) is expressly forbidden.
RSS-210 of ISED
This device contains licence-exempt transmitter(s)/receiver(s) that comply with Innovation, Science and Economic Development Canada’s licence-exempt RSS(s). Operation is subject to the following two conditions:
- this device may not cause interference, and
- this device must accept any interference, including interference that may cause undesired operation of the device.
This device has been designed to operate with dipole antennas having a maximum gain of 8.5 dBi. Antennas having a gain greater than 8.5 dBi are strictly prohibited for use with this device. The required antenna impedance is 50 ohms. To reduce potential radio interference to other users, the antenna type and its gain should be so chosen that the equivalent isotropically radiated power (e.i.r.p.) is not more than that permitted for successful communication. That the device for the band 5,150-5,250 MHz is only operated indoors to reduce potential for harmful interference to co-channel mobile satellite systems.
Installation
ATTENTION — The device emits RF energy in the ISM (Industrial, Scientific, Medical) band. Make sure that all medical devices used in proximity to this device meet appropriate susceptibility specifications for this type of RF energy.
ATTENTION — The device is recommended for use in industrial environments. It is mandatory to employ a functional ground connection to comply with safety requirements.
ATTENTION — The device is not supposed to be disassembled. Do not break the seal! !
General
TIP — Please consider the general behavior and physics of the wireless channel when deploying devices. Placement of devices may need to be adjusted during functional testing.
Mechanical Installation

Figure 4-I: Dimensions are in millimeters (mm)
Screw the antenna to the device’s SMA connector. Note: antenna is excluded from diagram
DIN Rail Mounting

Figure 4-II: DIN rail mounting
- Use the self-tapping screws provided to attach the device to DIN rail. Place the screws through the small DIN rail adapter plates and screw into device in their designated position.
- Place the device now-fixed adapter on the top edge of DIN rail.
- Push the device downwards so it snaps into place.
TIP — To release device from DIN rail, push the device downwards while pulling outwards.
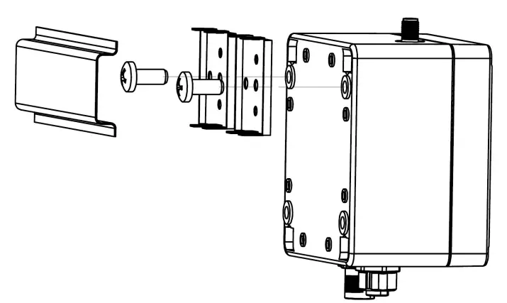
Wall or Mast Mounting
- Place the wall mounts in their desired positions on the device. The mounts can be placed horizontally or vertically.
- Use adequate force to drive the mount bolt in the device notch. If using a hammer, please be sure not to accidentally hit and damage the device casing.
- Repeat with the other mounts

Figure 4-III: Wall or mast mounting
TIP — Attaching wall mounts to a device is irreversible.
Connectors

TIP — The Ethernet connector is PoE (Power over Ethernet) and can also be used to supply power to the device.
| Figure | Pins | Function |
![]() | 1 | Power supply + (9 – 30 V DC) |
| 2 | Ground for digital input | |
| 3 | Ground for power supply | |
| 4 | Digital input + (9 – 30 V DC) | |
| 5 | Functional ground |
Table 4-i: Power connector (M12 plug, A coded)
ATTENTION — The signal cable for digital input must be carried in the same cable as the power supply and functional ground if the line length exceeds 3 meters.
| Figure | Pins | Function | Color Mark (T568B) |
| 1 | Send | Orange/white |
| 2 | Receive | Green/white | |
| 3 | Send | Orange | |
| 4 | Receive | Green |
Table 4-ii: PoE/Ethernet connector (M12 plug)
LED Indicators

Figure 4-V: LED Indicators
| LED | Color/pattern | Meaning |
| PWR | Off Green | No power. Device is powered on. |
| ETH | Off Green flashing | No traffic Traffic (data) is being sent through the device. |
| CFG | Off Green Green flashing | Device is in operational mode. Device is in configuration mode. Device is updating its firmware. |
| HLT | Green Red | Device is running successfully according to configuration. Device does not run. Device is either out of range of other devices or a software related problem has occurred. |
| ETH + CF | Green flashing | Device is in Performance Analyzer mode. |
Table 4-iii: Explanation of LEDs
Web-based Configuration Interface
General Information
The Web-based configuration interface is used for configuring, deploying and re configuring devices.
Set Up and Access Web User Interface
- Arrange and connect a PC, the Config Server and the devices, intended to be in the same network cell, to the network switch according to the following diagram:

Figure 5-I: Config setup - Ensure all Ethernet cables are connected, and that all devices are powered on.
- Open the PC’s network settings and configure the static IP address 10.10.100.99 and the subnet mask 255.255.0.0.
- Open a web browser and enter the URL http://10.10.100.100
ATTENTION — The web-based user interface is designed for the web browsers Firefox (version 60 or newer) and Chrome (64 or newer). Other browsers may not support full functionality.
Configure the Device
- Set up and access the Web User Interface (see Section 5.2).
- In Web User Interface, take a look at ”Echoring Deployment”. Connected devices are shown in the paring view there. Click the IP address to pair all devices or click each device to include/exclude it.

- Click the ”Configure Deployment” button underneath to continue.

- Please determine the MAC address of the device to be connected and enter it to the right of the device’s (Node) IP address.

- The “Capacity Factor” configures the number of available transmission slots of the device, allowing for greater data rate (throughput), asymmetric traffic, or synchronicity optimization per device – in relation to overall network capacity (which is configured later).
TIP — To derive the required capacity factor for each device, simply analyze the traffic and corresponding data rate each device transmits, in relation to all devices in network. Then portion out capacity factors accordingly.
EXAMPLE — 3 devices have a combined network data rate of 200 kb/s,- device has 2 capacity factors = 100 kb/s,
- devices have 1 capacity factor each = 50 kb/s each
- Apply prioritized traffic filter (if needed) in bottom field under “Priority Traffic” by entering the prioritized data’s “byte index”, counted from the start of the MAC header, and its “Byte value”
EXAMPLE — Profinet:
To filter for additional/other packet aspects, such as IP addresses, packet flags, QoS fields or similar, add additional entries to the prioritized traffic filter.
TIP — Filter entries work as AND function, meaning data to be prioritized must match all entries.
TIP — Data to be transmitted is buffered in a queue and transmitted when its device’s transmission slot arrives. If the application has multiple traffic types – such as critical control/safety packets or best-effort packets – they can be prioritized via a filter. Packets matching the filter will be buffered in an alternate queue and sent prior to packets in the main queue. If no prioritized traffic is set, all data is treated as equally critical.
- Click the EchoRing tab and set the parameters to match the application data and the wireless settings.

(A) Channel: the radio frequency to operate on.
TIP — To prevent interference, please ensure that any other radio transmitting device does not operate on the selected channel. Please see to our product portfolio for tools that can help you plan and enable coexistence of wireless products.
(B) TxPower: the power that each device shall transmit with.
TIP — Some milliwatt (mW) to decibel-milliwatts (dBm) conversions are 0dBm=1mW, 10dBm=10mW, 14dBm=25mW.
(C) Reliability: the level of reliability mechanisms activated for the EchoRing protocol.
TIP — In order to make sure network is configured to allow application traffic’s cycle time, packet length and data rate, it is recommended to start with minimum reliability first and then go back and increase reliability after all parameters been set
| Value | Function |
| 1 (minimum) | Minimal reliability measures, allowing higher performance in terms of throughput and lower latency. |
| 8 (maximum) | Maximized reliability measures, often resulting in less performance in terms of throughput and latency. |
(D) Optimize For: by selection one of the three alternatives; Reliability (C), Packet Length (F) and Latency (G), this one selected parameter will be given best possible value automatically pending on the other parameters input value. Exact Config disable this function.
(E) Base Data Rate: is the shared data rate among all devices that can be achieved with the current setting.
TIP — A Base Data Rate value can be given as an input, helpful in cases when the network throughput requirement is more primary than for example a specific Packet Length.
(F) Packet Length: the maximum expected packet length. Packet Length must be dimensioned to include all protocol headers. Telegram example with a UDP payload:
| ER Fragmentation (4B) | Ethernet (14B) | IP Header (20B) | UDP Header (8B) | Usable payload (100B) |
TIP — Prioritized Packets (F) that are longer than the Packet Length configured will be discarded. Non-prioritized packets can exceed the configured Packet Length and will be then fragmented.
(G) Latency: The duration within a packet transmitted must be received (cycle time).
(H) Targeted Token Rotation Time: The duration it takes for a station that has transmitted a packet to deterministically be allowed to transmit once more.
EXAMPLE — If the application traffic has a cycle time of 16 ms (packets received later may cause application stop), the system should ideally be configured with a Targeted Token Rotation Time shortly below 8 ms, to allow timing jitter.
TIP — If the application’s data rate exceeds the maximum throughput set by the latency, packet length, reliability parameters or each device’s configured capacity, the system becomes overloaded and the packets risk being dropped, leading to packet loss. The prioritized traffic filter (step 6), allows a wider latency threshold to be set for specific packet types.
(I) Security: the level of security to protect traffic integrity.
| Value | Function |
| Disabled | No encryption |
| Encrypted | 128-bit AES CCMP payload encryption |
Click ”Deploy configuration” to input the configuration into the devices.
Power cycle the devices and disconnect from the switch.
Connect each device to their respective, MAC-address configured, device(s)
Replace an Ethernet Bridge™
To replace a device, all devices in the pertaining network must be reconnected and then reconfigured with the replacement device, according to the procedure in Section 5.3 above.
Contact Information
R3 – Reliable Realtime Radio Communications GmbH Bismarckstraße 10-12 10625 Berlin



























