TAGARNO 860020 Trichinoscope Pork Inspection

INTENDED USE
This TAGARNO Trichinoscope is based on a TAGARNO PRESTIGE and a motorized XY table with the installed Trichinoscope application.
This user guide is an important part of the product. Read it thoroughly as it contains important information on safety and correct usage of the product.
It is important that all operators are trained on how to use this product and it is the responsibility of the owner that relevant staff is instructed on correct usage and handling of this product.
SAFETY LABELS
The following label is placed visibly on the system.
The label above is placed on the topside of the XY table.
SYMBOL EXPLANATION
- Circle with person reading a manual is a warning symbol that warns about important instructions or information about this product.
- Triangle warning about the risc of clamping.
WARNINGS – TRICHINOSCOPE
- Read all safety information before you use the product.
- Please pay attention when you see a warning label on the product.
- This product is for indoor use only.
- You must not discard this electrical/electronic product in domestic household waste. Please dispose at your local recycling centre.
- Save this manual as it contains important safety information and operating instructions
- Read the manual before you use the product
- Use the product only as specified, or the protection supplied by the product can be compromised
- Do not position the equipment so that it is difficult to operate the disconnecting device (appliance inlet of external power supply, equipment input connector)
- Install the system in a way that leaves the on/off switch easily accessible. It also serves as emergency stop (see section 10. OPERATION, CONTROLLER)
- Do not expose the product to water or moisture while energized
- Do not expose the product to extreme hot or cold temperatures
- Do not allow objects to fall on or liquids to spill on the product 9. Only clean the outer parts of this product. Use a damp lint-free cloth
- To reduce the risk of damage, unplug the product from the power source before connecting the components together
- In case of fire close to the microscope, please turn off and disconnect the system
- Use only the power supply provided from TAGARNO
- 13. Use only the provided power cord from TAGARNO
- Place the power cord so it is not subjected to damage
- The system is Class 1 and can only be connected to a grounded pow
- If the power cord does not fit into the power outlet, an appropriate power socket must be tolled by an authorized electrician
- Do not attempt to dismantle any parts of the system. Doing so will void the warranty
- The product does not contain parts that need maintenance from the user. The service is provided by TAGARNO
WARNINGS – PRESTIGE
- Do not position the equipment so that it is difficult to operate the disconnecting device (appliance inlet of external power supply, equipment input connector)
- If fluids are spilled on the product, turn the system off immediately by pulling the power supply out of the electrical outlet
- In case of fire close to the microscope, please turn off and disconnect the system
- Avoid subjecting the lens to sharp or hard objects
- Please do not connect the microscope, if visible damages appear
- Do not dismantle any parts of the microscope, except where noted in the manual
- Never disassemble or clean internal optical surfaces
- Use only the power supply provided from TAGARNO
- Always turn off the system before unplugging, when possible WARNINGS
- Do not touch the light source. It gets hot when using the product
- Do not look directly into the light source
- Connect the power plug to a grounded power outlet
WARNING: This is a Class A product. In a domestic environment, this product may cause radio interference, in which case the user may be required to take appropriate measures.
TIPS
- Avoid touching the lens glass
- Use both hands to adjust the height of the product
YOU HAVE RECEIVED
- Smart guide

- Camera arm with USB hub

- Rod, washers and screws

- Base with XY table premounted

- Controller and cables

- XPLUS control box

- Mouse

- Foot switch

- Hex keys

- Power supply

- USB cables

- HDMI – HDMI cable

- USB Memory Stick

ASSEMBLING
- Assemble base (with premounted XY table) with the screw. Tighten the rod horizontally on top of the base.

- Pull the release button and place the camera arm on the rod.

- Fasten the washer with the screw on top of the rod.

- The complete Trichinoscope with base and XY table.

CONNECTING
CONNECTING | TRICHINOSCOPE (1/2)
On the Trichinoscope is a USB Hub (1a-1d). Start by connecting this (2). Now, connect the mouse, USB key or USB hard drive to one of the other USB 2.0 ports in the USB Hub (1b).
If needed, connect the keyboard (not included) to the USB Hub (1c). Please note that the keyboard needs to be HID compliant. If using a barcode scanner, connect this as well (3).
Connect the control box to the foot switch and then the foot switch to the Trichinoscope using D-SUB cables (4).
Now, connect the monitor (5) and if neither the USB key nor USB hard drive have been connected to the USB Hub, connect the Ethernet LAN (6). Then, connect if needed USB 3.0 (7) and finally the power supply (8).
| Connector | Description | Type | Connect to/with | Specification |
| 1 | USB Hub | USB 2.0 Type A Socket | Connector 2 (USB 2.0 input) Mouse USB stick USB hard drive Keyboard (if needed) | USB 2.0 Host. Output: 5V 500mA |
| 3 | USB 2.0 input | USB 2.0 Type A Socket | Barcode scanner | USB 2.0 Host. Output: 5V 500mA |
| 4 | D-SUB | D-SUB 9-Pin Female | Foot switch, Control box (XPLUS) is connected to the foot switch | Output: 3.3V 6A Max Use only control boxes supplied by TAGARNO |
| 5 | Output | HDMI Standard Type A | Monitor | HDMI Out 1080p60 |
| 6 | Ethernet | RJ-45 | Ethernet wall socket | Ethernet LAN, 100BASE-TX/1000BASE-T |
| 7 | USB 3.0 output | USB 3.0 Type B Socket | Computer | USB 3.0 Device. Self-powered |
| 8 | Power supply (DC) | DC Jack | Power socket | Input: 12V 1.7A Use only the power supply provided by TAGARNO: Brand/Model: Mean Well/GSM40A12 Protection Class I Input: 100-240V 1.0-0.5A, 50/60Hz Overvoltage category ll Output: 12V 3.34A Max |
CONNECTING | XY TABLE & CONTROLLER (2/2)

| Connector | Description | Type | Connect to/with | Specification |
| 9 | D-SUB | D-SUB, 15-pin | Controller (17) | |
| 10 | Micro-USB | Micro-USB, Male | USB-Hub (1d) | |
| 11 | D-SUB | D-SUB, 9-pin | Not in use | RS-232 |
| 12 | D-SUB | D-SUB, 9-pin | Not in use | RS-232 |
| 13 | DIN 5-Pol, Female | Power supply | Input: 24V 0.5A Use only the power supply provided by TAGARNO: Brand CINCON ELECTRONICS CO. LTD. Model: TRH70A240, Protection Class I Input: 100-240V ~ 1.5A, 50/60Hz Overvoltage category ll Output: 24V 3.0A | |
| 14 | Mini-DIN 8-Pol, Female | Not in use | Proprietary protocol | |
| 15 | USB 2.0 | USB 2.0 USB-B, Female | TAGARNO Trichinoscope | USB 2.0 Device (Self-powered) |
| 16 | D-SUB | D-SUB 15, Female | Not in use | Proprietary protocol |
| 17 | D-SUB | VGA D-SUB 15, Female | XY table (9) | Proprietary protocol |
OPERATION – TRICHINOSCOPE
OPERATING THE TRICHINOSCOPE | ADJUSTMENTS AND POWER (1/5)
- Place the camera arm in the appropriate height according to the lens you are using.

- Adjust the friction according to your personal preference.

- Turn power on/off.

OPERATING THE TRICHINOSCOPE | CONTROLLER (2/5)

The controller connects the microscope to the XY table. By communicating with the controller, the microscope will systematically display all grids in the larval counting bassin.
- The controller must be turned on alongside the microscope when using the system..
- The power indicator will be green when the controller is turned on.
Control panel
The indicators of the controller and its power button are clearly marked on the illustration above. Indicators and how to operate them are explained below.
| Indicator | Name | Color | Meaning/action |
| 1 | Status indicator | Red | Lights up when there is an error on the controller or XY table |
| 2 | Transmission indicator | Yellow | Lights up when the controller sends data to the microscope |
| 3 | Receiver indicator | Yellow | Lights up when the controller receives data from the microscope |
| 4 | Power indicator | Green | Lights up when the controller is turned on |
| 5 | Power on/off | – | Press the button to turn the controller on/off. The button can also be pressed to act as an emergency break if fingers or objects get stuck in the XY table. |
OPERATING THE TRICHINOSCOPE | TRICHINOSCOPE APPLICATION (3/5)
This TAGARNO Trichinoscope is based on a TAGARNO PRESTIGE and a motorized XY table with an installed Trichinoscope application.
Larval countin basin
Regular larval countin basins measuring 180×40 mm are not recommended when using this application. Partly because of the dimensions, but also because of the thickness of the lines separating the grids. These may create shadows that hide the content of the larval counting basin. For that reason, TAGARNO has developed a special larval counting basin to be used with the application and Trichinoscope. The basin has the same area, but measures 120x60x30 mm and the grid separation is replaced with dots in 20×10 mm intervals.
Inspection procedure
Place the larval counting basin on the XY table and adjust if needed until the dot in the basin (marked in red) is visible in the bottom left corner (blue rectangle). The table then performs a live scan of the basin based on the route below.
Figure 1: Illustration of larval counting basin with dot grid, route and included breaks
Fully drawn green arrows show the route during which the operator attentively must scan the sample. The punctured green arrows show when visual inspection is not needed. P1-P7 refer to integrated breaks during which the operator can rest their eyes before starting next inspection section.
Once the XY table has returned to position P1, a new larval counting table can be placed on the table and a new inspection can begin.
OPERATING THE TRICHINOSCOPE | TRICHINOSCOPE APPLICATION (4/5)
The Trichinoscope application has two inspection modes: Automatic and Manual. During Automatic inspection mode, the larval counting basin is displayed along the route depicted on Figure 1. During Manual inspection mode, the operator can move the basin around using the left/right/up/down button on the control box.
The scroll wheel on the mouse can be used for zooming in/out. A click with the mouse on an on-screen object will move the basin to center this object on the monitor.
Below, the status bar of the Trichinoscope application, which is visible in the top right corner of the monitor, will be explained.
Automatic inspection mode

Standard display
To the left of the application status bar is the current magnification level (here, on a 24” monitor). The middle value refers to where on the route (P1-P7) the Trichinoscope is currently at. Click arrow-down to open a detailed route and progress display (See image below).
Detailed route and progress display Click arrow-up to close detailed display.
Manual inspection mode
The detailed route and progress display are always visible and more clearly marked with this inspection mode.
The blue marking shows the route that has already been completed. The yellow marking shows the current route during which manual inspection mode was activated. The white rectangle marks the current zoom in the larval counting basin.
Use the scroll wheel to zoom in/out.
Manual inspection mode can be deactivated using the center button on the control box, right mouse button or right foot switch. Afterwards, the basin will return to its latest pause position (here, P2).
Adjusting the larval counting basin start position
At position P1, the start position of the basin may need to be adjusted. To do so, do the following:
- Press once on this shortcut button on the control box and follow the on-screen instructions:

The adjusted start position is saved and will be used for all future inspections.
OPERATING THE TRICHINOSCOPE | TRICHINOSCOPE APPLICATION (5/5)
- Control box
Used for switching inspection mode, operating during manual inspection mode, adjusting focus height and light source intensity. - Application shortcut
Press this button to start/restart the Trichinoscope application. During P1, this button can also be used for adjusting the start position. - Multi function buttons
- A short press to the center button starts/continues Automatic inspection mode and the screening of the basin.
- Click left/right/up/down to activate Manual inspection mode during which the larval counting basin will move freely in all directions.
- A long press on the center button closes the Trichinoscope application.
- Press and hold this button to move camera focus towards the top of the liquid in the larval counting basin.
- Press and hold this button to move camera focus towards the bottom of the liquid in the larval counting basin.
- A short press on this button opens the settings of the light source underneath the larval counting basin.
- Choose between 16 intensity settings by clicking the left right multi function button.
- A long press will turn the light source above the larval counting basin on/off.
- Foot switch
The foot switch can be used during Automatic inspection mode.- Pause the live scan.
- Start/continue the live scan and screening of basin.
- Mouse
Used for closer inspection of interesting areas on the monitor.- Left : Move the mouse to the area on the screen that needs to be inspected closer and click the left mouse button. This activates the Manual inspection mode and the XY table will move to center the selected area on the monitor.
The field of view will simultaneously change from 21 mm to 7.5 mm to magnify the selected area.
Use the scroll wheel to zoom further in. - Scroll : Zoom in and out. When changing zoom, inspection mode will be changed from Automatic to Manual.
- Righ : Start/continue live scan and screening of basin. Will also deactivate Manual inspection mode.
NB! With this solution, you have also received a wireless mouse. Read the manufacturer’s manual before using this product.
- Left : Move the mouse to the area on the screen that needs to be inspected closer and click the left mouse button. This activates the Manual inspection mode and the XY table will move to center the selected area on the monitor.
OPERATION – GENERAL
GENERAL OPERATION | XPLUS FHD (1/2)

XPLUS FHD Control box for TAGARNO FHD functions. Do only connect equipment distributed by TAGARNO.
Dimensions
H: 45mm/1.8″ | W: 120mm/4.7″ | D: 150mm/5.9″.
On screen display (OSD)
The on-screen display provides you with the relevant information when you push a button on the control box or Setup menu.
For instance if you change the level of magnification, the white balance, iris, etc. In this way you always know which function you are activating and which parameters you are using.
Zoom
Push this button on the control box to zoom in.
Push this button on the control box to zoom out.
The magnification level will show via On Screen Display.
Manual and Auto exposure mode
Open current exposure mode menu with key arrows up and down in standard magnification mode or any active application. Then, navigate the menu with arrows up and down and adjust each setting with key arrows left and right.
Switch between Manual and Auto exposure mode with a short press to the round center button.
In Manual exposure mode, you can manually adjust the iris, gain and exposure time with key arrows left and right. Activate advanced camera settings in the microscope camera settings to also enable contrast, saturation, sharpness and noise reduction adjustment.
These settings will also be activated in Auto exposure mode. Otherwise, exposure compensation is the only setting visible. Iris, gain and exposure time will automatically be adjusted to recommended settings and cannot be adjusted in this mode.
Wait a few seconds for the menu to close and save your settings.
Manual focus
Turn autofocus off by pushing both zoom buttons (plus and minus) on the control box at the same time until you hear a beep. You can now adjust focus manually with the help of the zoom buttons.
Push this button on the control box to adjust focus if you wish to focus on something very close.
Push this button on the control box to adjust focus if you wish to focus on something that is farther away.
To turn the autofocus on again, simply push both zoom buttons (plus and minus) at the same time until you hear a beep. The focus values will show via On Screen Display.
Setup menu
Access the Setup menu by pressing the round center button for 1 second. See separate section regarding the Setup menu.
GENERAL OPERATION | XPLUS FHD (2/2)
Snapshot function
To take a picture and transfer it to USB or your microscope internal storage, press the image capture button until you hear a beep. Long press on the same button will save an image with graphics, causing the live image to freeze for a few seconds. This button also turns Auto Snapshot on/off when activated via the Setup menu.
When taking a picture, an information window will appear for a few seconds showing the file name and storage location.
Save image on USB memory stick
The image will be saved on the inserted USB memory stick. However, if your USB memory stick is not compatible with your microscope, a pop-up warning will instead ask you to format your USB memory stick (for more information, see section 4 in Setup Menu).
When clicking OK, a second pop-up will ask you to confirm your selection. All files on the USB memory stick will be deleted once formatting begins. Formatting time will vary.
Press the image capture button again to take a new photo and save it directly to your USB memory stick.
Save image on microscope
If a USB memory stick is not attached, the image is saved internally on the microscope, provided the share file mode is turned on. Otherwise, an error message will appear and you are not able to save images.
To access saved files, see manual section ACCESS SAVED FILES.
Preset Function
To save a favorite setting, press the “P” button.
A Preset Manager menu appears. Here you can choose which of the 10 presets to use/overwrite. This is done by marking and clicking the right hand icon to save the given preset. To prevent users from accidentally overwriting a saved preset, lock presets in the microscope general settings.
To use a preset, simply press “P” on the control box and press the center button to choose the preset you want to recall. Alternatively, use key number 0-9 on a keyboard or numpad. The preset values will show via On Screen Display. To rename a preset, choose the given preset in the Preset Manager and press F2. Complete the renaming by pressing “Enter”. Please note that presets can be renamed regardless of whether the presets are locked or not.
Laser pointer (TAGARNO FHD TREND)
Press this button to turn the laser pointer on/off.
You will hear a warning when turning the laser pointer on. NB! Never look directly into the laser pointer. The laser pointer can only be used with lenses +3, +4 and +5.
If you are using another TAGARNO unit than TAGARNO FHD TREND, a window on the screen will provide you with information.
Light on/off
Press and hold this button to turn the light on/off.
Application shortcut
Program an individual application shortcut by long-
pressing the button and choosing a listed application.
You are now able to quickly access this application by short-pressing the button.
Factory default directs to the Ruler application with both horizontal og vertical ruler activated.
Multi Function Buttons
When the Setup menu is deactivated, you are able to use the Multi Function Buttons to control the iris, gain and exposure time.
Press the center button to switch between auto and manual exposure mode.
The setup menu in your TAGARNO FHD microscope provides you with 2 entrances to setup your microscope exactly as you like it.
Access the Setup menu by holding the round center button on the XPLUS FHD control box until the Setup menu appears.
The Setup menu contains 6 submenus:
- Camera settings
- General settings
- Applications
- Files
- Information
- On/off
To navigate in the set-up menu, use the multi function buttons on the control box.
When applicable, sliding the button to the right, will activate the feature. Sliding the button left will deactivate the functionality.
Exit setup menu
You can always exit the setup menu by pressing the center button on the control box for 1 second or by choosing Exit in the Setup menu.
Same procedure is valid regardless of the menu option accessed.
CAMERA SETTINGS
- White balance calibration
Perform an automatic white balance adjustment in order to get colors displayed correctly on screen. There must be a white object present in the camera’s field of view when the white balance is being adjusted. A white balance calibration is made each time the camera is turned on to adjust to the given light conditions.
NB: If the camera’s field of view does not contain a white object, when the unit is turned on, the white balance will be incorrect and it will be necessary to perform the white balance adjustment process as described previously. - Optimal working distance
This setup works in 2 steps and needs to be carried out on a flat surface. Follow the on-screen directions to find the optimal working distance. The magnification settings prior to performance will be restored. - Close-up Lens
Indicate which lens is mounted on your TAGARNO microscope,
to get the right magnification levels displayed in the On Screen Display when zooming in and out. - Start magnification
Choose the start magnification level you want your TAGARNO microscope to automatically set when turning your system on. - Lock magnification
Lock your magnification level, so your microscope is always
working at your start magnification level and you are not able to manually zoom in/out. - Advanced camera settings
When activated, the advanced camera settings can be modified in detail for optimum visual inspection result. Deactivated by default. - Wide dynamic range
When this option is selected and auto exposure mode is active, the camera uses individual exposure settings for dark and light areas. This option can be useful to reduce glare when inspecting reflective objects. - Picture flip
Select if you want to display your image on screen as placed below the camera or flip it 180 degrees. - IR filter
Turn Infrared filter off when using Infrared ring light.
To use regular ring lights turn the Infrared filter on. - White balance calibration at LED light change
Switch on if you want an automatic white balance calibration to be performed when LED light is changed. Deactivated by default. - Video format
Choose between various available video formats:
1080p60 / 1080p50 / 1080p30 / 1080p25 - Computer view
Choose between Camera only (default) and View all. If View all is selected, menus and applications will be overlayed on the live video of the USB 3.0 output. This feature allows you to use a computer to display the microscope live image and screen share the output during video conferences. - Image format
Choose between different image formats when saving an image. Available formats are TIFF, PNG, JPG or BMP - Image prefix
Replace the default image prefix (img_) preceding the date and time stamp in filenames of captured images. This feature requires an attached keyboard.15. - Assign image name
When this setting is active, the microscope will prompt for an image name before storing a captured image.
NB! When using an attached scanner to name captured images on the TAGARNO FHD microscopes we advise that the scanner is connected directly to one of the two USB ports on the microscope.
It is not recommended to connect the scanner to an attached USB Hub unless it has been thoroughly tested. The communication through some hubs can unfortunately introduce data loss resulting in one or more random characters missing in the scanned image name. - Image preview
This feature allows users to quickly inspect and capture images of new samples. When an image is captured the default behavior is to preview the image at the center of the display for 5 seconds. Image preview can now be disabled, which will display a more discrete text box for 3 seconds.
GENERAL SETTINGS
- Ruler color
Set the ruler color to your preferred color choice to separate it from your displayed object. Choose between 6 different colors: Yellow, Blue, Red, Black, White and Green. The chosen color will also be used in the Verification Lines app (see section 3, APPLICATIONS). - Lock presets
When this feature is enabled, users are prevented from accidentally overwriting presets in the Preset manager. - File share mode
Activate File share mode to save images to the internal storage of the microscope. The images can then be accessed via computers on the same network as the microscope.
To access photos saved on the internal storage, see section ACCESS SAVED FILES.
NB: To minimize security risk, it is highly recommended to disable SMB 1.0 support on any Windows based operating system on your corporate network. You do this by accessing Programmes and Features in your Control Panel. - Auto capture mode
To automatically capture images at a certain interval, activate the auto image capture mode. - Auto interval
Set the function to automatically capture images at a certain interval. Intervals start from 2 seconds and up. Start/stop the interval capturing by pressing the image button on the control box. - Monitor auto detect
Turn off to manually set monitor width - Monitor width
Manually set your monitor width, if you do not wish to use the automatic monitor auto detect, which is enabled by default. This automatically changes the magnification level shown in the OSD. Please note that manually changing the Monitor width while Monitor auto detect is enabled, will disable the Monitor auto detect function. - System units
Choose to display metric or imperial units when using the microscope. - Numeric format
Here you can select the numeric format based on your preference. Choose between 1,234.56, 1.234,56 or 1 234,56. - System language
The following languages are available as system language:
Chinese, Danish, English, French, German, Hungarian, Italian, Japanese, Korean, Polish, Romanian, Russian and Spanish. - Keyboard layout
Select your horizontally language by pressing buttons left or right on the XPLUS control box. The available languages are listed alphabetically. The microscope is by default set to GB. The available languages are:
AF, AL, AT, BE, BR, BW, CA, CD, CZ, DE, DK, EE, ES, FI, FR, GB, HR, HU, IS, IT, LT, LV, ME, MT, NL, NO, PH, PK, PL, PT, RO, RU, SE, SI, SK, SN, TZ, US, VN and ZA. - Foot switch configuration
With this function, you can choose between Zoom Only and Zoom/Focus on the foot switch.
Zoom/Focus is the default configuration. Setting the option to Zoom Only allows you to zoom in/out with the foot switch, even if the microscope is set in Manual focus mode by the control box. - Scale bar
Scale bar indicates the size of an inspected object. The scale bar will operate in standard magnification and in all activate applications, except for Verification lines and Measurement application. The scale bar will adjust to match current magnification level. Activated by default.
NB: The scale is approximate and does not take lens distortion into account. - Time
Set the current time, which will affect the time registered when saving images. - Date
Set the current date, which will affect the date registered when saving images.
APPLICATIONS
30-day trial license
Select any of the unlicensed applications to start your 30-day trial license. This allows you to test the apps for free for a period of 30 days.
You can see the state of the Trial license in the System Information of the microscope.
Once the trial license has ended, only purchased licenses will remain available. You can of course purchase full access to all apps by contacting your distributor.
Manuals and videos
Go to www.tagarno.com/productmanuals to find application manuals and tutorial videos.
- Focus stacking
In the Applications menu point, you are able to turn on the Image Focus Stacking feature, enabling you to stack images with different focuses on top of each other, creating one ultra-sharp image.
For more info, see manual section STANDARD APPS. - Measurement application
This application enables you to perform precise measurements such as line, radius or angle measurements directly from the microscope. - Ruler
Turn the Ruler application on horizontally, vertically or both directions and get a ruler displayed on top of your live image on screen. - Watermark
Create an info field on captured images with an image prefix, time stamp, horizontal field of view, microscope model plus serial number and/or import and add a custom defined watermark. The watermark will then appear on all captured images.
For more info, see manual section STANDARD APPS. - Verification lines
This application provides you with an opportunity to quality check objects based on accurate calibrated measures by placing vertical and/or horizontal lines as a layer on top of your object, directly from the microscope. - Image analysis
Choose one of the three Image Analysis apps in the drop down menu when entering this application: Color analyzer, Particle analyzer and Speck Counter. - Image comparison
The app enables you to compare a sample or live image to a reference image in various ways. - DXF overlay
Import a DXF file and add it as overlay on top of your live image. You can also search for component names in the DXF file with this app. - PNG reference
Import a PNG file and add it as overlay on top of your live image. The PNG file can be recalled via the Preset feature. - Trichinoscope application
Use this application with a TAGARNO Trichinoscope to inspect pork meat for trichinella parasites.
FILES
- File manager
Access files stored on the microscope or a connected USB memory stick directly on the microscope. Rename, search, copy, move (from folder to folder or from USB memory stick to internal storage and vice versa) and delete files, all without using a computer.
Images (captured on or tranferred to the microscope) can be viewed in full screen or preview mode. The latter allows the images to be used as reference for future inspections.
NB: If the DXF overlay app is available, selecting a DXF file will open the DXF overlay app with the selected DXF file.
Changes to preview mode
In preview mode, the entire photo will visible in a small window. The display scale is visible in the top left corner of the preview window. Resize the window with the mouse if needed.
Change the display scale of the photo with the scroll wheel on the mouse or right click on the area of the photo you want to see in scale 1:1. Use scroll bars or drag the photo with the mouse to adjust what is visible. It is also possible to zoom in further by using the scroll wheel again.
Right click during scale 1:1 display to return to default preview display mode or right click at scales higher than 1:1 to return to scale 1:1 display.
Navigation
Navigate the File manager menu with the XPLUS control box or with
a mouse or keyboard (if connected). For navigation help, press the “P” button on the XPLUS control box or press F1 on the keyboard to open the help window in the bottom left corner of the monitor. Similarly, hover over the menu icons with the mouse to show tool tips.
NB: When File manager is open, it is not possible to change magnification level or short pressing the Image capture button on the XPLUS control box to save photos without graphics. Long pressing this button to save with graphics is however still supported. - Storage information
When choosing this function, an information window will show the internal storage capacity on the microscope and, if connected, the USB memory stick. - Format USB storage
This TAGARNO FHD device is designed to only support USB storages with a FAT32 formatted file system. If your USB storage does not currently have this file system, use this function to format the USB storage. A second pop-up will ask you to confirm your selection. Please notice that all files on the USB memory stick will be deleted once formatting begins. Formatting time will vary.
INFO
NB: An orange dot next to to the Info menu icon indicates that a new firmware is available and a system update should be performed.
- System information
This enables you to see model number, serial number, firmware versions, URL path to download the latest firmware and product manuals, state of the Trial license, all permanently installed licenses and other information about the product. - Check for updates/Install updates
Check for available firmware updates if the microscope is connected to a network. If a new firmware version is available for installation, see separate section about System update for more information. If the microscope has already detected that a new firmware update is available, the text will change from Check for updates to Install updates and an orange dot will appear next to it. - System update
See separate section about System update. - Restore factory default settings
Restore the system to the factory default settings, all your personal settings will be erased, including calibrations and images. - Ruler calibration
Perform a linear calibration of the Ruler app using printable TAGARNO calibration rulers if the mounted lens is not available in the microscope camera settings. If a calibration is not performed, the Ruler app will be inaccurate. Supported lenses are +3, +4, +5 or +10.
NB: Make sure to use the calibration ruler matching the mounted lens as different lenses require different rulers.
NB: The system can only support one +10 lens at a time.
OFF
- Power off
Turn the TAGARNO microscope off.
Menu options, layout and messages might slightly vary from one version of this microscope to another. Please contact your TAGARNO distributor if you have any questions regarding your TAGARNO microscope.
STANDARD APPS
STANDARD APPS (1/2)
- FOCUS STACKING
With Focus stacking, you can stack images with different focuses on top of each other to create one ultra-sharp image.- Magnification level
Set the magnification level of choice by using arrows up or down. The actual magnification level is displayed inside the zoom option and can also be typed if a keyboard is connected.
Plus/minus buttons on the control box are active as an alternative to using the onscreen zoom menu point. - Focus 1: Focus setting far
Manually set focus to the part of the object farthest away. - Focus 2: Focus setting near
Manually set focus to the nearest part of the object. - Steps
Choose number of images to stack between 5 and 50. Available intervals: 5, 10, 15, 20, 30, 40, 50 - Quality
- Normal: This is the default fast mode with a typical processing speed of 8 seconds for 15 images.
- High: In this mode the processing speed is reduced and 15 images can take up to 13 seconds.
By extending the image processing time, visual artifacts are reduced and the image quality increased.
- Start
Press Start to start the process. Wait until the menu displays Done. - Save image
Choose this option to save the image. The image save settings will adapt from setup chosen from the general camera settings.
To access saved files, see manual section ACCESS SAVED PHOTOS. - Exit
Close application.
NB: Long pressing the center key on the control box will close the Focus stacking application or cancel an ongoing focus stacking.
All current settings used during Focus stacking, except zoom level, are persisted during power down.
- Magnification level
- RULER
With Ruler, you can add vertical and/or horizontal rulers in a variety of colors on top of your live image.- Get started with the app
Before using the application, make sure to specify which lens is currently mounted on the microscope in the microscope camera settings.
If the mounted lens is not available in the microscope camera settings, please perform a ruler calibration. For more information, see section 4 in SETUP MENU. - Ruler direction
Turn the Ruler application on in the Applications menu with the left and right arrow buttons on the XPLUS control box. Choose between Horizontal, Vertical or Both.
Turn off
Turn the ruler off by once again accessing Ruler option under the Applications menu point and choose Off.
System units
Choose your preferred system units (metric or imperial) under the General settings menu point in the setup menu.
Ruler color
Set the ruler color to your preferred color to separate it from your displayed object. Go to the Ruler color option under the General settings menu point in the setup menu.
Choose between 6 different colors: Yellow, blue, red, black, white and green.
Manual focus setting
When the Ruler is chosen, the system will automatically start in manual focus setting to focus on the part of the object furthest away.
If needed, manually adjust the focus by adjusting the height of the microscope to get the desired object in focus. Then, use the zoom in and zoom out buttons to fine adjust the focus.
- Get started with the app
STANDARD APPS (2/2)
If encountering problems finding focus, please use “Optimal Working Distance” in the microscope camera settings menu, before using the Ruler app.
Save image with or without graphics
It is also possible to save an image with the Ruler graphics by long-pressing the image button on the control box. Short-pressing the button will save the image without graphics.
To access saved files, see manual section ACCESS SAVED PHOTOS.
WATERMARK
With Watermark, your saved images will have an info field containing specifications from the time of use (time stamp, horizontal field of view, microscope model and serial number) and/or a custom defined watermark (e.g.: logo or CONFIDENTIAL).
When activated, the watermark will appear on all captured images.
Creating a Watermark
To use Watermark, create a PNG file that measures 1920x1080px and give it a file name ending with “.png”. We recommend using GIMP, which is a free graphics editor or Adobe Photoshop.
- Enable or disable all settings
Choose to enable or disable all watermark settings at the same time. - Enable or disable info field
Enable or disable an info field, automatically stating an image prefix (default or as stated under Camera settings), time stamp, horizontal field of view plus microscope model and serial number. - Enable or disable a custom watermark
Choose to enable or disable the latest imported custom watermark. - Import a custom watermark
At this stage, you are able to import a custom watermark by inserting a USB memory stick into the microscope containing a watermark file.
It is possible to import only one custom watermark at a time. This means that if you wish to change the current watermark, you need to follow the steps above to import a new watermark.
NB: It is only possible to import watermarks from USB storages with a FAT32 formatted file system. If your USB storage does not currently have this file system, a dialogue box allows you to format the USB storage. A second pop-up will ask you to confirm your selection. Please notice that all files on the USB memory stick will be deleted once formatting begins. Formatting time will vary.
After importing, you can see a preview of the watermark before closing the dialogue box.
To access saved files, see manual section ACCESS SAVED PHOTOS.
ACCESS SAVED FILES

Access files directly on microscope
Use File manager (see Setup menu section) to access files saved on the internal storage of the microscope or a plugged in USB memory stick without using a computer.
NB: To save images to internal storage of the microscope, activate File share mode in the microscope setup menu.
Access files on USB memory stick via computer
Unplug the USB memory stick from the microscope and insert it in a computer to access photos saved on the USB memory stick.
Access files on internal storage via computer
To access files saved on the internal storage of the microscope via a computer, the microscope itself must be connected to a network. Use one of the two methods below:
- Method 1
- Connect the cable from the wall socket to the microscope. Then, connect a computer to the same network either by cable or WiFi.
- Method 2
- Connect a computer and the microscope to a stand-alone router without internet acess to create a closed network. This solution is useful if you cannot connect the
microscope to your network
Regardless of method, verify that an IP address of the microscope is displayed in the microscope System information. If no IP address is stated, check that all cables are connected correctly or consult a network administrator.
Afterwards, follow the description below matching your operating system to access the files:
NB: xxxxx denotes the microscope serial number which is available on the product label and via the System information window in the microscope Setup menu.
Access files with Windows operation system:
- Open the File Explorer and type: \\tagarno-snxxxxx
Access files with mac operation system:
- Open the Connect to server window and type: smb://tagarno-snxxxxx/
- Press connect
In both cases, a window will appear and you can type:
- User name: \public (Windows) or public (mac)
- Password: pub1234
SYSTEM UPDATE
SYSTEM UPDATE (1/4)
This is a step by step guide to perform a system update on your TAGARNO.
A system update can either be performed online or with a USB memory stick. See Online system update section or Manual system update section for more information on the two processes.
ONLINE SYSTEM UPDATE
To perform an online system update, the microscope must be connected to a network. For more information, see Connection section.
When a new firmware version is available, an orange dot next to the Info menu icon will appear. The menu option Check for updates will also change to Install updates and an orange dot will also appear here.
To perform the system update, follow this step by step guide:
- Step 1: Start installation
1. Access the Setup menu by holding the round center button on the XPLUS FHD control box until the Setup menu appears. Note that there’s an orange dot next to the Info menu icon. This indicates that a new firmware is available and a system update should be performed.
2. To navigate in the Setup menu, use the multi function buttons on the XPLUS FHD control box
3. Go to Info menu icon in the top menu, navigate to Install update and choose it by pressing the round center button.
- Step 2: Perform installation
Screen dialogues will now guide you through the update process.- 1. A New update available window appears. Press OK to start the download and installation process.
Note: At this point, the update process can be cancelled safely by pressing Cancel.
NB: Do not switch off or disconnect the microscope during a system update. This will damage your device and render it useless. - 2. When the system update is complete, the microscope will automatically restart.
- 1. A New update available window appears. Press OK to start the download and installation process.
- Step 3: Verify installation
- 1. Verify the system update by checking that the Application version (displayed in the Setup menu – Info – System information) matches the recently installed system update.

- 1. Verify the system update by checking that the Application version (displayed in the Setup menu – Info – System information) matches the recently installed system update.
- Step 4: Access new application
If a new application is available (either through the 30 day trial license of after application installation), a new menu point will appear in the Setup menu under pt. 3 Applications, showing the new application.
Note: To activate an application after installation, you need a unique license key generated from the microscope serial number.
See the license activation section for further explanation on how to activate your license.
After activating your license, you are now able to access and use the new application or feature.
Please see the user manual for further information regarding the use of TAGARNO applications.
If you have trouble performing a system update, please contact the TAGARNO distributor from which you have purchased the product or send an e-mail to [email protected].
MANUAL SYSTEM UPDATE
To perform a system update manually, a system update file needs to be installed directly on the microscope.
Note: In some cases, it is necessary to complete more than
one system update processes, if an update contains substantial improvements and considerable file sizes. The microscope will notify you if this is needed.
Follow the few steps below to perform a system update to
your TAGARNO microscope.
- Step 1: Download installation file
- Locate and access the installation file(s) via this link:
www.tagarno.com/firmware-download - Download the installation file(s) to a USB memory stick (FAT32 formatted)
- If the file(s) is in a ZIP folder, unzip the files and make sure that only the correct installation file(s) or previous system update files appear on the memory stick.
- Locate and access the installation file(s) via this link:
Note: File names always have the following format: tagarno_fhd_system_vx_xx.image
tagarno_fhd_system_vx_xx.system
tagarno_fhd_system_vx_xx.update
(x_xx denoting the system version)
The installation file(s) is identical for TAGARNO FHD TREND/PRESTIGE/UNO.
- Step 2: Plug in the USB memory stick
- 1. Plug the USB memory stick into one of the two USB 2.0 inputs at the back of the microscope.
- Step 3: Start installation
- 1. The system update process is initiated in the Setup menu – Info System Update

- Access the Setup menu by holding the round center button on the XPLUS FHD control box until the Setup menu appears
- To navigate in the Setup menu, use the multi function buttons on the XPLUS FHD control box
- Go to the fourth menu point (Info) in the top menu, navigate to System Update and choose it by pressing the round center button
- 1. The system update process is initiated in the Setup menu – Info System Update
- Step 4: Perform installation
Screen dialogues will now guide you through the update process- A System Update Warning appears – Read the warning and press OK to start the system update.

Note: At this point, the update process can be cancelled safely by pressing Cancel.
NB: Do not switch off or disconnect the microscope during a system update. This will damage your device and render it useless. - When the system update file has been read and validated, information about the new version is shown. Wait for the system to update.

- When the system update is complete, the microscope will automatically restart.
Note: The microscope might switch off after restart. In that case, turn it back on manually.
- After restarting the microscope, the system might need to be updated again by following the same procedure as described above entering system update
- A System Update Warning appears – Read the warning and press OK to start the system update.
- Step 5: Verify installation
- Verify the system update by checking that the Application version (displayed in the Setup menu – Info – System information) matches the version of the system update file.

- Verify the system update by checking that the Application version (displayed in the Setup menu – Info – System information) matches the version of the system update file.
- Step 6: Access the application
If a new application is available (either through the 30 day trial license of after application installation), a new menu point will appear in the Setup menu under pt. 3 Applications, showing the new application.
Note: To activate an application after installation, you need a unique license key generated from the microscope serial number.
See the license activation section for further explanation on how to activate your license.
After activating your license, you are now able to access and use the new application or feature.
Please see the user manual for further information regarding the use of TAGARNO applications.
If you have trouble performing a system update, please contact the TAGARNO distributor from which you have purchased the product or send an e-mail to [email protected].
LICENSE ACTIVATION
After purchasing a TAGARNO application, you need to activate it with a unique license key file.
To activate a license key on your TAGARNO microscope, follow the steps below:
Note: The license can only be paired with the microscope which has the serial number stated in your license. The license can not be removed and transferred to another microscope.
- STEP 1: DOWNLOAD LICENSE KEY FILE
- You will receive an e-mail with a unique license key file after placing an order, receiving an activation code and requesting the license via www.tagarno.com/request-license
Note: If you are missing your license key file, please contact [email protected] to retrieve the file. - Download the license key file to a USB memory stick (FAT32 formatted)
- If the file is in a ZIP folder, unzip the folder and make sure that only the correct license file and no ZIP folders appear on the memory stick. Make sure to also place the license file in the root of the USB.
- You will receive an e-mail with a unique license key file after placing an order, receiving an activation code and requesting the license via www.tagarno.com/request-license
- STEP 2: PLUG IN THE USB MEMORY STICK
- 4. Plug the USB memory stick into one of the USB 2.0 inputs at the back of the microscope. Leave the other input empty during license activation.
- STEP 3: START ACTIVATION
- The activation process is initiated in the Setup menu – Info – System Update
- Access the Setup menu by pressing the round center button on the XPLUS FHD control box until the Setup menu appears
- To navigate in the Setup menu, use the multi function buttons on the XPLUS FHD control box
- Go to the fourth menu point (Info) in the top menu
- Navigate to System Update and choose it by pressing the round center button
- The activation process is initiated in the Setup menu – Info – System Update
- STEP 4: PERFORM ACTIVATION
- A System Update Warning appears – Read the warning and press OK to start the system update.
- Press OK and the update will be processed. Please do not press the control box unless the installation menu tells you to.
- STEP 5: ACCESS THE APPLICATION
After activating your license you are now able to access and use the new application.
Please see the user manual for further information regarding the use of TAGARNO applications and features.
If you have trouble activating the application, please contact the TAGARNO distributor from which you have purchased the product.
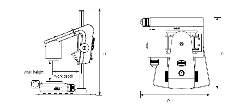
TECHNICAL SPECIFICATIONS
TECHNICAL SPECIFICATIONS | XY TABLE (1/3)

| Dimensions | H: 60.50 mm | |
| D: 195.35 mm | ||
| W: 294.10 mm | ||
| Weight | 2.2 kg/4.85 lbs | |
| Work area | 125 x 75 mm | |
| Resolution | 1 μm | |
| Reproducability | ± 5 μm | |
| Drive mechanism | Anti backlash with lead screw | |
| Linear-motion bearing | 3mm ball bearings | |
| Limit switch | X and Y | |
| Power requirements | Line voltage | 100 – 240V~ ±10% |
| Line frequency | 50/60Hz | |
| AC current consumption (typ.) | 50mA/240V~ | |
| DC current consumption (typ.) | 0.5A/24V | |
| Environmental conditions | Temperature | Storage: -5 to 60ºC |
| Operation: 5 to 40ºC | ||
| Humidity range | Storage: 20 to 90% RH non-condensing | |
| Operation: 30 to 80% RH at 31ºC, linearly decreasing to 50% RH at 40ºC | ||
| Altitude | 0 to 2000m above the ocean surface | |
| Pollution degree | 2 | |
TECHNICAL SPECIFICATIONS | TRICHINOSCOPE (2/3)

| Dimensions | H: 464mm/18.3″ | |
| D: 325mm/12.8″ | ||
| W: 275mm/10.8″ | ||
| Weight | 11 kg/24.25 lbs | |
| Camera resolution | FHD 1080p | |
| 1920×1080@25/30/50/60Hz | ||
| Camera zoom | 30x optical | |
| Lens | +10 (achromatic) | |
| Work height | Min: 27mm/1.06″ | |
| Max: 250mm/9.84″ | ||
| Work depth | 150mm/5.91” | |
| Auto Monitor Detect | Yes | |
| Plug connection | 2 x USB 2.0 Type A Socket | Ethernet RJ-45 |
| Control box , D-SUB 9-Pin Female | USB 3.0 Type B Socket | |
| Monitor output HDMI Standard Type A | Power supply DC Jack | |
| Power requirements | Line voltage | 100 – 240V 10% |
| Line frequency | 50/60Hz | |
| AC current consumption (typ.) | 200mA/100V 90mA/240V | |
| DC current consumption (typ.) | 1.7A/12V | |
| Environmental conditions | Temperature | Storage: -5 to 60oC / 23 to 140oF Operation: 5 to 40oC / 41 to 104oF |
| Humidity range | Storage: 20 to 90% RH non-condensing Operation: 30 to 80% RH non-condensing | |
| Altitude | 0 to 2000m / 0 to 6500ft above the ocean surface | |
| Pollution degree | 2 | |
TECHNICAL SPECIFICATIONS | OVERVIEW (3/3)
| RECOMMENDED MONITOR FORMAT | |||
| Panel format | 16:9 (Widescreen) | How to link | HDMI input |
| Response time | 2-8 ms | Signal format | FHD 1920×1080 |
PC REQUIREMENTS
| FULL HD 1080P @ 50/60HZ | ||
| OS | Desktop | Laptop |
| Windows 7, 8 or 10 (with DirectX 11) | ||
| Memory | 8GB | |
| CPU | Intel® Core™ i5 or i7 @2.4GHz, (4th generation named 4xxx or newer) | CPU: Intel® Core™ i5 or i7 @2.4GHz (4th generation named 4xxx or newer) |
| Hard Disc Space | 1GB required (SSD type recommended) | |
| Connections | USB 3.0 xHCI host controller (Intel chipset recommended) | |
| Integrated Graphics | Intel® HD Graphics 4000 | Intel® HD Graphics 4400 |
| Dedicated graphics card | AMD Radeon™, HD 7xxx Series with 2GB RAM | nVidia GeForce GT 740M with 2GB RAM |
| Monitor resolution | 1920×1080 | |
| FULL HD 1080P @ 25/30HZ | ||
| OS | Desktop | Laptop |
| Windows 7, 8 or 10 (with DirectX 11) | ||
| Memory | 4GB | |
| CPU | Intel® Core™ [email protected] or [email protected], (4th generation named 4xxx or newer) | Intel® Core™ i3 @ 3.2GHz, (4th generation named 4xxx or newer) |
| Hard Disc Space | 1GB required (SSD type recommended) | |
| Connections | USB 3.0 xHCI host controller (Intel chipset recommended) | |
| Integrated Graphics | Intel® HD Graphics | |
| Dedicated graphics card | AMD Radeon™, 1GB ram | nVidia GeForce GT 1GB RAM |
| Monitor resolution | 1920×1080 | |
MAINTENANECE
- Store and use the product in a dry, clean and ventilated room.
- Do not place the product in direct sunlight, next to a radiator/heater or some place where the system may be subjected to liquids.
- All plugs are designed to be used in one way only. Therefore, you should never use force when you connect the system.
- Remember to disconnect all elements if you intend to move the product.
- If you move the product from a cold to a hot room, you must wait at least an hour before you turn it on to avoid short circuits due to condensation.
- Remove the cables by pulling the plug itself – never by pulling the cable.
- If the product needs repairing, never do it yourself, contact your distributor.
- When cleaning the product, please turn off the system and wait untill the system has cooled off.
- Clean the product with a damp cloth. Never use strong cleaning agents or chemicals
- these may damage the microscope.
- Clean the lens regularly with isopropyl alcohol and a microfiber cloth or with the TAGARNO cleaning kit.
WARRANTY
Warranty terms for the product shall be as follows:
TAGARNO warrants that the product will correspond with the specification at the time of delivery and will be free from defects in material and workmanship for a period of 24 months
(2 years) from date of invoice from Supplier.
This warranty covers:
- a. The replacement of defective parts.
- b. All labour costs to exchange defective parts in product.
- c. Complete functions test of product before return to end user’s site.
- d. Return transport costs of product from TAGARNO to end user’s site.
The warranty only applies if the product is packed, shipped, stored, handled and maintained correctly.
Failures due to improper packing and transport are not covered.
Failures due to drops and sudden blows are not covered.
Failures due to storage and handling in extreme high or low temperatures are not covered.
Failures due to storage or handling in extreme high humidity are not covered.
LICENSE ALICENSE AGREEMENTGREEM
This TAGARNO product contains open source and third-party components. www.tagarno.com/license-agreement
ERGONOMIC COMMENDATIONS
lease be careful when carrying the product from one place to another.
Always lift the microscope with one hand around the rod and the other hand beneath the base. Please do not lift the microscope by grabbing the camera arm.

DECLARATION OF CONFORMITY
DECLARATION OF CONFORMITY (1/2)
PRODUCT
- MODEL TAGARNO PRESTIGE, motorized XY table
- ART Inspection camera unit
- MANUFACTURER
- NAME TAGARNO A/S
- ADRESS Sandøvej 4
- ZIPCODE/CITY 8700 Horsens
- COUNTRY Denmark
- PHONE +45 76251111
DESCRIPTION
TAGARNO A/S hereby declares that the product listed above is in compliance with the following European directives:
2006/42/EU Machinery directive
THE DECLARATION IS ISSUED BY
MANUFACTURER TAGARNO A/S
DECLARATION OF CONFORMITY (2/2)
PRODUCT
- MODEL 23TAGARNO FHD PRESTIGE | Type no.: 860000
- ART Inspection camera unit
- MANUFACTURER
- NAME TAGARNO A/SADRESS
- SADRESS Sandøvej
- 4ZIPCODE/CITY 8700 Horsens
- COUNTRY Denmark
- PHONE +45 76251111
DESCRIPTION
TAGARNO A/S hereby declares that the product listed above, consisting of a camera unit and a 12V power supply, is in compliance with the following European directives:
- 2006/25/EU Artificial Optical Radiation
- 2014/30/EU Electromagnetic Compatibility
- 2014/35/EU Low Voltage Directive
By conforming to the following harmonized standards:
- IEC 62471:2008 Risk Group Exempt
- EN 61326-1:2013Class A / Industrial Electromagnetic Environment
- IEC 61010-1:2010 IECEE CB Scheme Ref. Certif. No. NO103726
















































