Item Number: 5069604
Instruction Manual
5069604 Path 1-Light 10.5-in Textured Black
WARNING (To reduce the risk of fire, electric shock, or personal injury):
- We suggest installation by a licensed electrician.
- Please read the instruction carefully and save it as you may need it at a later time.
- Before you start, NEVER attempt any work without shutting off the electricity until the work is done.
» Go to the main fuse, or circuit breaker, box in your home.
Place the main power switch in the “OFF” position.
» Place the wall switch in the “OFF” position. - Mounting surface should be clean, dry, flat, strong enough and 1/4” larger than the canopy on all sides.
Any gaps between the mounting surface and canopy exceeding 3/16” should be corrected as required. - Make sure that the ceiling or wall can stand the weight of the lamp before installation.
- Make sure the voltage you are using is 120V. The maximum wattage is Type A, Max 60W per bulb.
- Keep the lamp away from acidic and alkaline substances in case of damaging the surface of the lamp.
- When replacing bulbs, you should turn off or unplug the lamp and you must wait until it is cool as bulbs get hot quickly.
- The safety instructions appearing in this manual are not meant to cover all possible conditions that may occur. It must be understood that common sense, caution and care must be used with any electrical products.
IMAGE FOR FINISHED PRODUCT:

TOOLS REQUIRED(NOT INCLUDED):
Before starting assembly and installation please prepare the needed tools as below picture

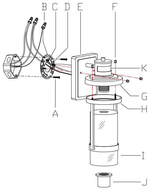
PARTS INCLUDING:
(C) Green ground screw (1)
(D) Mounting plate (1)
(E) Back plate (1)
(F) Knob nut (4)
(G) Lid (1)
(H) Iron frame (1)
(I) Glass shade (1)
(J) Socket ring (1)
(K) Sensor (1)

ACCESSORIES ENCLOSED:
(A) Mounting screw (2)
(B) Plastic wire connector (3)
ASSEMBLY & INSTALLATION INSTRUCTIONS:
- Carefully remove the fixture from the carton and check that all parts and accessories are included as shown in the above illustration.
- Turn off power
Before you start the installation, NEVER attempt any work without shutting off the electricity until the work is done.
» Go to the main fuse, or circuit breaker, box in your home.
Place the main power switch in the “OFF” position.
» Place the wall switch in the “OFF” position. - Make assembly

Step A1 »
Unscrew knob nuts (F) from back plate (E) and iron frame (H).
Then carefully insert iron frame (H) into lid (G), and secure them with knob nuts (F).
Step A2 »
Carefully pass the supply wires from the outlet box through mounting plate (D).
Secure mounting plate (D) to the outlet box with mounting screws (A).
Step A3 »
Make wire connections
Connect wires as below wires connection shown. PLEASE NOTE THAT GROUND WIRE IS BARE COPPER WIRE, NEVER CONNECT OTHER WIRES TO GROUND WIRES.
Connect ground wires according to the below chart

Connect wires according to the below chart
| Connect Black or Red Supply Wire to: | Connect White Supply Wire to: |
| Black | White |
| *Parallel cord (round & smooth) | *Parallel cord (square & ridged) |
| Clear, Brown, Gold or Black without tracer | Clear, Brown, Gold or Black with tracer |
| Insulated wire(other than green) with copper conductor | Insulated wire(other than green) with silver conductor |

* Note: When parallel wires (SPT I& SPT ll) are used. The neutral wire is square shaped or ridged and the other wire will be round in shape or smooth (see illus.)
Twist wires together with plastic wire connectors until tightly joined, and wrap each connector with approved electrical tape. Be sure that no wire strands are exposed and then carefully tuck all wires into the outlet box.
Step A4 » Align the holes in back plate (E) with the pre-assembled mounting screws, then attach back plate (E) to mounting plate (D) with the previously removed knob nuts (F). Hand tighten until snug.
NOTE: back plate (E) should be snug against the wall with knob nuts (F).
If not, remove back plate (E), adjust the threaded length of pre-assembled mounting screws on mounting plate assembly (D):
- Unscrew the pre-assembled hex nuts.
- Screw the pre-assembled mounting screws in or out of mounting plate (D).
- When the secure length is achieved, tighten the pre-assembled hex nuts and back to Step A4.
Step A5 » 1) Unscrew socket ring (J) from lid (G).
Then carefully place glass shade (I) on lid (G), and secure it with socket ring (J).
2) Install the bulb (Not included) (Please do not exceed the maximum wattage recommended on the socket.)
NOTE: Please use incandescent bulb, if using LED bulb, use dimmable LED light source.
4. Check everything is installed properly, then you could turn on the light. Enjoy!
ORDERING PARTS
Keep this sheet for future reference in case you need to order replacement parts. All parts for this fixture can be ordered from the place of purchase. Be sure to use exact wording from illustration when ordering parts.
CLEANING
To clean, wipe the fixture with a soft cloth. Clean glass with a mild cleaner (such as mild and non-abrasive soap). Do not use abrasive materials such as scouring pads or powders, steel wool or abrasive paper.
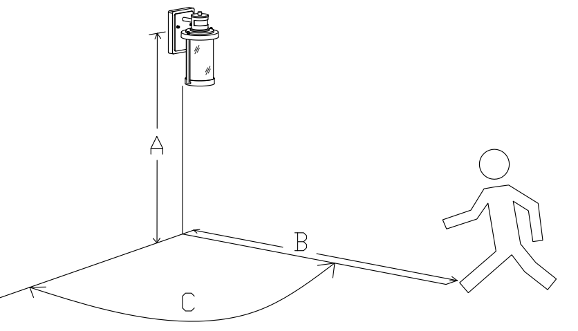
5. To use this light fixture with the sensor, please be sure to read this instruction.
Sensor Specification Details:
A: Suggested Mounting Height: 1.8 m ~ 2.2 m
B: Motion Detection Length: 35 ft (Max.)
C: Motion Detection Angle: 220° (Max.)
Working Temperature: -30~50°C

NOTE:
- For further information about A, B and C in the chart, please refer to the illustration.
- The above specification is measured at 25°C (mounted at the suggested height), and the actual use may vary in different situations.
Basic Functions Description:
- Start-up
First-time powered on, the light keeps at 100% brightness for several seconds and automatically enters Test Mode. - Test Mode
In Test Mode, the initial brightness of light is 40%, and increases to 100% (but only for several seconds) each time someone moves near the light. - Auto Mode
In Auto Mode, brightness maintains at 40% for all night (but the light turns off about 1 minute after being exposed to daylight).
When someone moves near the light, LED indicator flashes 3 times, and brightness immediately increases to 100% (but back to 40% without motion detection about 1 minute after). - Manual Mode
In Manual Mode, brightness maintains at 100% for 7-9 hours at night (but about 1 minute after being exposed to daylight, the light turns off and exit Manual Mode).
General Instructions:
» How to test if the Motion Detection Function works properly:
Solution: Test Mode allows you to check the light and test the Motion Detection Function for about 2 minutes. After that, it enters Auto Mode automatically.
» How to enter Test Mode again:
Solution: Turn your wall switch off, then turn it on after 5 seconds.
» How to skip Test Mode and enter Auto Mode directly:
Solution: At Test Mode, turn off your wall switch, and then turn on. When the LED indicator flashes quickly 6 times, it shows that light enters Auto Mode successfully.
» How to keep the light at 40% brightness for all night and 100% when someone is around:
Solution: Use Auto Mode
» How to keep the light at 100% brightness for 7-9 hours at night:
Solution: Use Manual Mode
» How to enter Manual Mode at Auto Mode:
Solution: When dark or at night, make sure the light is on at Auto Mode, then turn off and on your wall switch. When the LED indicator flashes quickly 6 times, it shows that the light enters Manual Mode successfully.
» How to check if the light is still at or already returned to Auto Mode after light off at daytime:
Solution: Do not turn off your wall switch and the light automatically turns on at Auto Mode when dark or at night.
» How to exit Manual Mode and return to Auto Mode when light on at Manual Mode:
Solution: Turn your wall switch off and on. When LED indicator quickly flashes 3 times, it shows that the light enters Auto Mode and already exited Manual Mode.
Or wait till daytime, the light automatically turns off about 1 minute after being exposed to daylight and exits Manual Mode. At this time, LED indicator should quickly flash 3 times.
+1 850 296 2377 Working hours : Mon – Fri 9:00 – 16:00 EST
[email protected]
















