
HONDA CIVIC 1.5T (2016-2021)
FRONT MOUNT INTERCOOLER
PRL INSTALLATION OVERVIEW
PRODUCT: PRL-HC10-IC PRL MOTORSPORTS FRONT MOUNT INTERCOOLER
FITMENT: 2016 – 2021 Honda Civic 1.5L Turbo
INSTALLATION TIME: Approximately 2 hours
NOTE: THIS ITEM DOES NOT REQUIRE AN ECU RE-CALIBRATION.
Please check that all components that are listed in the parts list have been supplied to you, and are correct. If you require any assistance or are missing components please email [email protected]. Please verify with a customer service representative before installing or returning the product.
PRODUCT DISCLAIMER:
The United States 48 State Compliant: California/New York Residents please see Prop 65. This is the Race Only product that is to be used solely for competition, it cannot be used on vehicles that are operated on public streets, roads, or highways. Its use is limited to closed-course and open-course racing that is formally sanctioned by a recognized racing organization. Any other use including recreational use could be in violation of local, state, and federal laws.
PRL Motorsports is not responsible for any vehicle damage or personal injury that may occur due to an installation error, product misuse, or removal of PRL Motorsports products. PRL Motorsports highly suggests that trained professional conduct the installation of all products. PRL Motorsports is not responsible for damaged products due to incorrect installation.
REQUIRED TOOLS:
The extension (6 – 12” Length)
10MM Socket
12mm Socket
1/4” Hex Socket (Dependant on End Tank Hardware Connection)
Torque Wrench
Pliers
Phillips Head Screw Driver
Flat Head Screw Driver
Clip Removal Tool

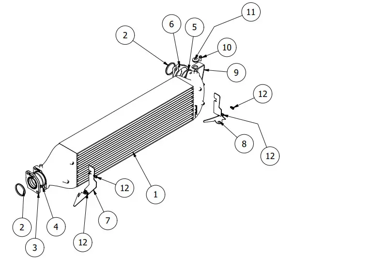
COMPONENT LIST
| # | PART # | QTY | DESCRIPTION |
| 1 | RAW-HC10-IC | 1 | 2016-2021 Honda Civic 1.5T Front Mount Intercooler |
| 2 | PRL-HC10-1C-ORING | 2 | Factory Spec Replacement 0-Ring |
| 3 | RAW-HC10-1C-V2-ADPT-STK-A | 1 | Stock Hot-Side Charge Pipe Adapter (Stock Charge Pipes) |
| 4 | MCM-9452K151 | 1 | Hot Side End Tank 0-Ring |
| 5 | MCM-9452K149 | 1 | Cold Side End Tank 0-Ring |
| 6 | RAW-HC10-1C-V2-ADPT-STK-B | 1 | Stock Cold-Side Charge Pipe Adapter (Stock Charge Pipes) |
| 7 | RAW-HC10-1C-BKT2 | 1 | Intercooler Air Guide (Passenger Side) |
| 8 | RAW-HC10-1C-BKT1A | 1 | Intercooler Air Guide (Drivers Side) |
| 9 | RAW-HC10-1C-BKT3 | 1 | Intercooler Mounting Bracket |
| 10 | BOLT-M6x1x16-FB | 1 | M6x16 Bracket Flange Bolt (Zinc) |
| 11 | MCM-9307K882 | 1 | Buna Rubber Grommet (11/16″ Hole) |
| 12 | MCM-92095A208 | 1 | M5x1Omm BHCS Bolt (For Air Guides) (Stainless) |
| 13 | BOLT-M6x1x35-FB | 1 | M6x6x35mm Flange Bolt |
| 14 | PRL-HCR-IC-STEN | 1 | Standard PRL Logo Stencil (Cardboard) |
Before Beginning Your Installation:
- Turn off the ignition. Loosen the battery terminal and disconnect the negative battery terminal cable. Allow the vehicle to sit for a minimum of 5 minutes to drain any remaining charge from the charging system.
NOTE: Disconnection of the negative battery cable erases pre-programmed electronic memory. We recommend saving any memory settings before disconnecting the negative terminal. Some radios will require an anti-theft code to be entered after the negative battery cable is reconnected.
Preparing Your Front Mount Intercooler:
- Set on an even, clean surface to ensure to no damage the intercooler while removing the front bumper. Reference the parts list and ensure all components are enclosed. If something is missing, please contact PRL Customer Support.
- The front bumper of the car will need to be removed to access the factory intercooler. If applying the stencil, follow the next 2 steps, if not, skip stepping 6
- Rotate and ensure you have the PRL Front Mount Intercooler facing the correct orientation. The driver’s side has the PRL logo engraved into the tank.

- PLEASE NOTE: If you are applying the PRL Logo utilizing our stencil, do so when the PRL Front Mount Intercooler is NOT installed. This is to avoid overspray onto the paint and trim.

- Open the hood. Start with removing the front bulkhead cover. There are (8) total clips holding this plastic piece to the front bumper/chassis.

- OPTIONAL, BUT RECOMMENDED: To protect your vehicle from damage while removing the front bumper, wrap a shop towel around your hood latch and tape off the edge of the front fender and headlight assembly.

- Raise the front of the vehicle safely and remove the fasteners that secure the bumper cover on the underside of the vehicle. This may vary if you have an aftermarket front lip, etc. Remove the (2) screws in front of each front tire holding the factory front lip.

- Carefully and slowly pull the cover away, starting at the wheel well. As the bumper is pulled, the retaining tabs are exposed along the perimeter. Carefully release them. This is easier with the help of a second person if possible.

- Remove the (3) remaining clips located on the top of the bumper, located above the grille.

- Depress the retaining tabs above each headlight with a flat-head screwdriver and the bumper cover will be able to be pulled away. Unplug the fog lights from their harness to avoid damaging the connections, and carefully remove the front bumper. Place the bumper on a clean, smooth surface to avoid damage.

- After removing the front bumper, begin removal of the factory intercooler.
Start with removing the mounting bracket on the driver’s side. Disconnect it from the factory charge pipe. Remove the two bolts from the driver-side charge pipe. - Next, select the appropriate adapters for your charge pipe application. Install the correct adapter to each side of the intercooler. (Stock or Upgraded PRL)


Left Side Stock Adapter (Cold) | Intercooler Outlet Left Side Stock Adapter (Cold) | Charge Pipe Outlet 

Right Side Stock Adapter (Hot) | Intercooler Inlet Right Side Stock Adapter (Hot) | Charge Pipe Outlet *Please Note: Upgraded PRL Adapters only come with the PRL Charge Pipe Kit


Left Side PRL Adapter (Cold) | Intercooler Outlet Right Side PRL Adapter (Hot) | Charge Pipe Outlet - Ensure that the appropriate O-Rings are installed correctly and not twisted or loosely installed. They should be completely flush in the seat.
Stock charge pipe applications can reuse factory O-Rings. If the factory O-Rings are damaged, dry-rotted, malformed, or high mileage used then utilize our supplied O- Rings or OEM replacements.
- It is recommended that the factory air guide plastic section be cut along the line as shown below by the saw blade. While it is possible to keep the piece there, it may interfere with fitment and be inconvenient in the way of other components when securing the intercooler or when using upgraded charge pipe applications. This will not impact the stock intercooler fitment if the owner decides to return the vehicle to stock.

- Align and mount the PRL Intercooler with the provided bracket on the left side, and use the OEM bracket on the right side. You may require an extra set of hands to help hold the intercooler in line while securing down the brackets.

- Install the driver and passenger side air guides onto the intercooler with the supplied button head bolts and a hex key.

- Make sure to not forget the left side air guide has a clip connection to secure the plastic under the shield securely to the intercooler assembly.

- Double-check all of the hose connections and intercooler adapters to ensure the system has no leaks before installing the bumper cover, you will not be able to access most of these connections once the bumper is reinstalled. Follow the bumper removal instructions in reverse order. Replace any clips that may have been damaged during install with OEM Honda clips.

Road Testing Your PRL Front Mount Intercooler
- Start the vehicle with the transmission in neutral and the emergency brake engaged. Assess to make sure of any possible issue(s) and then make any subsequent adjustments as they are needed.
- Test drive the vehicle to ensure everything is in working order.
- If after the road testing, everything is good to go, enjoy your PRL Front Mount Intercooler! Thank you for being a part of the #PRLARMY.
If you have any questions/concerns please reach out to us at:
[email protected]
Please provide a full description of your issue, ideally with any pertinent images or video clips that can help our team address the issue. Please note: All support tickets are addressed during business hours and in order of received.
As stated at the beginning of this guide, the PRL Front Mount Intercooler has been specifically designed to be 100% compatible with the factory ECU calibration. No tuning is required to benefit from the advertised gains and performance. Our intercooler is designed to fit like a factory but be a more optimal and overall better-performing unit. Under conditions in which the horsepower of the vehicle is increased, this unit is rated for 600HP.
Required Maintenance
PRL Motorsports thoroughly recommends visually inspecting your products during any routine maintenance like oil changes, tire rotations, and filter changes or cleanings. Please make sure to check your connections on all mounted parts periodically to ensure that they have not come loose over time. Always make sure to not drive through any debris that can damage the fins of the intercooler.
Nor drive over or into anything that could puncture or crack the intercooler.

1400 RANDALL COURT – UNIT 104
EXPORT, PENNSYLVANIA 15632
www.PRLMotorsports.com
Follow Us!
PRLMotorsports![]()








































