Owners Manual
WARNING!
Read this entire manual before assembling or using your new electric bike.
Do not modify, disassemble, or replace the original electrical components on your bike. Doing so will invalidate your warranty and could put you in danger. Riding any type of bike comes with some risks which can’t be predicted or avoided. Taking proper care of bike components can lower the risk of sudden failure of components but cannot prevent it. These sudden failures could cause serious harm, injury, or death to the rider. If you notice abnormalities in any component on the bike, take it to a licensed mechanic
to be repaired or replaced immediately.
SOHAMO Inc assumes no liability for harm, injury, or death of the rider. This manual is not intended to function as a detailed service manual. SOHAMO recommends having your local bike shop mechanic perform a de- tailed safety check of your bike before your first ride. Ensure your local mechanic is experienced and reputable. The A2 can withstand most rain showers without sustaining damage. The bike has an IP rating of 65. This means it is dust tight and can withstand jetting water. See the IP code for more de- tails. It does not mean that the bike and its mechanical and electrical com- ponents are waterproof. We do not recommend storing or using the bike in excessively wet conditions. The warranty for the SOHAMO A2 does not
cover water damage.
THANK YOU YOUR PURCHASE
We appreciate your purchase and we hope you thoroughly enjoy riding your E-Bike.
If you need any assistance or have any questions please feel free to contact us.
CONTACT INFORMATION
Email: [email protected]
Website: sohamobikes.com
Phone: (763) 888-8694
UNBOXING
Congratulations on your purchase of a new SOHAMO E-Bike! Your bike and related accessories are inside your box, and the instructions below are meant to show you all the parts inside the box. Before removing the packing foam, please take out all the parts to confirm if there are any missing parts.
If any parts are missing or damaged, please contact SOHAMO customer service
as soon as possible.
A Note: If you are installing or riding a bike for the first time, we recommend that you seek professional help, preferably from a certified bike mechanic.
What’ sin the box:
FRAME NUMBER ABD MOTOR NAMBER
Your bike has two unique serial numbers on the frame and on the motor.
As shown in the picture
Please find the serial number and motor number on your bike and record them. The motor number and frame number will be the proof of the warranty.
Also, electric car is stolen, you can provide the frame number for law enforcement.
EBIKE STUCTURE INTRDUCTION

- Handlebar
- Quick release lever
- Handlebar post
- Headlight
- Front fender
- Brake disc
- . Folding latch
- Crank shaft
- Saddle
- Seaport clamp
- Battery
- Rear rack
- Reflector
- Rear fender
- Motor
- Front brake lever

- Headlight
- Gear button
- Horn button
- Rear brake lever Display
- Twist throttle
- On/Off Button
INSTALLATION OF INTEGRAL BODY
- Pull the folding stem upright until the hinge mechanism closes.

- Lift the metal stem release lever up, and rotate to fold it down with the lever tip towards the ground.

- Pry open the stem quick-release lever by hand.

- Slot the T-tube into the folding stem and aligned the handlebar correctly, and then lock the quick-release lever.

- Clockwise rotate the quick-release lever with one hand holding the adjusting nut.

- Close the lever to check whether the stem is securely locked in place.

- When installing the seat post, make sure the seat post sleeve (i.e. plastic shim) is properly

- Release the quick-release seat post clamp to insert the seat post.

- Clockwise rotate the quick- release lever with one hand holding the adjusting nut.

- Close the lever to check whether the stem is securely locked in place.

- Locate the battery and plug in the 3-pin black plug.

- Start with the installation of the left pedal. Grip the pedal and counterclockwise rotate the pedal axle by hand to attach it to the crank arm.

- Install the right pedal onto the right-side crank arm by rotating it in a clockwise direction.

Note: The recommended tire pressure range is 20-28PSI, with a peak pressure of 30PSI. you can choose the right tire pressure based on weight, terrain, and other factors.
FOLD YOUR BIKE UP

- To fold the pedals, push the pedal body inward first and lift them up.

- Release the quick-release clamps to adjust both the handlebar and seat height to the lowest.

- Open upward the folding stem release lever. Pull the lever to the other side to completely release the stem riser hinge mechanism.

- Then fold the folding stem up.

- To fold the frame/crossbar, first pull open the frame hinge lever.

- Then fold the frame up as you pull the lever upward vertically.

REMOVE THE BATTEARY
- Unplug the power cord.

- Pull the release lever underneath the saddle.

- You’ll be able to fold the saddle up.

- Anti-clockwise tum the key from the “ON” position to the “OFF”, then push inward to reach the “UNLOCK” position.

- Once unlocked, the lock pin retracts into the battery.

- Vertically pull the pull ring mounted on the top of the battery to remove the battery from the sliding tracks.

INSTALLED BATTERIES
- To install the battery, insert the sliding tracks into the grooves at the back of the battery.

- Slide the battery up and daven to check whether it is placed correctly.

- Insert the key, and turn it in an anticlockwise direction twice to tock the battery into places

- Once locked, the lock pin passes through the hole.

- Then plug in the power cord.

HOW TO ADJUST THE SEAT HEIGHT
- Release the quick-release seat post clamp.

- Raise or lower the seat post as needed.

- Clockwise rotate the quick-release lever with one hand holding the adjusting nut.

- Close the lever to check whether the stem is securely locked in place.

HOW TOADJUST THE HEIGHT OF THE HANADLEBART
- Open the quick-release lever.

- Telescope the stem for handlebar.

- Clockwise rotate the quick-release lever with one hand holding the whether the stem is securely height adjustment.

- Close the lever to check adjusting nut. locked in place

Note: When adjusting the height of the seat and handle, the position of the dotted line marked on the body of the tube must not be exceeded
Note: When adjusting the seat height, there is a piece of rubber tube to improve the friction, do not drop the rubber tube into the seat tube.
HOW TO CHARGE
SOHAMO provides you with both whole bike charging and external battery charging for your convenience to choose.
Whole bike charging mode:
You can plug the charging plug into the body charging port and charge the E Bike directly
External charging mode:
Remove the battery ang you can plug the charging plug into the battery charging port for external charging.
CHARGING SAFETY
- Do not use a charger other than SOHAMO to charge the E-Bike.
- When you receive the E-Bike, please charge the battery for the first time in time to ensure that the battery is fully charged when you ride it for the first time.
- Do nat leave the battery unattended while charging.
- Avoid charging the battery at too high a temperature.
- Make sure there are no flammable objects around when charging.
Battery Safety:
Ifyou find the battery is damaged, leaking, discolored, etc., please do not charge the battery.
When storing the battery, be sure to keep It away from heat sources and avoid direct sunlight.
Do not immerse the battery in any liquid.
Do not force the battery to remove, follow the instruction manual into the removal of the battery.
Battery charging time may increase depending on the time of use.
If the battery fails to charge, stop charging immediately.
Caution: Be careful when charging, misuse will lead to property damage and personal injury When your batteries are no longer in use, dispose of your batteries according to your local state regulations. Disposal regulations for lithium batteries vary from state to state, suites important to know your local government’s regulations. Lithium batteries should not be placed with regular trash.
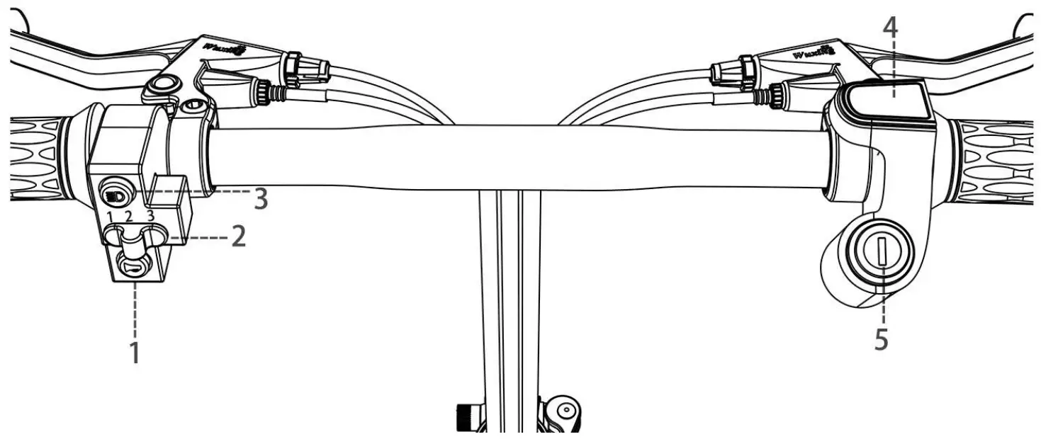
INSTRUMENT INTRODUCTION

- Horn button
- Gear button
- Headlight
- Display
- On / Off Button
Caution:
The meter tries to avoid unnecessary knocks.
Please do not modify the instrument parameters that are not explained in this manual, otherwise it may nat be able to ride properly.
ON/OFF METER
Turn Your Bike On
- Insert the battery key and tum it from the OFF position to the ON. It activates the battery to provide energy for the whole electrical system. (i.e. stand-by state)
- Next, place another key into the keyway on the handlebar. Anti-clockwise turn the key to power on the bike.

Turn Your Bike Off
- To turn the bike off, the first thing is to turn the key on the handlebar clockwise.
- Then turn the battery key to the OFF position to power off the bike.

Note: That it is a normal phenomenon that the LCD display comes on and throws an “E” symbol when the battery key is turned to the “OFF” position.
OPERATING SAFETY
Before riding the bike for the first time, ensure that you have read and understood this manual. Make sure you understand how to turn on and activate the pedal assist and throttle. When first riding the bike, take care to start slowly in a low level of pedal assist. Take your first ride in a safe area away from cars, other bikers, pedestrians, or other potentially dangerous obstacles. Only move up pedal assist levels when you feel comfortable and you have ample experience riding the bike. The higher pedal assist levels will accelerate you to higher speeds more quickly, Take care when riding the bike at any speed. Failure to adhere to warnings and guidelines in this manual can lead to serious harm, injury, or death. Damage sustained by the bike from failing to follow instructions, guidelines, and warnings in this manual is not covered under warranty. Do not lean on the bike when it is parked and the kickstand is in use.
Helmets and Local Laws
Always wear a helmet when riding your e Bike. Ensure that the helmet fits your head and is securely tightened down. Before riding, read local laws and comply with all rules relating to cycling and e Biking in your area. If you attach a seat for children to the bike, they must also be wearing a properly fitted helmet at all times.
Pre-ride Safety Check and Inspection
Before each ride, make sure to inspect your e Bike to ensure there are no loose fasteners or accessories. Make sure to specifically check that both the front and rear axles are secure. Also make sure both the handlebars and the handlebar stem are not loose. Check the tire pressure of both wheels before riding to ensure the tires are inflated to the recommended pressure printed on the side of the tire walls. Pull the brake levers to make sure your brakes are working properly and adjust if necessary.
Ensure both your seat post and handlebar stem are inserted past their minimum insertions points as indicated by the markings on them. Make
Riding in Wet Conditions
This electric bicycle can withstand light rain and small splashes, but is not designed to be subjected to inclement weather, extremely heavy showers, or submersion in water.
Note: Use caution when riding in wet conditions as it will take longer to use the brakes to slow down, and also when turning as the tires may slip. The electrical components on the bike are not waterproof. The entire bike has an IP rating of 65. Water damage is not covered under warranty.
Riding at Night
Riding at night comes with more risks than riding during the day due to decreased visibility so riders are encouraged to exercise increased caution. Before riding at night, make sure that reflectors are installed on your Bike. For increased visibility, also ensure the front headlight and rear tail light are turned on and adjusted such that other people on the road can see them clearly. Riders should wear bright colored clothing at Max Weight The bike can safely carry a total weight of 330 lbs. If the rear rack is at- taches to the bike, the max weight it can hold is 75 lbs. Therefore if you have a payload that is 40 Ibs the maximum rider weight is 290lbs. Failure to adhere to these weight limits may invalidate your warranty, cause damage to the bike or rack, or cause serious injury to the rider.
Note range and top speed will be affected by total weight being carried by the bike. If you are over 265 lbs you should lock out the suspension fork before riding.
PRE -RIDE SAFAETY
Ensure all components are properly secured before riding otherwise serious harm or death could occur. This includes but is not limited to: pedals, handlebars, handlebar clamp, cranks, seat, and seat post clamp.
- Make sure you can’t twist the seat or stem out of alignment by hand.
- Check to see if your saddle is positioned at the proper height. Sit on the saddle facing forward and place the ball of your foot on the pedal at its lowest point. Your leg should be mostly straight at this point with a slight bend at the knee. You should be able to pedal the bike without overextending your leg when the pedal is at its lowest point. Your legs may be overextended if it causes your hips to move side to side, which means the seat must be lowered. To start, adjust the saddle so your feet can still be placed firmly on the ground.
- Check that your suspension fork is properly adjusted for the terrain and your weight. The suspension fork will affect the handling of the bike, primarily when going over bumps and stopping. In some situations, it may be advantageous to lock out the suspension so it is fully rigid.
- The suspension fork can be locked out so it is rigid, and the tension is adjustable. To adjust the suspension fork use the blue knob. To fully lock the suspension, turn the knob clockwise towards the “lock” direction indicated until it cannot be turned further.
- To increase the stiffness, turn the knob clockwise towards the “lock” direction indicated. To make the suspension softer, turn the knob counterclockwise towards the “open” direction indicated.
- If you are over 265 Ibs you should lock out the suspension fork before riding.
- To adjust your seat up or down, unlatch the seaport clamp. Move the seat to the desired height and close the seaport clamp. The open and closed positions of the seaport clamp are shown below (open position on left, closed position on right). Handlebar Stem Peatross
- Ensure both your seaport and handlebar stem are inserted past their minimum insertion points as indicated by the markings on them. These markings are shown below. Failure to insert past the minimum insertion point will place undue stress on these components increasing the risk of sudden failure potentially resulting in harm, injury, or death.
- Check your seaport clamp and handlebar stem quick releases torque. They should be tight enough so that they do not twist or fall down when the bike is in use. Unlatch the quick releases and tighten by turning the bolt clockwise, Make sure both quick releases are tightened to the torque listed in the Recommended Torque Values section of this manual. The page number of this section can be found by referring to the table of contents at the beginning of this manual.
- If you need to adjust the angle of your seat or the position of the seat on the rails, loosen the nuts on both sides of the seat, move the seat to the desired angle/position, then tighten the nuts. The nut’s location is shown below.
- Ensure all cables and connectors at the front of the bike are securely connected or certain components may not work including the front light, the motor inhibitor switches, LCD display, and throttle. The motor inhibitor switches shut the motor off as soon as the rider hits the brakes. If these switches are not operational it will take longer to slow down which in some riding situations could cause injury or death to the rider. If you have installed any accessories make sure they do not interfere with all cables and connectors when turning the handlebars.
WARRANTY
All Bikes should be operated in accordance with the SOHAMO owner’s manual provided with the bike. SOHAMO warrants to the original registered purchaser that bikes shall be free from all defects in material and workmanship for a period of 12 months from the date of shipment, where used in accordance with the owner’ manual and for the purpose intended. All other obligations and Conditions or liabilities, including obligations for consequential damages, are hereby excluded.
The warranty is nontransferable and only applies to the original owner. This warranty gives you specific rights and purchasers may also have other rights, which may vary by location. Damage caused by failing to adhere to instructions and warnings issued by SOHAMO is not covered under warranty. Warranty parts will only be shipped within the continental United States. The warranty period of parts is as follows.
Warranty time is calculated from the sales date.
| Accessories | Three Packages | Three Guarantees Failure Type | |
| Electrical parts | Motor | 12 months | Free repair of failure within two years |
| Controller | 12 months | Performance failure | |
| lithium battery | 12 months | Can’t charge and discharge | |
| charger | 12 months | Performance failure | |
| meter | 12 months | Malfunction | |
| Turn handle | 3 months | Malfunction | |
| Brake lever | 3 months | No power-off function | |
| Booster | 3 months | No induction capability | |
| Structure | Frame | 12 months | There are natural welding, desoldering, and fracture phenomena |
| Front fork | 12 months | ||
| Riser | 12 months | ||
| handlebar | 6 months | ||
| crank | 6 months |
Accessories sold on sohamo.com are not covered under warranty (except in cases of shipping damages). Stolen bikes are not covered under warranty.
Necessary precautions must be taken to ensure the bike and battery are not exposed to severe weather conditions.
Exposure to very wet, hot, or cold conditions may void the warranty.
We will replace any parts deemed to have been damaged during shipping.
Shipping damage must be reported to SOHAMO within 14 days of shipment arrival. This applies to all products including bikes and accessories.
You will NOT be refunded as compensation for your time or efforts replacing damaged parts. Replacement parts will not be sent until photographic evidence has been provided to SOHAMO. SOHAMO may request additional documentation (such as video) to assist with accurately diagnosing the problem and processing the warranty claim. Most warranty parts are fulfilled 1-10 business days after the request is put into our system by a customer service representative. Warranty parts are sent using USPS First Class, FedEx Express, or FedEx Ground depending on the size of the part.
Warranty parts will not be expedited. teems including the chain, tires, wheels, tubes, battery handle, brake pads, cables and housing, grips, and spokes are considered wear items.
These items wear down with normal use and are not covered under warranty. You are responsible for replacing and maintaining these wear items. Any unauthorized alterations or repairs are not covered and may void this warranty. For warranty services, please contact SOHAMO online support by email at [email protected]. Bikes or parts returned with- out proper documentation may result in delayed service or denied warranty coverage. Warranty return shipping costs along with duties and taxes are the responsibility of the claimant.
ELECTRIC BIKE MAINTENANCE
Regular cleaning
Cleaning the bike often will help to keep dirt, dust, and debris from getting into the engine and messing with the motor, It also helps to keep all the mechanical parts moving properly without grinding against each other or blocking the chain. E-bikes should be washed once or twice per week.
When you clean your e-bike, do not use a pressurized hose or stream of water. This might compromise the integrity of the meals around electrical equipment and wear them down, eventually leading to exposed and wet electrical systems that will then malfunction. Instead, use a low-pressure water stream or a wet rag and dry the bike off once you’re doing washing it.
Lubrication
In order to keep all the mechanics in working order, you can apply lubrication on the major moving parts such as the chain. You should use a special cleaning solution to clean off the chain before applying a bike lubricant to it. This should ideally be done at least once a week if you use the bike often.
Check the bolts
Do a quick once-over and check for any loose screws, bolts, nuts, or anything else on the bike. If there is too much play in the bolts, tighten them up litterbin and see if you can identify the cause of the looseness. Don’t tighten the bolts too far.
Tire pressure
You can check to see what the current pressure is in the tires by using a simple pressure gauge. If it’ s too low, or if the tires can visibly sink when you push your finger into them, you should get out your bike pump and inflate them properly to the pressure indicated on the tires.
Brake pads
Take a good look at the brake pads on your bike every few weeks to see how they are holding up. It’s essential that you have effective brakes or else you could end up in a serious accident. Brake pads can easily and cheaply be replaced whenever necessary.
Waterproofing
The battery and motor of an e bike are well sealed to prevent any water damage. That doesn’t mean it’s absolutely impossible for water to get in, but with a certain level of common sense and care, you won’t need to worry. Things to avoid with an electric bike include using a jet wash and fully submerging the bike. No lake jumps then, sorry! The motor itself is in a factory-sealed unit and you should never attempt to take it apart for maintenance or to try and fix a problem.
Battery care
Charge the battery at room temperature in a dry location. To improve the lifespan of your battery, avoid leaving the battery fully charged or fully discharged for long periods of time. When the bike is out of use for an extended period, you can disconnect the battery. It will gradually lose charge, so still top it up every now and again. As weve already said, avoid storing the bike for long periods of time with no charge – maintaining 30 to 60 per cent charge is ideal for long-term storage, according to e bike
systems manufacturer Bosch. Extreme heat and cold are the enemies of electric bike batteries. Store your e bike battery in a cool, dry place out of direct sunlight. During winter, and particularly if the temperature is below 0°C, charge and store the battery at room temperature, and re-insert the battery into the bike immediately before riding.
DISCLAIMER
Riding any kind of bicycle comes with inherent risks and dangers that cannot be predicted or avoided. These dangers could result in a serious accident, injury, or death of the rider. It is the sole responsibility of the rider to become properly educated and prepared to ride safely. Once in possession of the bike, SOHAMO strongly encourages and recommends that all customers have a certified and reputable bicycle mechanic complete a full inspection of each component on the bicycle to ensure it is safe for operation. SOHAMO makes no claims or guarantees that the brakes, battery, frame, motor, motor controller, LCD display, electrical cables, electrical cable housings, fasteners, grips, fork, stem, shifters, headset, seatpost, seatpost clamp, handlebar stem clamp, saddle, wheel hubs, handlebars, spokes, rims, tires, tubes, derailleur, freewheel, cassette, throttle, kickstand, lights, reflectors, hardware, bottom bracket, or any other part or accessory, will be property secured and adjusted upon arrival. Before every ride fully inspect your bicycle to ensure everything is secured and adjusted properly. Under no circumstances is SOHAMO responsible for any damage resulting from damaged, defective, or improperly secured parts. This includes, but is not limited to, damage to personal property, personal injury, or death.

























































