22RT1222211 Polar Wishes LED Angel with Star
Instruction Manual
SKU # 1007 655 714
Model # 22RT1222211
Thank you!
We appreciate the trust and confidence you have placed in Home Accents through the purchase of this 7.5ft Polar Wishes LED Angel with Star. We strive to continually create quality products designed to enhance your home. Visit us online to see our full line of products available for your home improvement needs. Thank you for choosing Home Accents!
1-855-HDHoliday (1-855-434-6543)
HOMEACCENTSHOLIDAY.COM
ASSEMBLY INSTRUCTIONS
7.5ft Polar Wishes LED Angel with Star
USE AND CARE GUIDE
PLANNING ASSEMBLY
Carefully remove all the parts from the box and place them on the ground. Many parts are connected by the lighting string that runs throughout the item. Take special care not to pull, cut or damage the lighting string. Read the entire manual prior to assembly and identify all the parts included in the package against the parts list. It is recommended to assemble parts of the product while laying flat on the ground versus standing the item up to assemble the parts. If any parts are missing or damaged do not attempt assembly but contact our customer service center or return to place of purchase with purchase receipt.
Assembly of this product may require more than one person.
1-855-HDHoliday (1-855-434-6543 )
Pre-Operation
CAUTION: Grasp the plug to insert or remove from the power source. Do not unplug by pulling on cord.
CAUTION: The lighting string on this product is rated at 12 Watts (0.1 Amps). Do not overload. Do not connect to another lighting string, decorative outfit or other electrical products. Before you use or re-use this product inspect it carefully. Discard or return to place of purchase with purchase receipt if the product has cuts, damage, frayed wire insulation on cords, cracks in the socket enclosures, loose connections, exposed copper wire or other obvious damage.
Care and Cleaning
a. Carefully remove the product from wherever it is placed. This helps to avoid any undue strain or stress on the product connections, and wires. If the product is placed somewhere other than the ground it should be well secured, flat and stable.
b. Carefully disassemble the unit taking caution not to cut any electrical wires.
c. Wipe the unit with a damp cloth and allow the unit to dry before storing.
d. Store the product neatly in a cool, dry location protected from sunlight.
Troubleshooting
a. Ensure that the ground or surface that the item sits on is flat and level
b. Be sure to plug the item correctly to a wall outlet or a UL Listed Power Cord
c. Ensure all parts are assembled properly per the Instruction Manual
d. If the item does not light check for loose or broken bulbs and connections
e. Do not plug into other electrical items
f. If the item has multiple Light String Cords be sure to plug in all cords
g. Check for Broken or Burned Out Fuse In Plug
Guarantee
What is Covered
The product is intended for residential seasonal use for 90 days maximum per year. This product is covered by a 90 days limited guarantee due to defects in material and workmanship. Return the product with purchase receipts to the location of purchase for refund within 90 days of purchase.
What is Not Covered
This warranty does not cover commercial use, normal wear and tear, products not used in accordance with directions provided on or with the product, burn out of bulbs or LEDS, batteries, products that have been subjected to unauthorized repair and/or modification and damage caused by shipping and improper handling, alterations, misuse, in store display models or accidents. Questions, problems, missing parts? Before returning to the store, call Home Accents Holiday Customer Service 8 a.m.-6 p.m., EST, Monday-Friday 1-855-HDHoliday (1-855-434-6543)
Diagram of Parts

| Parts List | ||
| Locater | Name | Qty. |
| A | Halo | 1 |
| B | Hair | 1 |
| C | Head / Body | 1 |
| D | Upper Half of Gown | 2 |
| E | Lower Half of Gown | 2 |
| F | Wing | 2 |
| G | Arm / Hand | 2 |
| H | Star | 1 |
| I | Bow Sash | 1 |
| J | Base Stand | 1 |
| Hardware List | ||
| Locater | Name | Qty. |
| K | Spare Fuse | 4 |
| L | Spare Bulb | 5 |
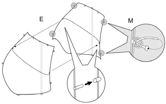
| M | Plastic Tie | 20 |
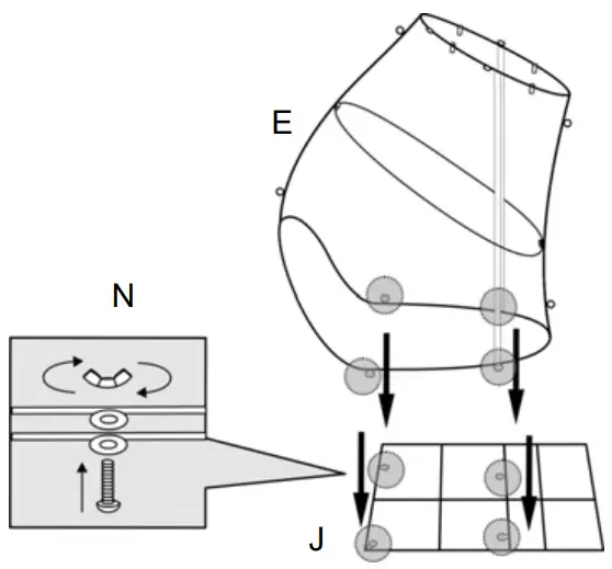
| N | Bolt & Wingnut | 4 |
| 0 | Anchoring String | 4 |
| P | Ground Stake | 8 |
ASSEMBLY
- Assembling the Lower Gown
Align the two halves of the Lower Gown (E) with each other then insert the connecting rods on one half into the connecting holes on the other half and fasten at the connecting loops with Plastic Ties (M).
- Securing the Lower Gown to the Base Stand
Secure the Lower Gown (E) and the Base Stand (J) together at the connecting loops with the Bolt & Wingnuts (N).
- Assembling the Upper Gown then securing to Lower Gown
Align the two halves of the Upper Gown (D) with each other then insert the connecting rods on one half into the connecting holes on the other half and fasten at the connecting loops with Plastic Ties (M). Insert the connecting rods on the bottom of the Upper Gown (D) into the connecting holes on the top of the Lower Gown (E) and fasten at the connecting holes with Plastic Ties (M).
- Assembling the Hair to the Head/Body & Halo to the Hair
Insert the connecting rods on the Hair (B) into the connecting holes on the top of the Head / Body (C). Attach the connecting rod on the Halo (A) to the connecting holes on the Hair (B).
- Assembling the Arms/Hands and Star to the Head/Body
Insert the connecting rods on each Arm/Hand (G) into the matching connecting holes on the sides of the Head/Body (C) and fasten at the connecting loops with Plastic Ties (M). Insert the connecting rods on the Star (H) into the matching connecting holes of the left Arm/Hand (G) and fasten with Plastic Tie (M)
- Assembling the Wings to the Head/Body
Insert the connecting rods on each Wing (F) into the matching holes on the back of the Head/Body (C). Attach the connecting rod on the front of the left Wing to the connecting hole on the back of the left Arm / Hand (G).
- Assembling the Bow Sash & Head/Body to the Upper Gown
Insert the connecting rods on the bottom of the Head/Body (C) into the matching connecting holes on the top of the Upper Gown (D) and fasten at the connecting loops with Plastic Ties (M). Wrap the Bow Sash (I) around the Waist of the Angel and secure with the Velcro closure.
- Assembling the Anchoring Strings and Ground Stakes
Hook the plastic clipped end of each of Anchoring Strings (O) onto the matching connecting loop on the Head/Body at the shoulders. Attach the free looped end of each Anchoring String (O) to the clip on the Ground Stakes then tightly secure the Ground Stake with Anchoring String to the ground evenly and away from the Angel at four sides. Insert the remaining 4 Ground Stakes (P) over the metal frame of each corner of the Base Stand then into the ground firmly.




















