Stealth Products TB Series Simple Solutions Adapter Interface

Product Information
- Product Name: Simple Solutions Adapter Interface
- Manufacturer: Stealth Products, LLC
- Address: 104 John Kelly Drive, Burnet, TX 78611
- Phone: (512) 715-9995
- Toll Free: (800) 965-9229
- Fax: (512) 715-9954
- Toll Free: (800)-806-1225
- Email: [email protected]
- Website: www.stealthproducts.com
- Authorized Representative in Germany: MDSS GmbH, Schiffgraben 41, 30175 Hannover
- Authorized Representative in Switzerland: SODIMED SA, Chemin Praz Devant 12, 1032 Romanel sur-Lausanne
- Authorized Representative in the United Kingdom: MDSS-UK RP, 6 Wilmslow Road, Rusholme Manchester M14 5TP
Important Information:
- Customer Satisfaction is a priority for Stealth Products.
- The product should be fitted, applied, and installed by a healthcare professional trained for these purposes to avoid serious injury.
- The warranty covers 2 years for hardware, 5 years for electronics, and 3 years for the overall product.
- Any substitutions of supplied hardware void the warranty.
- Misuse of items and acts of nature are not covered by the warranty.
- Warning labels are included for the safety of the user, client, operator, and property. Different signal words like DANGER, WARNING, CAUTION, NOTICE, and SAFETY are used to indicate the severity of potential risks. – Stealth Products accepts no liability for personal injury or damage to property resulting from failure to follow the recommendations, warnings, and instructions in the manual.
- Initial setup and driving should be done in an open area free of obstacles until the user is fully capable of driving safely.
Design and Function:
The user manual does not provide specific information about the design and function of the Simple Solutions Adapter Interface. For detailed information on the design and function of the product, please refer to the corresponding section in the user manual or contact Stealth Products directly.
Product Usage Instructions
- Ensure that the Simple Solutions Adapter Interface is installed by a healthcare professional trained for this purpose to avoid serious injury.
- Familiarize yourself with the warning labels included in the manual and understand the signal words used to indicate potential risks.
- Follow the warranty guidelines, including avoiding substitutions of supplied hardware and understanding that misuse and acts of nature are not covered by the warranty.
- For any questions or concerns regarding the product, contact Stealth Products using the provided contact information.
- Before using the product, ensure that initial setup and driving practice are done in an open area free of obstacles until you are fully capable of driving safely.
- For detailed information on the design and function of the Simple Solutions Adapter Interface, refer to the corresponding section in the user manual or contact Stealth Products directly.
Customer Satisfaction
Stealth Products is committed to 100% customer satisfaction. Your complete satisfaction is important to us. Please contact us with feedback or suggestions to help us improve the quality and usability of our products. You may reach us at:
StealthProducts,LLC
104JohnKellyDrive,Burnet,TX78611
- Phone:(512)715-9995
- Fax:(512)715-9954
- TollFree:(800)965-9229
- ollFree:(800)806-1225
- www.stealthproducts.com
- [email protected]
| EC REP | CH REP | UK Authorized Representative |
| MDSS GmbH Schiffgraben 41 30175 Hannover Germany | SODIMED SA Chemin Praz Devant 12 1032 Romanel sur-Lausanne Switzerland | MDSS-UK RP 6 Wilmslow Road, Rusholme Manchester M14 5TP United Kingdom |
General
Read and understand all instructions prior to the use of the product. Failure to adhere to instructions and warnings in this document may result in property damage, injury, or death. Product misuse or failure to follow instructions will void the warranty. Immediately discontinue use if any function is compromised, if parts are missing or loose, or if any component shows signs of excessive wear. Consult with your supplier for repair, adjustment, or replacement.
All persons responsible for fitting, adjustment, and daily use of the devices discussed in these instructions must be familiar with and understand all safety aspects of the devices mentioned. In order for our products to be used successfully, you must read and understand all instructions and warnings, and maintain our products according to our instructions on care and maintenance.
The installation instructions will guide you through this product’s options and possibilities.
Instructions are written with the expressed intent of use with standard configurations. They also contain important safety and maintenance information, as well as describe possible problems that can arise during use. For further assistance, or more advanced applications, please contact your supplier or Stealth Products at (512) 715-9995 or toll free at (800) 965-9229.
Always keep the operating instructions in a safe place so they may be referenced as necessary.
All information, pictures, illustrations, and specifications are based on the product information that was available at the time of printing. Pictures and illustrations shown in these instructions are representative examples and are not intended to be exact depictions of the various parts of the product.
Important Information
CAUTION These products are designed to be fitted, applied, and installed exclusively by a healthcare professional trained for these purposes. The fitting, application, and installation by a non-qualified individual could result in serious injury.
Warranty
Our products are designed, manufactured, and produced to the highest of standards. If any defect in material or workmanship is found, Stealth Products will repair or replace the product at our discretion. Any implied warranty, including the implied warranties of merchantability and fitness for a particular purpose, shall not extend beyond the duration of this warranty. Stealth Products does not warrant damage due to, but not limited to: misuse, abuse, or misapplication of the product, and/or modification of product without written approval from Stealth Products, LLC. Any alteration or lack of serial number, where applicable, will automatically void all warranty.
Stealth Products, LLC is liable for replacement parts only. Stealth Products, LLC is not liable for any incurred labor costs.
Stealth Products warrants against failure due to defective materials or workmanship:
- Covers: 2 years
- Hardware: 5 years
- Electronics: 3 years
NOTICE: Any substitutions of supplied hardware void the warranty. Misuse of items and “acts of nature” (e.g., flood, tornado) are not covered by the warranty.
In the event of a product failure covered by our warranty, please follow the procedures outlined below:
Call Stealth Products at (512) 715-9995 or toll free at (800) 965-9229.
Request a Return Authorization (RA) form from the Returns Department and follow the documentation instructions.
Additional warranty information may be found by visiting the website at https://stlpro.site/returns-n-warranty. Copies of this manual may be downloaded by accessing the Stealth website (https://stlpro.site/stealth-docs) and searching “P150D731” in the search bar at the top of the page.
| Supplier Reference | |
| Supplier: | |
| Telephone: | |
| Address: | |
| Purchase Date: | |
| Model: | |
Warning Labels
Warnings are included for the safety of the user, client, operator, and property. Please read and understand what the signal words DANGER, WARNING, CAUTION, NOTICE, and SAFETY mean, and how they could affect the user, those around the user, and property.
- DANGER: Identifies an imminent situation which, if not avoided, may result in severe injury, death, and property damage.
- WARNING:Identifies a potential situation which, if not avoided, may result in severe injury, death, and property damage.
- CAUTION: Identifies a potential situation which, if not avoided, may result in minor to moderate injury and property damage.
- NOTICE: Identifies important information not related to injury, but possible property damage.
- SAFETY: Indicates steps or instructions for safe practices, reminders of safe procedures, or important safety equipment that may be necessary.
Limited Liability
Stealth Products, LLC accepts no liability for personal injury or damage to property that may arise from the failure of the user or other persons to follow the recommendations, warnings, and instructions in this manual.
Stealth Products does not hold responsibility for final integration of final assembly of product to end user. Stealth Products is not liable for user death or injury.
Testing
Initial setup and driving should be done in an open area free of obstacles until the user is fully capable of driving safely.
Intended Use
The Simple Solutions Adapter Interface is designed to allow users of TB-series power chairs to install or interchange a wide range of back supports, as necessary, while maintaining support and stability, and remaining lightweight.
Features
The Simple Solutions Adapter Interface offers:
- width and height adjustment;
- independent link adjustment offset;
- back support angle, rotational, and lateral adjustment capabilities;
- compatibility with a wide range of back supports;
- customizable fitting; and
- virtually no loss of seat depth.

Compatibility
The Simple Solutions Adapter Interface is designed to be compatible with the following market-available back supports:
- Matrx® Elite
- Jay® J3®
- Permobil Acta-Back® and Acta-Embrace®
- ROHO® AGILITY®
- Ride® Java® Back
Parts List

| Description | Qty | |
| 1 | Adapter Center Plate | 1 |
| 2 | Adapter Wing | 2 |
| 3 | Adapter Mounting Link | 4 |
| 4 | Adapter Mounting Plate | 4 |
| 5 | Track Nut | 4 |
Installation Instructions
Preparations
Only a qualified service technician may install the Simple Solutions Adapter Interface and its accessories.
Installation Plan
Set up an installation plan before beginning the installation. This plan should take into account:
- the placement of the interface in relation to the back support;
- the manner in which the interface will be operated, including its attached adjustable thoracic laterals; and,
- the amount of clearance necessary for other hardware and accessories.
WARNING Incorrect installation of the adapter interface or its accessories may cause damage to the hardware and/or injury to the user.
Required Tools
Use the proper tools to install and adjust the adapter interface to the user’s desired position and specifications.
Below are the tools needed to complete the installation of the adapter plate:

| Tool | Used On |
| 3mm Hex Key | Flat Head Screws on Mounting Plates |
| 4mm Hex Key | Flat, Socket, and Button Head Screws throughout assembly |
| 10mm Wrench | Nylon Lock Nuts to attach Interface to Shell |
(Tools are not provided.)
CAUTION
- The use of improper tools may cause damage to the device. Under- or over-tightening fasteners can cause components to fail or cause the user discomfort.
- The tools required to install additional accessories are detailed in the manuals provided with those accessories.
Link Adjustment
The UniLink™ Adapter Links are used to provide fine width and lateral positioning adjustment for a back support.
- Step 1: Loosen the 4mm socket head screws securing the links.
- Step 2: Rotate the link to the desired position.
- Step 3: Tighten the 4mm socket head screws to secure the link in the new position. The screw should be snug, but do not overtighten it.

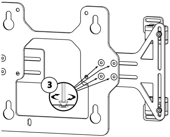
Mounting Plate Rotation
The Adapter Mounting Plates can be rotated to four positions (90° apart) to align with the mounting locations of a back support.
- Step 1: Loosen the 3mm flat head screw securing the mount to the link.
- Step 2: Remove the mounting plate from the link and rotate it in increments of 90° to align the pin with one of the four adjustment holes in the mount.
- Step 3: Replace the mounting plate on the link and secure with the 3mm flat head screw. The screw should be snug, but do not overtighten it.*

Mounting Plate Height Adjustment
The Mounting Plates can be moved vertically to align with differently spaced mounting locations in a back support. Ideally, these should be spaced as far apart as the shell will allow.
- Step 1: Loosen the 4mm socket head screw securing the link to the plate.
- Step 2: Slide the link up or down into the new position.
- Step 3: Secure the link in the new position by tightening the 4mm socket head screw. The screw should be snug, but do not overtighten it.

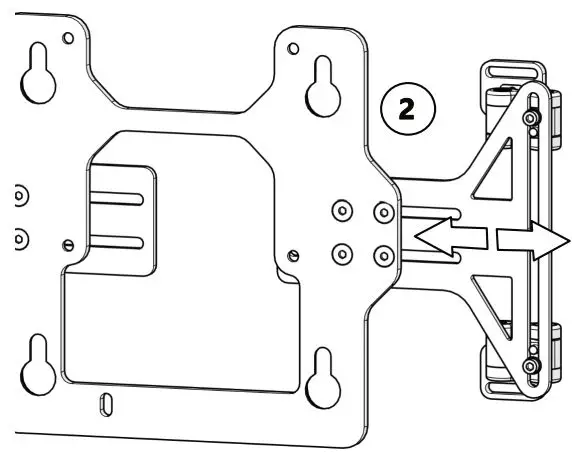
Mounting Plate Width Adjustment
The Adapter Plate Wings are adjustable to fit different width back support.
- Step 1: With the 4mm hex key, loosen the four flat head screws securing the wing to the adapter interface.

- Step 2: Slide the wing into its new position.

- Step 3: Tighten the four flat head screws to secure the wing in its new position. Make sure the screws are snug, but do not overtighten.

Installing the Back Support to the Adapter Interface
Using a combination of the steps detailed on the previous pages, nearly any positioning possibility is achievable with the Simple Solutions Adapter Interface.
- Step One – Loosen the Fasteners: Loosen the fasteners necessary to adjust the links and mounting plates to fit the back support.
- Step Two – Adjust the Width: Adjust the horizontal wings to the approximate width of the mounting location.
- Step Three – Mounting Plate Height: Adjust the Links and Mounting Plates vertically to match the mounting positions of the shell.
- Step Four – Mounting Plate Rotation: If necessary, rotate the mounting plates to match the mounting position of the back support.
- Step Five – Attach the Shell: Insert the button head screws through the front ofb the back support and attach to the mounting plates using nylon lock nuts.
- Step Six – Tighten All Fasteners: Check all fasteners for tightness. The fasteners should be snug but not over-tightened.

Installing and Removing the Adapter
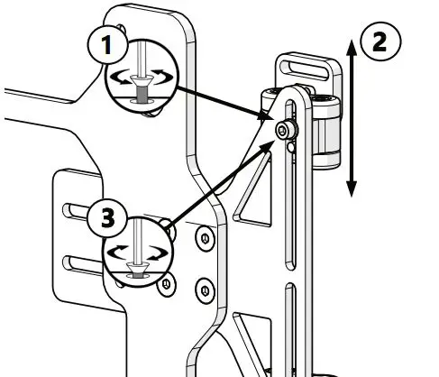
This is the final step in the implementation of the Simple Solutions Adapter Interface. For Permobil, slide the slots of the interface over the posts of the back support plate and secure with the thumbscrew in the location indicated below. Installation to other chair models is possible by drilling holes in the back plate and installing with flat head screws in the locations indicated on the illustration below. Further adjustments to the interface or attached backrest shell are possible without removal from the chair or eased by the simplicity of removal and replacement of the adapter.
Adapter shown without back support shell for illustration purposes.
First-Time Use
Dealer Assistance
During first-time use by the client, it is advised that the dealer or service technician not only explains the product, but also assists in the configuration of user positioning to the customer (i.e., the user and/or the attendant). If needed, the dealer can make final adjustments.
User Testing
It is important that the customer be fully aware of the installation of the Simple Solutions Adapter Interface, including how to use it and how it can be adjusted to fit the client comfortably. As a dealer, proceed as follows:
Explain and show the customer how you have executed the installation and explain the function.
- Have the user test the position of the seating system.
- Is the hardware in the proper position for the client?
- Can the user safely operate all wheelchair controls with minimal effort?
If needed, make any adjustments to the positioning. Explain possible problems to the customer and how to address them.
Conditions of Use
The Simple Solutions Adapter Interface is intended for use as installed by the dealer, in accordance to the installation instructions in this manual.
The foreseen conditions of use should always be communicated by the dealer or service technician to the user and/or attendant during first-time use.
If the usage conditions change significantly, please contact your dealer or qualified service technician.
Cleaning and Maintenance
Disinfection Wipe gently with a cloth dampened with a household disinfectant.
Maintenance
The following care and guideline instructions will keep hardware and covers in good condition for a longer period of time and prevent damage.
- Periodically check and tighten any loose fasteners.
- Check all components for any signs of wear or breakdown.
- Wipe gently with a cloth dampened with a household disinfectant.
- Gently remove dust and dirt from hardware with a soft damp cloth.
CAUTION Always check mounting hardware before using the adapter interface.
NOTICE Improper installation or alterations of any kind will void this product’s warranty.
CAUTION Maximum Weight Capacity:
SSAPGEN, SSAPGEN-TRT – 450 lbs. (204.11 kg) SSAPGEN-PED – 175 lbs. (79.38 kg)
SAFETY Replace or repair parts as needed.

Stealth Products, LLC
- [email protected]
- www.stealthproducts.com
- (800) 965-9229
- (512) 715-9995
- 104 John Kelly Drive, Burnet, TX 78611
























