amazon basic B07PVSGZ3G 12 Inch Wall Clock User Manual
Package Contents
Before getting started, ensure the package contains the following components:
A Wall clock
B Adjustment knob
C Hole for wall hanging
D Battery compartment
Tools Needed

IMPORTANT SAFEGUARDS
Read these instructions carefully and retain them for future use. If this product is passed to a third party, then these instructions must be included.
- Do not hang anything on the product.
- Always insert batteries correctly with regard to polarity (+ and -) marked on the battery and the product.
- Exhausted batteries should be immediately removed from product and properly disposed.
Intended Use
- This product is intended to be used in dry indoor areas only.
- No liability will be accepted for damages resulting from improper use or non-compliance with these instructions.
Before First Use
- Check for transport damages.
- Loosen the delivery screws in the back of the carton sheet connected to the product. Remove the carton sheet.
- Insert the battery (not included) with the correct polarity (+ and -) into the battery compartment (D).
DANGER
Risk of suffocation! Keep any packaging materials away from children – these materials are a potential source of danger, e.g. suffocation.
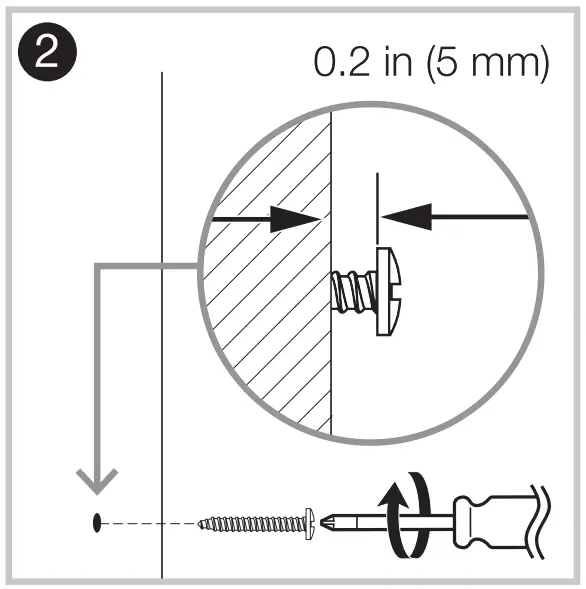
Mounting
NOTICE
Before mounting, determine the suitable mounting location. The product must be fixed to a wooden or masonry/concrete wall using hardware (not provided) that is appropriate for the surface. The fixing point must be capable of supporting the weight of the product.
DANGER
Risk of electric shock! Take care not to drill into any pipes or power lines beneath the surface during mounting holes preparation. Use power line / metal detector.
Dimension
Use the hole for wall hanging (B) to hook the product on the screw.

Setting the time
• To set the time, rotate the adjustment knob (C).
Cleaning and Maintenance
NOTICE
During cleaning do not immerse the electrical parts of the product in water or other liquids. Never hold the product under running water.
- To clean, wipe with a soft, slightly moist cloth.
- Never use corrosive detergents, wire brushes, abrasive scourers, metal or sharp utensils to clean the product.
Disposal
The Waste Electrical and Electronic Equipment (WEEE) Directive aims to minimize the impact of electrical and electronic goods on the environment, by increasing re-use and recycling and by reducing the amount of WEEE going to landfill. The symbol on this product or its packaging signifies that this product must be disposed separately from ordinary household wastes at its end of life. Be aware that this is your responsibility to dispose of electronic equipment at recycling centers in order to conserve natural resources. Each country should have its collection centers for electrical and electronic equipment recycling. For information about your recycling drop off area, please contact your related electrical and electronic equipment waste management authority, your local city office, or your household waste disposal service.
Battery Disposal
Do not dispose of used batteries with your household waste. Take them to an appropriate isposal/collection site.
Specifications
Battery type: lx 1.5 V AA/LR6 (not included)
Net weight: approx. 1.41 lbs (639 g)
Dimensions (W x H x D): approx. 11.85 x 11.85 x 1.74 in (30.1 x 30.1 x 4.4 cm)
Feedback and Help
Love it? Hate it? Let us know with a customer review. Amazon Basics is committed to delivering customer-driven products that live up to your high standards. We encourage you to write a review sharing your experiences with the product.
US: amazon.com/review/review-your-purchases#
UK: amazon.co.uk/review/review-your-purchases#
US: amazon.com/gp/help/customer/contact-us
UK: amazon.co.uk/gp/help/customer/contact-us



















