Ri 1000 Direct to Garment Printers
User Manual

Ri 1000 Direct to Garment Printers
For safe and correct use, be sure to read the Safety Information in Safety Information and Quick Installation Guide before using the machine.
| Rev. | Date | Author | Description | |
| 1.0 | 09/28/2018 | J. Manzano | First Issue | |
| 1.1 | 10/1/2018 | J.Manzano | Rev 1.1 | |
| 1.2 | 10/19/2018 | J.Manzano | Rev 1.2 | |
| 1.2.1 | 02/04/2019 | J.Manzano | Rev 1.2.1 | |
| 1.2.2 | 06/24/2019 | R.Rogers | Rev 1.2.2 |
| 1.2.4 | 12/20/2019 | A McManus | Rev. 1.2.4 | |
| 1,2,5 | 2/28/20 | A McManus | Rev. 1.2.5 | Added more moving instructions |
| 1.2.6 | 4/6/20 | A McManus | Add ColorGATE |
How to Read the Manual
Disclaimer
Contents of this manual are subject to change without prior notice.
To the maximum extent permitted by applicable laws, in no event will the manufacturer be liable for any damages whatsoever arising out of failures of this machine, losses of the registered data, or the use or non-use of this product and operation manuals provided with it.
Make sure that you always copy or have backups of the data registered in this machine. Documents or data might be erased due to your operational errors or malfunctions of the machine.
In no event will the manufacturer be responsible for any documents created by you using this machine or any results from the data executed by you.
Notes
Read this manual carefully before you use the product and keep it handy for future reference.
For safe and correct use, be sure to read Safety Information before using the machine.
The manufacturer shall not be responsible for any damage or expense that might result from the use of parts other than genuine parts from the manufacturer with your products.
For good output quality, the manufacturer recommends that you use genuine ink from the manufacturer.
Some illustrations in this manual might be slightly different from the machine.
Certain options might not be available in some countries. For details, please contact your local dealer. Depending on which country you are in, certain units may be optional. For details, please contact your local dealer.
Safety Symbols for This Machine
The meanings of the safety symbols for this machine are as follows:
| Caution | |
| Prohibition | |
| General mandatory action sign | |
| Do not touch | |
| Caution, risk of having hands or arms caught | |
![]() | Caution, risk of electric shock |
![]() | Caution, hot surface |
Before You Begin
Accessory Box Contents:
| Power cord: NA | 1 | |
| Ethernet cable | 1 | |
| Waste Bottle | 1 | |
| Waste tube | 1 | |
| Medium Platen | 1 | |
| Medium frame | 1 | |
| Black Pretreated T-Shirts | 2 | |
| Maintenance Supplies | ||
| Cleaning Liquid | 1 | |
| Cleaning Applicators | 1 | |
| Lint Free Wipes | 1 | |
| Heat Press Paper | 1 | |
| Grease | 1 | |
| Polyethylene gloves | 5set | |
| Squeegee | 1 | |
| Syringe Kit | 1 | |
| Cleaning Fluid (Set) | 6set | |
| W1W2KCMY Ink Set | 6Set | |
| Pretreatment 64oz. | 1 | |
| ColorGATE security Dongle and license | 1 | |
| Manual | ||
| Safety & Quick Installation Guide | 1 | |
| User Manual | 1 | |
1.2 Part Identification



1.3 Important
- DO NOT POWER OFF THE PRINTER
This printer periodically circulates ink internally and automatically performs head cleaning. If you do not use the printer for a long time, it will require charge/fill the printer with cleaning solution - Perform maintenance as outlined in the maintenance schedule
The printer will perform automatic maintenance periodically. But if you do not maintenance periodically, the ink in the cartridge could settle and/or coagulate, causing poor image quality or printer failure. - Some parts require periodical replacement
This printer includes parts that require replacement due to usage. Parts that must be replaced by a service representative. NOTE: If a part has reached the end of
its service life, as outlined in section, it will not be replaced under warranty as it is considered a consumable. Though the end of service life, if there is no symptom of failure the part can still be used, and the printer will still be fully functional. - If the printer encounters an error message, be sure to resolve the issue before continuing use as the self-maintenance functions will not work if there is a current error being experienced by the printer.
Need to know – Follow these steps to keep your printer in optimum working condition
Warning! – failure to follow these steps could cause printer damage and possibly void the warranty
9 Essential Tips for Keeping Your RICOH Ri
1000 in Top Shape

As part of our commitment to your success, we want to make sure that you are getting optimal performance from your RICOH Ri 1000 while also minimizing any issues that easily can be prevented by following a few simple tips:
- Always leave your printer on to allow the machine’s automated maintenance sequences to run. This is necessary to keep the printer in optimal condition and avoid potential damage that can be prevented easily. If it is necessary to power down the machine for over 12 hours, be sure to fill your printer with cleaning fluid. Refer to Section 8.3 of your User Manual for more information.
- Always shake new white ink cartridges thoroughly before installing them in your printer. Adequately shaking your new white ink cartridges helps ensure that Your prints will come out bright and vibrant. Refer to the User Manual, page 18, for more information. Also shake the ink cartridges each day as prompted by the printer
- Make sure your ink is at 5% or above when you are done printing for the day or plan on leaving your printer idle for a few hours. While you can continue to print using cartridges with less than 5% remaining, the machine’s vital automated maintenance sequences require at least 5% or above in order to complete. If you do not have replacement ink available, you can fill your printer with cleaning fluid. Refer to Section 8.3 of your User Manual.
- Clean encoder strip weekly or every 30 prints to help avoid blurry prints, double prints, and error codes. Refer to Section 8.2 of your User Manual or watch the Ricoh DTG University: Ri 1000 Weekly Maintenance Video.
- Make sure the obstacle sensor is on. If the sensor is off, head strikes may occur and cause damage to the carriage. To check if your obstacle sensor is enabled, navigate to the OPTIONS panel. The sensor is on when the blue light is illuminated on the OBSTACLE SENSOR button.
- Set the table height correctly — just below the obstruction sensor. If the table is too low, the extra space may cause misting and printer damage. If the garment is dressed on the platen, the number on the table height adjuster should be between 0-2. If not dressing the garment, the number value should be no more than 4. Refer to Section 2.2 of your User Manual.
- Perform a nozzle check daily, so you can spot and quickly address potential issues with the printer.
- Check the downloads page to ensure you are on the most up to date firmware and AnaRIP.
- Exercise care when adjusting table height or changing platens. While ruggedly constructed, the RICOH Ri 1000 is a precision tool and care should be taken when making adjustments to the machine. Do NOT over-tighten the table- height-adjustment knob past “0” and carefully install platen without banging it against the print table.
BONUS TIP: Contact our Technical Support team when you have questions or concerns about your machine. We’re here to help! Technical Support can be reached at 877-646-0999, Monday – Friday, 8:00 am – 4:00 pm PST or by email at [email protected].
Space Needed for Printer

Setting Up Your Printer
- Table in printer is secured by Foam block. Please remove before startup

Hold foam block on the side and gently pull forward. With block removed, continue with set up steps as described in the user manual.
Your printer has a towelette taped over the waste drain valve use the following steps:

If needing to remove drain tube, use the below instructions:

- GENTLY push plastic ring in using either two fingers or small flathead screwdriver
- GENTLY pull the tube away from the plastic ring, NOTE: tube should come out with minimal force.
* Drain tube should not be removed unless required for movement of equipment or replacement*
** It is recommended to keep drain tube installed unless absolutely necessary**
DO NOT PULL TUBE

Attention
The printer cannot determine if the waste ink bottle is connected, please make sure the waste ink bottle is connected properly
During the initial ink charge, if the cover is opened, it will pause the procedure. To resume, hold the power button down to reboot the printer
- Connect the power cable to the back of the printer and to a functional wall outlet

Attention: Please agitate the White 1 and White 2 Cartridge before inserting them into the printer and initiating the filling process.
Agitating new White Cartridge
Please agitate white ink before setting a new white cartridge in the printer.
The stirring method should follow the following.
CAUTION: DO NOT hit or drop it when stirring. As it may cause injury, cartridge damage, ink leakage.
DO NOT excessively agitate/shake. as it may cause ink leakage.
MUST AGITATE/SHAKE as instructed. Other methods may cause ink leakage.
• Hold the cartridge as shown in Fig. 1. Shake the cartridge in the direction of rotation left and right as shown in Figure 1.
• Make the ink cartridge reciprocate for 50 seconds in the direction of rotation of the arrow in Figure 1 in the left and right directions.
• Shake speed is the speed to make two reciprocations per second.
- Insert ink cartridges
❖ Please note, each cartridge is designed for its corresponding slot. WH1 will go in the first slot (closest to the control panel) then WH2 then Black, Cyan, Magenta, and lastly Yellow towards the back of the printer
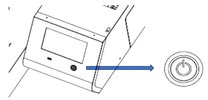
- To power on, after flipping the I/O switch to | (on I), hold down the power button on the front near the LCD screen, for 3 seconds .
- The printer is starting to boot.
- After booting, the printer will perform initial charging if the printer is not charged.
❖ Initial charging takes about 15-20 minutes, and the display will show a status percentage (%)
Warning
During the initial ink charging, don’t open the front cover or cartridge cover. - Once the initial charge is completed, the printer will show READY in the upper left-hand corner of the LCD screen
❖ NOTE: To power off, hold down the power button on the front near the LCD screen, for more than 3 seconds and return the I/O switch to O (off)
The following screen warnings will appear.
Powering off for more than 12 hours can start to clog the heads because the auto maintenance routines are not being performed. So, if powering off is required for more than 12 hours then the printer should be flushed with cleaning fluid per section.
After selecting the shutdown button, the following additional Warning will appear:
1.5 Control Panel Functions

- Displays the printer status. There are 4 possible colors (Green – printer fully functional, Yellow – printer fully functional but there is some warning which can be seen in the status screen (shown below). Red – the printer is in an error state – the print is not functional – auto maintenance is not being performed which could lead to damage to the printer. White – the printer is busy with some functions such as printing or maintenance.
- Status Bar- TAP/Drag down to open status screen menu (shown below)
- Displays printer temperature and humidity, amount of ink in ink cartridges and waste bottle capacity level.
- Stored Job folder- Check the recent images used for printing. Print directly from the stored folder or from jobs sent via network cable
- Choose print job from USB device
- SET/EJECT- will move the table into the print ready position SET (table to the rear of the printer) or EJECT the table will move toward the front of the printer to allow the media to be place onto the table.
- STOP- will stop any current movement of the table and allows to cancel print job
- Function Tabs
[Status Panel]
- Displays the printer status in detail, shows any warnings or errors
- Displays current ink levels in % for each installed cartridge – ink will appear as colors – cleaner cartridges will display as clear – if no cartridge is installed X and NC will appear
- Displays the status and fill % of waste ink bottle.
- Reset counts of waste ink bottle. Press the icon will set the % back to 0% for the waste ink bottle once waste ink tank is manually drained/emptied NOTE: There resetting the waste ink without actually emptying the waste ink bottle will result in ink overflowing from the waste ink bottle. Also NOTE: IF the waste ink bottle is full (100%) then the machine will be in an error state and damage may occur due to auto maintenance not being performed.

- Prints a nozzle check pattern result – recommended that this is performed daily to monitor printer
- Performs head cleaning automatically using systems components
- Allows carriage to be released, cover can be opened to manually clean the printheads (during maintenance or troubleshooting) and the maintenance station

- Prints an adjustment pattern for the print head alignment so that print heads can be aligned to each other
- Prints an adjustment pattern to table to check and tune table indexing
- Prints an adjustment pattern to determine print start position
[Service Part Status]

- Displays the current usage or status (Green, Yellow, Red), You can check the part replacement history by pressing the “REPLACE LIST” button.
[Settings]

- Perform controls of ink path. From this menu, you can flush the printer – refer to section 8.5
- Options page 1 – IP address (set print IP address), Drying time (set time between white layer printing and CMYK printing), factory reset (Set Head. Table and print alignment to original settings), temperature (C/F) (Can display temperature in Celsius or Fahrenheit) High speed mode on/off (Can set white layer to high speed mode – not recommended though because of the ink mist) Obstacle sensor on/off (always leave on), Page 2 – white clean frequency see section 6.5. Language select the display language, stored jobs options (if selected, jobs in internal memory will be deleted after a selected # of days, the default is this is tuned off so jobs are not deleted)
- Display printer general information. Serial #, Control panel firmware ver. Engine (CTL) firmware version, Sub control board firmware version.
1.6 Configuring your printer via AnaRIP
Prior to setting up your printer, you will need to download the latest version of AnaRIP software for your printer. You can find this software at www.RicohDTG.com/downloads . Locate the latest version of AnaRIP for your specific printer. You will then be routed to a page with download and installation instructions.
Printer Software Program Requirements
Once the ink cartridges are installed and ink flow has been established, it’s time to install the AnaRIP software onto the PC. Your PC must have Microsoft Windows Vista, Windows 7, Windows 8, or Windows 10 operating system, or on a MAC, some kind of Windows emulation must be running such as Parallels or Boot Camp. The computer also needs to have an ETHERNET port
When the software is installed double click the AnaRIP icon to launch the software and then connect the printer to the computer using the provided Ethernet cable.
[Firewall Settings]
- From the WINDOWS control panel dialogue box, select WINDOWS DEFENDER FIREWALL

- Select the INBOUND RULES in the left frame of the dialogue
- Then select NEW RULE in the ACTIONS BOX

- Select PROGRAM and click NEXT

- Type the path of the program (e.g. C:\Program Files (x86)\AnaJet\AnaRIP\AnaRIP.exe) or browse to it via the BROWSE button

- Select NEXT once the file path has been selected
- Select the ALLOW THE CONNECTION radial button and click NEXT

- CHECK the box of the correct PROFILE when this should be applied
*it is suggested to check DOMAIN and PRIVATE*
- Name the rule and add a description (optional) then select FINISH when completed

[ Configure your printers IP Address]
- A. Go to the settings cog on the Ri 1000

- B. Select the OPTION under the settings tab

- C. Select the IP ADDRESS option in the menu dialogue box

- D. Enter the STATIC IP ADDRESS the printer will be using
❖ NOTE: Printer must be directly connected to a laptop/desktop device via the provided ethernet cable.
❖ For a DYNAMIC setup, enable the DHCP as shown below to add the printer to an existing network
Example:

Configuring the printer’s IP address (Windows)
- Connect the provided ethernet cable to the PC’s ethernet port and to the printers ethernet port

- For connecting directly to the printer from a PC that is not parts of a network. Open the command prompt dialogue box

- Type IPCONFIG in the first line in the command prompt

- In the Ethernet Adapter Ethernet section, use the IP address but change the last 3 digits to a number that will be unique to the printer and the Subnet Mask. In the example below, we took the XXX.XXX.XXX.172 and will assign 169.254.248.174 to the printer

- Enter the new IP address and the subnet mask into the printer by going to the settings tab, options IP Address (DHCP must be disable)

- Select the change option and make sure DHCP is disabled
[Adding a new printer to AnaRIP]
To utilize a connected printer via Ethernet, new printers must be added via the Manage Printers in the View section of the RIP.

View Manage Printers
*By default, the AnaRIP software will have the Ri 1000, 3000 (mP5) and 6000 (mP10) FILE listed as options.
- In the MANAGE PRINTERS dialogue box, select the ADD PRINTER BY ADDRESS

- Enter the IP ADDRESS for the printer
- Click CHECK to confirm the IP ADDRESS is correct

- Click ADD once IP ADDRESS is confirmed and correct
- Confirm the IP address matches the information on the printer
Preparing Media for Printing
2.1 Mounting Print Table onto Printer
- The Table is mounted on the table base using magnets shown below in black


- Turn the height adjustment knob to manually move the table up by turning the knob to the LEFT or down to increase the gap between the printhead and the table (for thicker substrates)
- Turning the knob to the RIGHT or up will move the platen up towards the printhead (to achieve best print quality, get print table within 1.5mm of the printhead carriage).
- For Dressed T shirts (only one side of the T shirt on the platen), having table set to 0 – 2mm will allow for best results. For undressed T shirts (both sides of the T shirt laying on top of the platen) 2- 4mm will yield the best results.
NOTE – always be as close as possible to the print heads. Not only for the best prints, but the further away from the print heads the shirt is the more there will be ink mist which will cause the need for more frequent user maintenance, cleaning the heads, maintenance station and encoder (Chapter 8) and can cause machine malfunction.

2.2 Mounting Substrate onto Print Table
- Place the substrate on top of the table then place the table hoop back over the substrate and table
❖ Sleeve or dress the shirt on to the table so that only one piece of the garment is laying flat on top of the table, pull garment from the sides, front and back to ensure no wrinkles are present, Wrinkles may cause head strikes to occur (pre-press shirts prior to printing to allow for a flatter surface)
❖ Note: Table hoop may not fit around thicker garments

- Click SET
with the garment as flat as possible. - If the media sensor detects an obstruction (part of the garment is closer than 1.5mm then the following will appear.

- 1st try flattening garment (easiest if dressed)
- lower table (slowly) if necessary. When clear Orange button will be turn white

- Then hit set when button is white
❖ Press the EJECT
button if it is necessary to redress the shirt (many wrinkles), then the SET
to confirm the obstruction has been cleared.
❖ Note: Having the table too far away will affect image quality. Ideally the garment will be 1.5mm away from the print head. When initially setting the table height, you should raise the table until you get the obstruction detected message then only lower the table slightly. Once the table height has been set in this way you should not need to adjust the table height again unless you are changing the substrate you are printing on (from T-shirt to sweat shirt for example)
❖ For this reason, when you get an obstruction message, you should always try to flatten the garment to clear the obstruction before lowering the table.
❖ Caution: Having the head too far away from the printing surface in addition to causing poor prints can interfere with the encoder function and cause an error due to excessive ink mist.
It can also cause damage to other components due to excessive ink mist. It is important when changing from a thicker fabric to a thinner fabric that the table height be adjusted.
2.3 Setting the Print Table to Ready Position
- By clicking SET it will bring the table into the printer
- During this process, an optical lens will scan the top of the table
- If the obstruction detection determines an obstruction, you will need to flatten the garment or lower the table slightly

[Moving Table]
[Set]
![]()
- This button moves the table into print position
※ If the table is stops during this process, the system has detected an obstruction and will need to be cleared
[Stop]
![]()
- This button is used to stop the printer during movement. If you press stop. The screen below will show up and you will be prompted to cancel the print or continue printing.

- This button is used to return the position of the print table and prepare it for another substrate.
Printing your image
Once you have made all of your adjustments to the printing Size, Position, Quality and Color Adjustments you are ready to save your design or print your image. See section 4 for light shirts and 5 for dark shirt details on how to prepare the image
- Load the substrate onto the table as described in section 2.3
- Confirm the table height is correct and there are no obstructions detected
- With the garment on the table press the SET
button - The Status Bar will show READY in the upper left-hand corner. If the status bar shows anything else such as maintenance or ink error etc., you will not be able to print
You can print in three ways
1) Send the printable file from the PC through the ethernet port. This is done by selected the printer in AnaRIP and pressing the print button (Details in section 5) The job ready to print will show in the preview window.

Note: As of Panel firmware version 1.34.5 – Once a job is loaded, you can select the number of copies you want to print. The right arrow increases the amount and the left arrow decreases the amount. After printing the number decreases by one and then you can print the next copy by pressing Set.
2) Selecting a job from the USB flash drive

Tap the desired file to print then select the PRINT icon

The selected print will be displayed in the thumbnail preview

3) Print from the internal memory. Jobs previously sent from the PC will be stored in internal memory
Tap the Stored Job Icon
![]()
Tap the desired file to print then select the PRINT icon. You can also delete jobs in internal memory by tapping on the file or files so that there is a check mark in the box to the right and tapping the delete button. All select – check marks all jobs in memory.

If the pint button was selected, the selected print will be displayed in the thumbnail preview

4) To CANCEL a print job press the
button during the print, the following dialogue box will appear

Then select the CANCEL button to stop the current print job.

When sending the print job directly thought ethernet and the substrate are SET and in the READY position, the job will print once successfully transmitted from AnaRip
A file that has been previously been sent directly to the printer can be retrieved from the printer’s Internal Storage for reprinting Select Job from Internal Storage. You can now scroll through all of the print jobs and select the file you want to
Using RIP software to create printable files
There are two software options available to you to create printable files. Your printer ships with the security dongle license for ColorGate software and below is a link to where the instructions for use and downloadable files are located. You can also download AnaRIP from our website and the instructions and details for use of AnaRIP are included in this manual starting with section 4.1. Both these programs create printable files.
Get Started With ColorGATE Productionserver 10 (PS10) RIP Software!
ColorGATE Productionserver 10 (PS10) RIP Software is included for free with your RICOH Ri 1000 and can be used to convert images into printable files.

The included USB Protection Key is required to run PS10 on your desktop or laptop computer. Your actual PS10 RIP Software must be installed separately.
For software download, installation instructions, user manual, and additional information, please visit: https://RicohDTG.com/colorgate.
For assistance, please contact Technical Support at 1-877-646-0999 or at [email protected]
4.1 AnaRIP Raster Image Processor
Ri1000 AnaRIP printing software is provided for online download at: http://RicohDTG.com/downloads. AnaRIP is a raster image processor (RIP); it is software which converts the graphic design to bitmap data suitable for printing. In the process, smoothing or interpolation algorithms are applied to the graphic data, ink drop size and exact placement of inkjet ink drops are determined. Thus, the quality of the RIP program used greatly affects the quality of print. Generally, RIP programs are difficult to learn and
operate in a production environment. RicohDTG has created a powerful RIP program with AnaRIP that is optimized for apparel printing.
❖ For optimum results below are the suggested image file settings:
- Minimum 300 DPI
- Canvas size 16 x 20 (maximum/Large Platen)
- Images to be designed in CMYK color mode best Color accuracy
- Recommended file types for LIGHT shirt printing are; .PNG, TIFF, JPEG
- Recommended file types for DARK shirt printing are; .PNG and TIFF as they support transparency features and allow for a much more commercially acceptable print
- AnaRip is able to accept many other file types including but not limited to; PDF, AI, PSD, and GIF
4.2 Printer Performance
Before you start a print job you will want to make sure you have proper ink flow and print quality to assure the best results. This will require that you perform a Nozzle Check, possibly followed by a Print Head Clean if needed. Before printing make sure that you have gone through all of the setup procedures before this chapter. This first thing you will need to do is a Nozzle Check. The Nozzle Check is going to show you how the Print Head Nozzles are performing and if it will require any Print Head Cleans to restore nozzles that are missing. Each color channel must be 100% of the total nozzles to be acceptable, white channels can have a missing nozzle. The intelligent auto clean feature will keep your printer at ready position. Having a good Nozzle Check will give you the best quality prints. Missing nozzles and a poor Nozzle Check will result in low quality prints. If the Nozzle Check is good, then you can now begin printing. If the Nozzle Check is bad you will need to perform a Print Head Clean This will then be followed by another Nozzle Check to ensure the performance print head nozzles. If the performance is still not acceptable repeat this process.
The definition of a light garment is any print that does not use white ink. The general rule to determine if you need white is if the colors of the image you are printing are darker than the color of the substrate you are printing on, white ink is not required.
You will now need to have a graphic that is ready to be place into the AnaRIP software. You should design your images at the full size that they will be printed with a resolution between 100-300 DPI and a canvas size of 16×20 or smaller (depending on platen size).
The AnaRIP software has a limited number of possible file types you can use. They are JPG, TIFF, and PNG. We recommend that you prepare your images as TIFF or PNG file types. The TIFF and PNG formats both support transparencies generally required for dark shirt printing and use lossless compression that will keep your file high quality.
It is also good practice to avoid saving images as JPG. These are compressed file formats originally design for internet use only that loose quality every time they are re-saved. If you are using the native Adobe file formats of AI or PSD you must flatten all of the layers of you image and save this version for printing your complete image.
Open the AnaRIP program from your desktop.
Once the program is open you can now place the graphic you would like to use by selecting Place Image under the File drop down in the upper left corner of the program. You may also drag and drop a graphic into the program by clicking on the file and dragging it onto the preview are of the AnaRIP software.
- Your graphic should appear in the preview screen

View Menu
- At the right top of the settings you will see a drop down select for View. When printing a light garment, you will see 3 choices.
Color Layer: Displays the CMYK Colors that will appear on your substrate/garment
True View: “What you see is what you get” (WYSIWG), Displays how the final result should appear when print is completed.

- Textile Color Selection: Change the textile color to determine if your image requires a white under base. Light color garment examples are; Yellow, Pink, Light Blue etc. By changing the textile color your preview will change (shown below)


- Color and True View: Displays side by side preview of both the CMYK color Layer and the final result
The second tab will be the open default view; this tab is called Print Settings. The first option you will encounter in the Print Settings Tab is the Printer Name drop-down. Here you can select where the print job will be sent when the print button is pressed. If ETHERNET is selected in the Printer Name drop-down then when the print button is pressed the job will RIP to the Ri 1000 printer that is currently connected to the computer through the ethernet cable. Printing this way is similar to using any standard desktop printer. If Ri 1000 File is selected, then the AnaRIP software will process the file to destination of your choice. You can RIP your files to your computer’s desktop or to a folder of your choice and print them later, or you can RIP your files to a USB Flash Drive, which can then be plugged into the printers control panel.


- Platen Size: By default, when the Ri 1000 printer is selected, the Platen size will also default to MEDIUM 12.6 X 18 in. This is the Platen that will be included with your printer LARGE 16 x 20 in and SMALL 10.5 x 13 in are optional Platens that can be purchased as an accessory.

- Quality and Variable Dot Range: When the Ri 1000 is selected the default print setting will BE set to a fine QUALITY and an extra wide VARIABLE DOT RANGE
- The Quality has two other options described below:
o SPEED: Used to test substrates not recommended for final print or solid color blocks - The Variable Dot Range has two other options described below:
o Narrow: Only used for special media that requires much less ink. Will not be enough ink for most fabrics. Will only print in uni-directional mode. Bi-directional mode is disabled for this drop size.
o Wide: Only used for special media that requires much less ink. Will not be enough ink for most fabrics. Will only print in uni-directional mode. Bi-directional mode is disabled for this drop size.
o Extra Wide: This is the default that should be used for most prints
- Number of Copies is disabled for Ri 1000

- Bi-directional Color Printing: By default, this option will be enabled. This will allow the printer to print in both directions (left to right, right to left) allowing for maximum productivity and speed.
o By unchecking the Bi-directional color printing option, you can achieve a much more accurate CMYK Print but it will sacrifice the speed/productivity as you will be printing ONLY from right to left.
Scaling will adjust your image Horizontal and Vertical size by a percentage. If the lock is clicked on, the aspect ratio of the image will stay the same so the image will not become distorted in size.
Size will affect the images size in specific measurements horizontally and vertically. If the lock is clicked on the aspect ratio or the image will stay the same so the image will not become distorted in size. You can also change the image print size by clicking on and dragging on the image frame in the preview area.
I you drag the corners the aspect ratio will be maintained. If you drag the tops or sides you will stretch or compress your image.
Position is for placement of your graphic into a specific area of the Print Table. This will be used to move a graphic higher or lower vertically or left to right horizontally. The image can also be moved by dragging the image with your mouse in the preview screen. If you want to center your image on the print table horizontally or vertically, the Center button for each can be used. Using the Rotate buttons will rotate your image in 90 degree increments left or right.
Input Color Profile
An ICC profile contains information for converting an image between a device-specific color space and a device-independent color space (Photoshop).
The input ICC profile translates color data created on a device (such as a digital camera) into the PCS, profile connection space. The RIP uses the output profiles defined in the Ricoh Ri 1000 Ink to convert from the PCS into the native color space of the Ri 1000.

- ICC Input Profile: Images created in Photoshop most often contain a built a profile for the specific color space the image was designed in. The rip allows you to change use a different ICC profile instead of the ICC profile that is part of the image file. ** It is recommended to use Profile from image in most print cases (if available). If the graphic was created as a CMYK graphic and there is no profile from the image, it is recommended that SWOP (U.S. Web Coated (SWOP) v2) is selected.

- Rendering Intent: specifies the rendering intent that this step should associate with the job. Rendering intents inform the printer what action to take when a print job includes colors that lie outside the color range of the printer.
o Perceptual: The printer adjusts all the colors in the image, so they are all in the color range of the printer and maintain their color relationships to each other. In general, the most accurate, used for photographs and fine shadowing.
o Saturation: (Default) The printer substitutes the nearest color that it can print for out-of- range colors and adjusts in-range colors to make them more vivid. For most graphics for T shirts, this yields the best results and is the default.
o Relative Colorimetric: The printer substitutes the nearest color that it can print for out-of- range colors; in-range colors are not adjusted.
o Absolute Colorimetric: The printer substitutes the nearest color that it can print for out-of- range colors, and then all colors are adjusted based on the white point of the media.
- Color Controls: Allows you to adjust the graphics Brightness, Contrast and Saturation. The Color Controls effect will be visible in the preview screen when they are adjusted.

4.3 AnaRIP Advanced features
Manage Ink Set Profiles
By default, the printer is set with Ricoh Ri 1000 – It is recommended that you do not change this as the profiles and internalization curves for this ink set have been calibrated specifically for this printer and ink.

Ink Set Profile Management. (ADVANCED)
To add an additional Ink Set, select the Plus sign and proceed to fill in the ink set editor.

Manage Color Profiles
To add a new ICC color profile, click on the plus icon and locate the location of the file on the PC. Profiles can be created through the use of X-Rite IProfiler or other similar products.

To add a new linearization curve, click on the plus icon and locate the location of the file on the PC. AnaRIP comes with a curve editor preinstalled. The curve editor can be located in the Start Menu of the PC.
** Note: The default profiles do not require linearization curves**

Curve Editor
The curve editor allows the user to develop their own color curves which can be imported into the rip.

Remember to press the Apply button so the changes are saved for the next print job. When you Enable ICC preview within the AnaRIP, this is modifying the current screen settings on your computer to display our color profile used for the output of our AnaRIP color profile. This function will not change the output of the printer. It will help you see the true color profile rather than the preselected color profile on your monitor. This feature will help achieve color accuracy once you start your production. You can find this feature selected below in the picture.

4.4 Removing Garments from the Print Table
After printing has completed, remove the hoop from the table. Do not touch the image as the ink is still wet at this point. Remove the garment from the table being sure that the printed image is facing you when it is removed. Do not let the shirt fold or touch itself as this could cause ink transfer to other parts of the garment. Take the garment to your heat press or conveyor dryer fix the ink to the garment.
CAUTION
- When removing the fabric, be careful so that your hand or any other part of your body does not come in contact with ink. If your skin comes in contact with ink, wash the affected area thoroughly with soap and water. If your clothing comes into contact with ink, wash the stained area with cold water.
4.5 Set the Image with Heat
User’s Notes
• For information about how to use the heat press device, see the manual.
In order to cure the ink so that your images will be color-fast when washing, it is necessary to heat treat the image so that the image bonds with the garment.
- If you are using a heat press place the garment on the heat press platen with the printed side up. Pull by the edges to ensure proper placement and that it is flat on the heat press, minding not to touch the wet ink. Cover the garment with a sheet of SoftTouch heat press paper, for Ricoh authorized ink. Close the press and heat the printed garment for 100 seconds at 356ºF or 180ºC. The pressure applied by the heat press when close should be in the medium range. When the time is completed open the heat press and remove the heat press paper immediately. SoftTouch heat press paper can be reused several times. Note: If the pressure on the heat press is too low, the wash fastness of the garment can be reduced and prints will fade quicker with washing.
- Instead of SoftTouch, a Teflon sheet or Kraft Paper Cover Sheet can be used. When reusing the SoftTouch Paper, make sure there are no wrinkles as these will transfer to the garment. If this is the case use a new sheet. The printed garment is now completed. If you are also printing dark shirt images you need to reduce the heat press temperature and increase the time. Settings for dark garments of 330ºF or 165ºC for 90 seconds will also work for light garments.
- If you are using a textile oven or conveyor dryer, please test the temperature of the printed image when it exits the dryer to assure that it has reached 330˚F or 165˚C. Also, please do a wash test of your first attempts to be sure that the inks have cured properly and wash ability has been attained.
Ricoh Authorized Ink Temperature Time Light Shirt with Heat Press 356˚F or 180˚C 100 seconds Light Shirt with Conveyer Dryer Printed image must reach 330˚F or 165˚C Varies Heat Curing Temperature and Time Variations for Light Garments
Using AnaRip to Print Dark Garments
Pretreating Substrates (light and dark)
CAUTION
- When swallowing or inhaling ink, cleaning solution or pretreatment liquid, or when getting them in the eye, follow the guidance in the appropriate safety data sheet (SDS). Download the SDS from the RicohDTG website at http://RicohDTG.com/technical-documentation
CAUTION
- Place ink, cleaning solution, and pretreatment liquid in a cool, well-ventilated place out of the reach of children.
- Keep waste ink, containers for ink, cleaning solution and pretreatment liquid, and components that have been in contact with ink out of the reach of children.
- When handling ink, cleaning solution or pretreatment liquid, avoid getting anything on your clothing. If you do, wash the stained area with cold water.
Pre-treatment Liquid is to be used with care. Do not let it contact your eyes. Do not breathe in the vapor or mist. Thoroughly wash your hands after handling it. If your clothing gets contaminated, wash it before reuse. If an accident happens please follow the Caution and First Aid instructions on the Pre-treatment Liquid bottle label.
Due to the corrosive nature of the pre-treatment solution, we recommend that all users apply pre- treatment using gloves and a dust mask. Follow the instructions on the label. For dark substrate printing, the most critical process is proper application of Pre-treatment Solution onto the substrates. Spotty or improper application of the Pre-treatment or improper drying will result in white ink not bonding properly with the substrate fabric. This in turn will cause poor image quality and premature wash out of the image.
For additional information, please refer to the SDS sheets located on the website at http://RicohDTG.com/technical-documentation
[Pre- treatment Application Procedure]
- A well-ventilated room. Good ventilation is essential for worker comfort and health. Application of Pre- treatment Liquid outdoors is not recommended on windy days as it can cause uneven application. It is recommended that a room away from the printer be dedicated to the application of pre-treatment so that the spray will not affect your printer.
- Our recommended process for applying the Pre-treatment Liquid is to use a High-Volume Low Pressure (HVLP) spray gun. These spray guns are commonly used for applying paints and are available from paint supply stores or home improvement stores. The Wagner Control Spray Gun, available for US customers ONLY and Campbell Hausfeld Paint Sprayer, found in local hardware stores are both good choices.

- Fill the sprayer reservoir with the mixture.
- Lay the substrate on a flat spray table. Make the substrate even and flat.
- Apply the pre-treatment mix with the sprayer adequately and an even amount, achieving an even wet sheen. Remember you only need to apply the pre-treatment to the areas that will be printed on.
- Squeegee the pretreatment in one direction to help spread the pre-treatment evenly after spraying. This also flattens any fabric fibers that may have risen due to the application of the wet pre-treatment.
- Dry the substrate. You can achieve an excellent result by letting the substrates air dry or you can use a heat press in the hover position (This means the heat press is not closed but has a ½-inch to 1-inch gap to allow the steam to escape) or a heat tunnel. Do not dry your substrates in a tumble dryer. These dryers are full of lint and since the pre-treatment is wet and somewhat sticky you will end up with lint stuck to the pre-treatment.
- Once the substrate is dry to the touch, its able to be printed on. If you plan on storing the substrates for later use, be sure that they are completely dry beforehand to prevent mildew.
- When first attempting the pre-treatment process test with a few shirts to determine how much to spray. Too much pre-treatment can leave dark areas on the substrates. Too little pre-treatment can make the prints look dull. The performance of white ink is highly dependent on proper application of pre-treatment.

Poor Pre-Treatment Can Be Seen on the Left Side of this Image and is shown to be muddled, gray and not as solid as the nose of the leopard (green arrow)
- Check the Enable White Underbase box to use white underbase layer in the print

5.1 Underbase
When you enable white ink three things will happen. First the background will switch to black, unless you have a different Preview Color selected. Select the Underbase layer in the view section where True View is displayed by default. Quality Modes available are Draft – just used to see the placement of the graphic on the garment and Fine – for printing finished product. The only dot size available is Extra Wide.

5.2 Underbase Tab Settings
By default:
- Content based checkbox will be checked will only use white ink where required in the image (grayscale effect)

- Quality is set to Fine
- The Variable Dot Range will be set to Extra Wide.
❖ The Bi-directional Underbase printing checkbox will be checked for optimum speed when printing the Underbase.
❖ Content Based Unchecked
This feature will use print an underbase for all colors being used in the color pass.
- Note: when using the content based unchecked, it is highly recommended to also add a color layer wait time/dry time in between the white underbase and the color layer
- In the printer
tab - Tap the
icon - Tap
icon - Insert a numeric value in seconds based on how saturated the white under base is


White Ink Enabled> View> Menu Options
Using the View option, you can monitor how your adjustments to the Underbase will affect your printing results by selecting the Underbase and TrueView option (The Underbase and TrueView images should now be visible in the preview screen. There are five ways to adjust your white Underbase, Color Contrast, Opacity Contrast, Choke, Individual Color Adjustments and Pure White. Note that some of the functions are disabled when Content Based is not checked.

5.3 Underbase Adjustments
Color Contrast will affect the amount of white used in the image and can be adjusted with the Color Contrast slider bar. Moving the Brightness slider bar all the way to the right to 100 with give you a more solid white ink Underbase and in turn brighter colors. Moving the slider bar left towards – 100 will create more of a grey scale white Underbase and less vivid colors

Opacity Contrast is only active when your image has a soft or semi-transparent edge or the image has semi-transparent colors in it. Moving the slider bar to the left will reduce the amount of white Underbase beneath these areas to help create a smoother blend.

5.4 Choke
Combats the phenomena that when printing the White ink Underbase onto a garment the garment will expand and swell. This is the same for any type of garment printing including screen printing. The Choke setting slightly reduces the outside dimensions of the Underbase so that white ink does not appear outside the prints edges of the final color pass. Under the Choke setting use the default value of 2 on a full size print, you will lower this if your image is small. If you see any white around the edges of your final print you will want to increase the choke value.

If you are printing an image that is only white you will need to set the Choke to 0 to prevent parts from dropping out completely.

Individual Color Adjustments By selecting a color from this drop-down menu you are able to increase or decrease the amount of white ink Underbase that will print under that color. This will help you bump up or bring down certain colors in your final print. You can multiple different colors using this setting.

5.5 Pure White
Is set at 100 by default to print the whitest ink in the pure white areas of your image. If desired this can be lowered here.
Pure White Adjustment
Remember you can still further adjust your image by changing the settings on the Color Adjustments Tab. Also located on that tab is the Transparency window that will let you remove a color range from your image to create a transparency. This feature is limited so you may achieve better results using your image editing software.
Enable White Highlight

- White Highlight allows for a second layer of pure white to be printer during the color layer, allowing for a brighter white. If using white highlight, make sure there is dead pixel space between any large amounts of pure white and any CMYK color as it may cause white ink to mix the color at the edge. If there is no dead pixel space, the high light slider can be adjusted down from 100 to accommodate. Note: The enable highlight box can be selected even if the white under base is not enabled which allows prints with CMYK and white sections to be printed in one pass (no under base under the CMYK parts) In this case the garment will still need to be pretreated and wash results on the CMYK portion will vary based on fabrics and pretreats. (In some cases the garments will no wash that well)
- To remove all of a specific color range, select Select Color. Then click the color you want to remove from your image. The selected color will be removed from the entire image. You can increase the range of the color removed by adjusting the Color Tolerance slider.


5.6 Select Border Color to be Removed
You can also select to remove a Border color. This removes a contiguous color up to when it changes to another color. Please note that better results will be achieved by using your image editing software to create transparencies.
Once you have completed your settings and adjustments you can now send your image to the printer by pressing Print or save the graphic to your computer or a USB drive by selecting Print to file.
The Printer will first print the White layer. Once completed, the printer will print the Color Pass. Since the white Underbase layer may not be dry enough to receive the color layer, there is an adjustment on the printer’s options menu to set a wait color layer wait time before the color layer is printed. By default, it is set to 0.
5.7 Set the Image with Heat Treatment
User’s Notes
- For information about how to use the heat press device, see the manual.
In order to cure the ink so that your images will be color-fast when washing, it is necessary to heat treat the image so that the image bonds with the garment.
- Place the garment in your heat curing machine image side up set to the correct settings found below.
- If you are using a heat press, bring the top down to within 1 inch of being closed and hover the heat press over the image for 15 seconds. This hovering step prevents the mixing of the white and color layers. Both layers are still wet and need to set up a little before applying pressure. This step is needed to produce the best final result when using a heat press.
- Re-open the heat press and cover the image with Soft Touch heat press paper. Instead of Soft Touch, a Teflon sheet or a Kraft Paper Cover Sheet can be used. If you use a Teflon pad it will leave a semi-glossy look to the prints.
- Close the heat press and let the ink cure for the prescribed time. (Figure 7.6-1)
- When the time is completed open the heat press, remove the heat press paper and your printed garment is complete.
- If you are using a textile oven or conveyor dryer, please test the temperature of the printed image when it exits the dryer to assure that it has reached 330˚F or 165˚C. Also, please do a wash test of your first attempts to be sure that the inks have cured properly, and wash ability has been attained.
| Ricoh Authorized Ink | Temperature | Time |
| Dark Shirt with Heat Press | 330˚F or 165˚C | 90 seconds |
| Dark Shirt with Conveyor Dryer | Printed image must reach 330˚F or 165˚C | Varies |
Heat Curing Temperature and Time Variations for Dark Garments
Maintenance
Your printer performs automatic maintenance routines based on time and use. Because of this your machine is almost always ready to print when you need it. However, it is also best practice to perform a nozzle check prior to printing.
Below is a list of maintenance procedures and frequency for those that are time based.
| Period | Perform |
| Every 1 hour | White ink circulation |
| Every 3 hours | White channel cleaning |
| Every 12 hours | All channel cleaning |
| Every 7days | Alarm agitating white cartridge Alarm manual cleaning |
ATTENTION! Auto maintenance will not be performed if the following conditions occur. Failure to perform Auto maintenance can result in a clogged print head. These conditions need to be cleared ASAP so auto maintenance can be performed.
Printer is powered off. (Always keep the printer powered on)
Ink cartridge is missing or reading 0%
Waste tank is full
CR encoder error and other errors
Any Service call message (see trouble shooting guide)
Front cover is open
The ink bay has been opened for maintenance
If the auto maintenance is not being performed, then the print heads can be clogged.
IF Auto maintenance is prevented from happening for any reason the following message will appear

When acknowledged by pressing yes – the message will reopen in 5 minutes if the condition that prevented auto maintenance is not cleared (empty cartridge, full waste tank etc.) Failure to address the underlying condition that is preventing auto maintenance in a timely manner will result in head clogging so if you do not know how to clear the condition, contact technical support immediately for assistance. There are several warning messages that pop up to alert you of conditions that need to be addressed or need to be addressed soon. Low ink:

ATTENTION: For white ink – you should change the ink cartridges when they have gone below 5%. This is because, if the ink cartridges have not been shaken every day as instructed then the last bit of white ink in the cartridges will be very thick and can clog the heads quickly. Selecting OK will remove the message – it will reappear in 12 hours if the condition is the same. Ink empty

Once an ink cartridge is empty, auto maintenance will not occur and head clogging can occur.
Pressing OK will clear the message and it will reappear in 12 hours if the cartridge is not replaced. Waste ink bottle almost full

Waste ink bottle full
Once the waste ink bottle is full, auto maintenance will not occur, and head clogging can occur.
Pressing OK will clear the message and it will reappear in 12 hours if the waste ink bottle is not emptied and reset on the control panel.
Parts with service life warnings:
Similar messages will appear for the parts listed in the parts replacement screen. Warning when the life of the part is near the end. And Attention when the part has reached the end.
Note: Only the left ink sump and right ink sump will stop printer operation and auto maintenance when the service life count has been reached. Not the other parts such as the fan filters, maintenance station, carriage unit and ink supply units. Printer operation and auto maintenance will continue when the service life is reached for these parts. A part that has reached its service life count is considered to be out of warranty.
6.1. Nozzle check
- Make sure to perform a nozzle check before printing. If there is a nozzle clog, perform head cleaning until the clog is removed and reflected on the nozzle check.
- You should also perform a nozzle check daily as this is a good indicator of the printing conditions and will allow any clogging issues to be addressed while they are minor and easily resolved.
- Nozzle checks must be performed on transparent overhead projector film
- If any part of the transparent overhead projector film is curled, tape it down to avoid an obstruction detection
- The MEDIUM sized platen (included with the printer, optional small and large tables available) must be used to perform the nozzle check

- Press SET to move the table to the print position
- Press
button located in the
tab - Check the results of the printed nozzle check pattern

In your nozzle check please check for the following and take the appropriate steps:
Perfect Nozzle Check 
Nozzle Deflection: When horizontal lines are uneven —
Clogged Nozzle: When the horizontal lines have small or minor gaps — —
As a general rule: A missing nozzle in the CMYK channels may show in some prints while a few missing nozzles in the white channels will not affect the prints.
6.2. Automatic Head Cleaning

- Press AUTO HEAD CLEAN button to perform automatic head cleaning.

- In this dialogue box, choose the channel to clean using NORMAL for small or minor missing nozzles
- Use STRONG when there are large missing nozzles in the nozzle check
❖ If missing nozzles persist after performing the normal or strong cleans, let the printer sit idle overnight (6+hrs)

- After performing the normal cleaning, nozzle condition is not recovered proceed to using the STONG clean option
- Strong cleans are the best to resolve deflection.
- As a rule, most missing nozzle issues can be resolved by normal cleans
- Nozzles tend to drop out more in dryer environments. That’s why it is buts to keep the humidity levels at 45% or above.
Warning
STRONG head cleans will use more ink than the NORMAL cleans, use only as needed


White Clean Frequency can be found on page 2 of the options
- This option determines how often an automatic white head clean will occur while printing. Below is a description of the clean levels.
(LOW) L1 After 20 CMYK only Prints or after approximately 10 (varies depending on size) CMYK and White prints a white head Clean will occur
L2 After 15 CMYK Prints or 7 to 8 CMYK and white a white head clean will occur
(Default)L3 After 10 CMYK Prints or 5 CMYK and White a white head clean will occur.
L4 After 5 CMYK Prints or 2 to 3 CMYK and White prints a white head clean will occur.
(HIGH) L5 After 1 CMYK or CMYK and white print a white head clean will occur.
6.3 Manual Head Cleaning
- If the Nozzle status is not recovered with automatic head cleanings (NORMAL or STRONG), then you must clean the head manually.

- Pressing the MANUAL HEAD CLEAN button will release the print head and moves it to the center of guide rail
- Open the cover of the printer to allow for better visibility of the print head carriage
- Using a large cleaning applicator, wipe the printheads in one direction, from back to front.
DO NOT SCRUB the printhead. DO NOT reuse the same large cleaning applicator for a new printhead (Refer to Chapter 8 for details)

- clean the gaskets and wiper mechanism. Use only Ricoh cleaning applicators and Ricoh type 1 cleaning solution. All fluid should be removed with a dry Ricoh cleaning applicator to complete cleaning. Refer to chapter 8 for details.


- If the manual cleaning is finished, press [END] button to return to the previous menu and to return the carriage to its home position
6.4 Agitating White Cartridge
The printer will prompt you every 12 hours with the following message:

CAUTION:
DO NOT hit or drop it when stirring. As it may cause injury, cartridge damage, ink leakage.
DO NOT excessively agitate/swing. as it may cause ink leakage.
MUST AGITATE/SWING as instructed. Other methods may cause ink leakage.
- Hold the cartridge horizontally as shown in Fig. 1.
- Shake the cartridge in the direction of rotation left and right as shown in Figure 1. of the arrow in Fig. 1.
- Make the ink cartridge reciprocate for 50 seconds in the direction of rotation of the arrow in Figure 1 in the left and right directions.
- Shake speed is the speed to make two reciprocations per second.
Failure to shake the cartridges as instructed will lead to duller looking prints and can cause head clogging when the ink level of the cartridge is low.

Warning
DO NOT shake cartridge too fast or hardly.

- After agitating cartridges, insert the cartridges
6.5. Circulation
- This printer has the function of white ink circulation that moves the white ink in the system from the ink bay to the printhead and back. This is used to avoid the white ink settling within the lines and provides quality white ink prints.
6.6. Empty the Waste Ink Bottle
- Once a certain amount of ink has been used, the following message is displayed on the touch panel.
- Put the waste ink from the waste ink bottle into a container to discharge it.
- You can check the amount of waste ink on the [Status Panel] and reset the waste ink counter.

- To reset the waste ink counter, after the waste ink tank has been emptied, press [WASTE INK RESET] button.
Attention! Once the waste ink bottle is full, auto maintenance will not occur, and head clogging can occur.
Attention
❖ Do not reset the waste ink tank warning WITHOUT emptying the waste ink tank, this will avoid any spilling or other potential hazards
Adjustments
- This section describes how to adjust the image quality of this printer from touch panel.
- Although the printer head nozzle status is good, if the printer quality is not good, this process needs to be performed.
- These functions can be performed on the
tab.

- You can print the basic adjustment pattern. Also it’s better to print it on transparent A4 media (such as OHP films).
- And it is recommended using medium-sized platen.

- If a part of the media is raised, use tape to fix the four corners of the media.
- Then, press the
(set) button to send the table into print-ready position
7.1 Adjusting Head
Typically, this adjustment will only be necessary after a part replacement such as a carriage or CTL replacement.
– This function adjusts the print head alignment position. When the print result is not clear (for example, vertical lines are misaligned, or color is not clear. Print is fuzzy) this adjustment mayimprove the result. NOTE: Always check the table height 1st . The reading on the dial should be close 0 in most cases. If the printing surface is too far away from the head the prints will be fuzzy and the lines may not appear straight

- Press the button, the pattern of adjusting head is printed.

- After finding an appropriate adjustment value form the print result of adjustment pattern.

- Find a pattern with a square in the lightest color and vertical lines on both sides are the straightest (or closest to this condition) aligned in row A
- Note the value indicated over the pattern indicates an appropriate adjustment value.
- An appropriate adjustment value is “+2”. In this example
- Enter this value in the box for ROW A (up arrows make the value go up, down arrows make the value go down)
- Repeat this for the other rows in the test pattern (B, C, etc.)

- When there are no straight vertical side lines, like upper illustration, check the last square out of the sequence of squares with the smallest gap inside lines and find a corresponding value.
- As upper illustration, the value is “+4”.
After you have entered a value for all the rows, press the ALIGN button which sets the new values.
Reprint the pattern and repeat the above process
Repeat the process until all rows (A,B,C etc.) show the 0 column or close to the 0 column shown as the best value
You can always reset to the original settings by entering the factory reset button by going to the settings tab and select OPTION

7.2 Adjusting Table
- The printing indexing of the table can be adjusted. Typically, you would not need to do this unless a component was replaced such as the sub control board or the CTL board.
- If the print result shows horizontal lines and the nozzle check is perfect (no missing nozzles and no nozzle deflection and the table height is correct), you need to do this function.
- Press the button of print position.

- Find an appropriate adjustment value from the print result of adjustment patterns.

- Find a pattern with a square in the lightest color and horizontal lines on both sides aligned.
- A value on the upper part of the pattern indicates an appropriate adjustment value.
- An appropriate adjustment value is “+6”.

- In some cases, an adjustment value is an in-between value of patterns
- When a square is in the lightest color, horizontal lines on both sides are misaligned.
- In the upper illustration, a square in the lightest color is for “+6”, but horizontal lines on both sides are misaligned. In this case check horizontal lines for one pattern above and one pattern below of the square.
- The horizontal lines for “+2” and “+6” are misaligned in the same direction, but the horizontal lines for “+14” are misaligned in the opposite direction.
– In this case, a value that horizontal lines align exists somewhere in between “+6” and “+14”. After passing the value, the horizontal lines begin to be misaligned in the opposite direction as getting closer to “+14”
– By referring to the alignment of the lines, decide a value between “+6” and “+14” as an appropriate adjustment value.
After entering the value press the ALIGN button and reprint the pattern
Repeat the process until the pattern print shows 0 or close to 0 as the best result as described above.

7.3 Adjusting the print position
- The printing start position can be adjusted accurately within the range of ±4mm. Use this if appears that the print is not centered. This typically will only need to be adjusted if a component such as the Z-axis or CTL was replaced.
- Call technical support and they will send you a special alignment print file. Then print this file with no paper or media on the platen and the height set to 0. This file will be printed directly on the platen. Then you can press the alignment button below.
- The
button is for adjusting the printing position.

- After printing the pattern for the print position adjustment, you have to find appropriate value based on the alignment files alignment the to the 4 screws on the platen.

Position the paper so that the cross on the test print paper comes at the right bottom corner.
- Values can be selected between “-4.0” ~ “+4.0” in increments of 0.1mm.
- To move the print position to the “A” direction, input a value between “-1” and “-4” in the Table input area
- To move the print position to the “B” direction input a value between “+1” and “+4”. In the head input area
- To move the print position to the “C” direction input a value between “+1” and “+4”. IN the table input area
- To move the print position to the “D” direction input a value between “-1” and “-4”. IN the Head input area
After entering the values – press the align button to set the values
Wash off the previous print on the platen and then reprint the alignment file given by technical support to verify that print is now centered. Repeat the process if necessary.
Replacing Service Parts
8.1 Service part
- This printer has some replaceable service parts and sumps that are monitored for service life

- Each icon will provide the status of each service part

- When a component is selected, the replacement dialogue box is displayed. It shows the count and the date last replaced.
- The color of each component will be displayed in Green or Yellow and Red.

NOTE: This is a suggest service life end based on averages – printing and maintenance operation will not be interrupted when the service life end is reached for all components except the left and right sumps. These sumps will have to be drained or replaced when the service life end is reached. Failure to do so can result in ink spilling damaging the printer electronics. Contact technical support. The components such as the maintenance unit will not be replaced under warranty when the service life is reached (typically this is several thousand prints depending on use)
8.2 Maintenance Schedule
Daily
The Ri 1000 will prompt you every 12 hours with the message below:

CAUTION:
DO NOT hit or drop it when stirring. As it may cause injury, cartridge damage, ink leakage.
DO NOT excessively agitate/swing. as it may cause ink leakage.
MUST AGITATE/SWING as instructed. Other methods may cause ink leakage.
- Hold the cartridge horizontally as shown in Fig. 1.
- Shake the cartridge in the direction of rotation left and right as shown in Figure 1.
Failure to shake the cartridges as instructed will lead to duller looking prints and can cause head clogging when the ink level of the cartridge is low.
- Make the ink cartridge reciprocate for 50 seconds in the direction of rotation of the arrow in Figure 1 in the left and right directions.
- Shake speed is the speed to make two reciprocations per second.

Warning
DO NOT shake cartridge too fast or hardly.
The Ri 1000 will prompt you with the message below every 7 days
When prompted you should perform
Clean the maintenance unit
Clean around the heads
Clean the encoder: Note – the encoder may need to be cleaned more often when printing frequently – suggest ever 30 prints if printing dark shirts to avoid encoder errors.
Grease the guide rails (depends on use 1 time a month is OK unless using 5 days a week 7 to 8 hours a day)

How to Clean the Maintenance Unit and the Flushing box
Cleaning part: The Maintenance Unit and the Flushing box
Timing of Cleaning: Cleaning once a week
Cleaning content: Clean the parts described below by wiping the Cleaning Applicator
impregnated with Cleaning Liquid. Wipe gently and politely.
Replace the Cleaning Applicator if it gets dirty.
Although it depends on the degree of contamination, It is a standard to use about 5 to 10 in a series of cleaning work.
CAUTION
DO NOT rub too strongly. DO NOT wipe other than the areas indicated.
There is a possibility that parts may be damaged, deformed or detached.
If parts breakage, deformation, or detachment occurs, it may cause a machine failure.
Cleaning time: About 10 minutes
Things to prepare: Gloves (commercial product, one that does not pass ink) / To wear
Protective glasses or goggles (commercially available) / To wear
Cleaning Applicator dedicated to Ri 1000
Cleaning Liquid dedicated to Ri 1000
<Cleaning procedure>
| Contents | |
| Step 1 | Press the “MANUAL HEAD CLEAN” button. Then the carriage moves to the center position. ![]() |
| Step 2 | Open the Front Cover. |
| Step 3 | <Cleaning the Moisturizing Cap> The Moisturizing Caps (three pieces) in Fig. 1 gently wipes off the top part, the side part, and the inner part of the cap schematic diagram shown in Fig. 2. |
| Step 4 | Fig. 3 shows an example of how to apply the Cleaning Applicator. Lightly moisten the cleaning applicator with only Ricoh cleaning liquid type 1 if necessary. |
| |
| Step 5 | Fig. 4 shows an example before cleaning, and Fig. 5 shows an example after cleaning. Dirt to the level of the example after cleaning.
|
| Step 6 | <Cleaning the Suction Cap> The method of cleaning the Suction Cap is the same as Step 3 the cleaning method of the Moisturizing Caps. However, there is a vacuum cap inset in the cap, clean it carefully so as not to shift or detach this part. Be sure to return the parts when the parts in the cap are displaced or removed. Press down until the spring bottoms out. If not returned properly, it may cause nozzle out. See Fig. 4 and Fig. 5 for the figures before and after cleaning. Wipe off any excess cleaning liquid with a dry applicator if necessary. For parts inside the Suction Cap, it is sufficient that the solid ink or the stuck ink is removed. |
| Step 7 | <Cleaning the Wiper and Wiper Cleaner> 1. Cleaning the frame top of the Wiper Cleaner Clean of the frame top surface indicated by the yellow line in FIG. 6. |
An example of how to apply the Cleaning Applicator is shown in Fig. 7.![]() | |
| Step 8 | 2. Cleaning the surface and the inside parts of the Wiper Cleaner![]() Clean the area indicated by the yellow frame and the surface of the Lever indicated by the green frame in Figure 8. ・Be careful as the lever is thin, easily deformed, broken, and detached. ・Clean the lever to the surface of the green frame and wipe it gently. |
| ATTENSION: ・DO NOT touch the bottom side of the lever or the lower side of the range of the red frame.
| |
| Step 9 | 3. Cleaning of the Wiper As shown in Fig. 12, Fig. 13, and Fig. 14, clean the front and back surfaces and the upper surface of the Wiper (rubber plate part surrounded by the yellow frame in Figure 11). |

| |
| Step 10 | 4. Cleaning up the Roller As shown in Fig. 15, rotate the roller, move the Cleaning Applicator back and forth, and wipe the entire circumference. |
![]() | |
| Step 11 | <Cleaning the Flushing box> If the top of the Flushing box or left ink sump is dirty with ink, clean it with a cleaning applicator as shown in Fig. 18. ・After wiping off, do not leave ink on the top of the Flushing box. ・The part indicated by the red circle in Fig. 18 is fragile, so wipe gently. |
| |
| Step 12 | Clean the Encoder Sheet, if necessary. (See clean the encoder sheet instruction) |
| Step 13 | Close the Front Cover. |
| Step 14 | Press the “END” button. The carriage moves to the right end, and the Head is capped.
|
| Step 15 | After completion of cleaning, perform “AUTO HEAD CLEANING.” (Recommendation) It prevents the ink from drying out and clogging the nozzles.
After completion, it is recommended to print the Nozzle Check and check that the ink discharge is normal. |
How to Clean the Cover of Head Nozzle Plate (the Nozzle Cover)
Cleaning part: The Nozzle Cover (Not the nozzle)
Cleaning frequency: Once a week
Cleaning content: In order to maintain the head discharge quality and to prevent
the printed surface from becoming dirty,
Remove solid ink, lint, etc. that stuck to the Nozzle Cover.
Cleaning must be done with a dedicated cleaning kit.
Cleaning time: About 15 minutes
Things to prepare: Gloves (commercial product, one that does not pass ink) / To wear
Protective glasses or goggles (commercially available) / To wear
Cleaning Applicator dedicated to Ri 1000
Cleaning Liquid dedicated to Ri 1000 (only if necessary)
<Cleaning procedure>
| Contents | |
| Step 2 | Press the “MANUAL HEAD CLEAN” button. The Head moves to the cleaning position of the Nozzle Cover.
|
| Step 3 | Open the Front Cover. |
![]() | |
| Step 4 | Put tray or paper under the Head. Prevents solid ink, lint, and Cleaning Liquid from entering the unit during cleaning.
|
| Step 5 | Prepare a brand-new Cleaning Applicator (large)![]() For cleaning, use the Cleaning Applicator containing the Ricoh Cleaning Liquid type 1 lightly moistened (not too saturated) and the Cleaning Applicator not containing the Cleaning Liquid. CAUTION: Be sure to use Cleaning Applicator and Cleaning liquid dedicated to Ri 1000. Otherwise, it may cause a failure. |
| Step 6 | Look at the bottom of the Head and clean the Nozzle Cover periphery. Clean according to the following instructions【Details of cleaning part】. |

【Details of cleaning part】
<① nozzle cover surface>
Clean the surface of the specified area of the Nozzle Cover with the Cleaning Applicator –

Do not clean the nozzle side cover with a wet cleaning applicator. Use only a dry cleaning applicator
As shown in the figure below, clean along the arrow direction.

Clean Along the arrow direction as shown
CAUTION:
Be careful not to touch the Nozzle with the Cleaning Applicator.
Also, be careful not to adhere the wiped solid ink or lint to the Nozzle.
Also, be careful not to keep the nozzle area dry (no cleaning fluid) while cleaning the side of the print head
All of these can cause the nozzle out.
<② the stepped portion of the Nozzle surface and the Nozzle Cover >
Wipe off any dirt adhering to the stepped portion of the Nozzle surface and the Nozzle Cover.

* After cleaning ① and ②, if washing the Cleaning Liquid and foam etc. attached to surplus have adhered to the Head, wipe it off with the dry, cleaning Applicator that does not contain the Cleaning Liquid. (It is important not to leave wet cleaning fluid on any part of the head after this manual clean)
<③ Head part side part>
Clean the side of the Nozzle Cover with the dry, cleaning Applicator that does not contain the Cleaning Liquid.
When cleaning the side of the Nozzle Cover, scrape the dirt along the direction of the arrow in the figure below and clean it.

| CAUTION: Do not clean the Nozzle Cover side with a Cleaning Applicator containing the Cleaning Liquid.
| |
| Step 7 | Clean the left and right ribs on both ends of the carriage.
|
| Step 8 | After cleaning the Nozzle Cover, remove the tray or paper placed under the Head. |
| Step 9 | Close the Front Cover. |
| Step 10 | Press the “END” button. The carriage moves to the right end, and the Head is capped. |
![]() | |
| Step 12 | After completion of cleaning, perform “AUTO HEAD CLEANING.” It prevents the ink from drying out and clogging the Nozzles.
|
Monthly
(Frequency depends on use – clean weekly if printing 30 hours + per week)
How to Clean the Guide Rod and the Encoder Sheet
Cleaning part: The Guide Rod and the Encoder Sheet
Timing of Cleaning: Cleaning once a week
Cleaning content:Clean the Guide Rod and the Encoder Sheet to maintain head ejection quality and allow normal operation of the carriage.
Apply grease to the Guide Rod, and clean the Encoder Sheet with Cleaning Liquid.
Cleaning work should be carried out until completion, without interruption.
Also, be sure to use Cleaning Applicator and Cleaning Liquid dedicated to Ri 1000. Otherwise, it may cause a failure
Cleaning time: Half an hour
Things to prepare: Gloves (commercial product, one that does not pass ink) / To wear
Protective glasses or goggles (commercially available) / To wear
Cleaning Applicator dedicated to Ri 1000
Grease dedicated to Ri 1000
Lint Free Wipe dedicated to Ri 1000
Cleaning Liquid dedicated to Ri 1000
<Cleaning procedure>
| Contents | ||
| Step 1 | When the movement of the Platen is completed, Press the “MANUAL HEAD CLEAN” button. Then the carriage moves to the center position.
| |
| Step 2 | Open the Front Cover.
| |
| Step 3 | Note: Grease once a month. Skip to step 10 if just cleaning the encoder. Wipe off the old grease and lint stuck on the guide rod with a cleaning applicator. There are two guide rods “guide rod: front” and “guide rod: main”. To clean both two. The guide rod: main
The guide rod: front | |
| (Caution) | Cleaning applicator | |
| When cleaning the guide rods, try to avoid touching the encoder | ||
| or the carriage belt. The printer may not operate properly.
| |
| Step 5 | Apply dedicated grease to the Guide Rod. Use new Cleaning Applicator(large) for application.
|
| Step 7 | As shown in Fig. 1, <The Guide Rod: main> Apply approximately 0.01 ml of grease to each of the six peripheral parts of the arrow. |

<Sample amount of grease to be applied to six places each rod>
| At putting | After applying | |
| 0.01 ~ 0.02 ml (Height: 2mm) | ![]() | ![]() |
<Circumferential grease application range >
Use a dedicated Cleaning Applicator to spread the grease smoothly on the top portion of the rod (cover about the top third of the circumference of the rod.)
Grease the top of the rod in this area

![]() CAUTION: ・Do not allow grease to adhere to the Encoder | |
| Step 8 | Move the carriage to the left and right by hand, to smooth the grease. Move the carriage slowly for over 2 seconds within the designated sliding range and move it more than two round trips.
|
![]() CAUTION: Do not move the carriage to the sliding prohibited range which is outside the designated sliding range.
| |
| Step 9 | Wipe away grease that protrudes far beyond the coverage of Fig. 1, 2 and 3. Also, confirm that grease is not attached to the Filler Sensor.
|
| Step 10 | Clean the Encoder Sheet after applying grease to the Guide Rod. Note: You may need to clean the encoder more than once a week if you are printing often (clean about every 30 to 50 prints or daily if necessary to avoid bad printers or encoder errors) Move the carriage to the left end side by hand. |
![]() | |
| Step 11 | Wet a Lint Free Wipe with the Cleaning Liquid Type 1. |
| Step 12 | Using the Lint Free Wipe impregnated with Cleaning Liquid, remove lint and ink adhering to the Encoder Sheet. Move the carriage to clean the entire Encoder Sheet.
CAUTION: |
| · Do not bend the encoder seat. · Do not allow the Cleaning Liquid to adhere to the timing belt. · Do not allow the Lint Free Wipes to come into contact with the Guide Rod.
| |
| Step 13 | Wet a Lint Free Wipe with the distilled water
|
| Step 14 | Using the Lint Free Wipe impregnated with distilled water, remove lint and ink adhering to the Encoder Sheet. Move the carriage to clean the entire Encoder Sheet. Repeat wipe process twice
CAUTION: ·Usage of lint free wipes help ensure the integrity of the encoder strip. Failure to use lint free wipes may result in damage to the encoder strip and prevent printer functionality |
| · Do not allow the distilled water to adhere to the timing belt. · Do not allow the Lint Free Wipes to come into contact with the Guide Rod.
| |
| Step 15 | Prepare a dry Lint Free Wipe
|
| Using a dry Lint Free, remove any remaining liquid adhering to the Encoder Sheet. Move the carriage to clean the entire Encoder Sheet.
CAUTION: ·Usage of lint free wipes help ensure the integrity of the encoder strip. Failure to use lint free wipes may result in damage to the encoder strip and prevent printer functionality |
![]() All of these can cause a CR encoder error and the encoder will have to be recleaned | |
| Step 16 | After cleaning the Encoder, move the carriage to the left end by hand.
The Wiper may hurt the Head if it makes it stand by on the right end Maintenance Unit. |
| Step 17 | Close the Front Cover. |
| Step 18 | Press the “END” button. The carriage moves to the right end, and the Head is capped.
IF CR encoder errors are frequent requiring cleaning often. The encoder may need a more thorough cleaning. Contact technical support for guidance on how to clean the encoder more thoroughly. |
| Step 19 | After completion of cleaning, perform “AUTO HEAD CLEANING.” (Recommendation) It prevents the ink from drying out and clogging the nozzles. |
![]() After completion, it is recommended to print the Nozzle Check and check that the ink discharge is normal. |
8.3 Preparing Your Printer for Storage/Shipping/Or Moving to another location in the same building
Caution: If at any point the printers are maneuvered through a standard doorway without following these instructions, they will spill ink inside their printer and possibly harm the electronics.
Please contact technical support if you have any questions
Note: Please have cleaning cartridges available for all channels
- Remove Ink Cartridges
- Insert Cleaning Cartridges
- Go to
tab - Select

- Select

- Confirm by selecting YES to charge the system with cleaning solution

Remove, rinse, and drain the left ink sump

- Re-Install the left ink sump
- Go to maintenance tab

- Select [MANUAL HEAD CLEAN]

- Confirm by selecting [YES] to initiate manual clean

- Turn off the printer and flip the power switch to the off position
- Remove the maintenance unit



Secure Shipping Foam or Bracket




8.4 Using Printer in 4-color mode (CMYK Only)
Using the printer in Four (4) color mode, allows you only to use CMYK and keep the white in a storage mode.
- Insert the Cleaning cartridges designated for W1 and W2 channels
- Select [INK PATH CONTROL] from the [SETTING] tab

- Select [CLEANER CHARGING]
- Select [WHITE ONLY]

*PLEASE ALLOW UP TO 40 MINS (APPROX.) FOR THE SYSTEM TO FLUSH THE INK OUT AND FILL THE WHITE LINES WITH CLEANING SOLUTION
8.5 Ink Path Guide
| Status | Printable media | Remarks |
| Ink in all channels 6 Color mode After ink charging state | White media, Dark media (requiring underbase) | All kinds all printing |
| Color ink in color channel Cleaner in white channel 4 color mode After ink without white state | White media | OK for any printing that does not require a white under base The Cleaner in white channel is for protect the nozzle of print head. |
| Cleaner in all channels. After cleaner charging state | unprintable | For long term storage/shipping |

Updating Firmware & Obtaining Print Logs
WARNING: Do not perform a firmware update unless the printer is in Ready Status ![]()
9.1 Updating Firmware
- Download the application from www.RicohDTG.com/downloads – the zip package will include the GManger executable file which is the installer, GIB folder for the GIB firmware, CTL folder for the CTL firmware and SCB folder for the SCB firmware.
- Open the Printer Manager Application
- Enter the printer IP address for the printer needing to be updated

- Select the version to use for the update

- Click the GIB F/W Update button
*Note: always update GIB or control panel firmware first prior to any firmware updates. After the GIB then update the CTL. After the CTL then update the SCB* - Wait for the notification that the firmware update sending has been completed

- Click OK – then select the START UPDATE button for the GIB. The screen on the printer will then show the image below

- Click the install option on the screen to continue

- Then select open

- Then update the CTL firmware in the same manner. 1 press the CTL F/W Update button on the GManager. After the update complete message shows up select OK then START UPDATE and the screen below will show up while the printer is updating. Wait for the message to disappear before proceeding.

- Then update the SCB firmware in the same manner. 1 press the SCB F/W Update button on the GManager. After the update complete message shows up select OK then START UPDATE and the screen below will show up.

- Select Yes and the printer will restart to complete the update.
• To verify that the update was successful go to the information section in the settings tab

• Verify the Firmware version matches the one installed

9.2 Collecting Log Files from Printer
- Unzip the logcat package
- Run the GNX317W-logcat.exe software

- Enter the printer’s designated IP address and press extract

- Select where you would like to save the logs and the desired name of the zip package to be created

- Once the logs have been downloaded press OK

About Open Source Software License
ZLib
Copyright (C) 1995-1996 Jean-loup Gailly and Mark Adler
This software is provided ‘as-is’, without any express or implied warranty. In no event will the authors be held liable for any damages arising from the use of this software.
Permission is granted to anyone to use this software for any purpose, including commercial applications, and to alter it and redistribute it freely, subject to the following restrictions:
- The origin of this software must not be misrepresented; you must not claim that you wrote the original software. If you use this software in a product, an acknowledgment in the product documentation would be appreciated but is not required.
- Altered source versions must be plainly marked as such and must not be misrepresented as being the original software.
- This notice may not be removed or altered from any source distribution.
Jean-loup Gailly Mark Adler
[email protected] [email protected]
Troubleshooting Guide
| Issue/ Error | Possible reason | Countermeasure |
| 1) Fuzzy blurry prints | Table height is too low | For most T-shirts, the indicator below the height adjustment knob on the table should be set to 0 or near 0. The best printing is achieved when the print head is 1.5mm away from the printing surface |
| Too much ink (oversaturated) causing bleeding (mostly for white or light shirts without pretreat | Check the settings in the RIP – especially rendering intent (perceptual is default and should be used in most cases). Make sure the ink set and profiles are correct. Profiles meant for 600 x 600 dpi will have too much ink if 1200 X 1200 dpi output is selected | |
| Nozzle check shows all nozzles, but some areas show deflection. (See section 6.1 Nozzle check) | perform head clean or cleans and recheck nozzle to see if the deflection is gone | |
| For dark shirt with a white under base- poor pretreat – Not enough pretreat can make the white can CMYK areas of print to appear dull or fuzzy. Especially if a section of the print appears sharp and another section appears dull or fuzzy | See section 5 user manual | |
| Head alignment is off | Perform head alignment procedure (see section 7.1) make sure to rule out the above reasons before this adjustment | |
| 2) Horizontal banding – thin horizontal lines across the entire shirt | Nozzles missing – if nozzle check shows some nozzle missing | Perform head cleans until the CMYK nozzles are 100% |
| Nozzles all there but some showing minor deflection | Check table height – the effect of any deflection will be exaggerated if the printing surface is too far away from the head – For most T-shirts, the indicator below the height adjustment knob on the table should be set to 0 or near 0. The best printing is achieved when the print head is 1.5mm away from the printing surface | |
| Perform head cleans until the deflection is reduced | ||
| Nozzles 100% and little to no deflection | Perform table alignment procedure (see section 7.2) |
| 3) Horizontal banding – thick horizontal lines across the entire shirt | Nozzles 100% – appears in solid colors of dark or gray – bidirectional banding – has to do with the colors laying down in different sequence depending on which direction the carriage is traveling | Uncheck the bidirectional box in the RIP. |
| Nozzles 100% – appears in solid colors – the color is inconsistent in the scanning direction of the carriage. This is caused by the different drops of CMYK not combining consistently | This can show in Speed Quality mode for CMYK – Print in Fine Quality mode for CMYK – if still persists – print in 1200 X 1200 dpi (Kothari RIP) | |
| 4) Several nozzles out – improves not at all or just a little with head normal and strong head cleans | During an initial ink fill – air has been introduce to the head or after a head clean cleaning fluid or air was inadvertently pushed into the head by the cleaning applicator | Let the printer sit overnight which will give the air a chance to settle – after the nozzle should be good |
| 5) Dark shirt prints look dull | White nozzles 100 % or near 100%. – In adequate amount of pretreat on shirt – this can cause the white ink to mostly sink into the shirt | Increase the amount of pretreat being sprayed on the shirt |
| White nozzles 100 % or near 100% but look dull. – White ink has settled | If the white cartridges have not been agitated per instructions – will need to agitate the white ink cartridges for 2 minutes. Then perform 3 to 4 strong head cleans – this will replace most of the settled ink | |
| Missing many nozzles on one or both white heads | Perform head cleans to recover the nozzle to 100% or near 100% | |
| 6) Light shirt looks too dull | Nozzle is 100% – Wrong output profile is selected | If printing in 600 X 600 Dpi and using a profile meant for 1200 X 1200 DPI then the shirt will look dull |
| 7) Cartridge reads 0% but was just at a high % (example 65%) at the previous operation. (Before printing or before cleaning) | Temporary loss of Comm caused cartridge reading error | Pull out the cartridge that reads 0%. The status should change to NC and the cartridges not loaded message will appear in the status bar. Put the cartridge back in and the % reading should go back to normal. If the % still reads 0 after reinserting the cartridge, then turn the printer off and turn it back on and the cartridge will read correctly |
For more detailed trouble shooting guide and with additional error handling – download from our website. Go to RICOH Ri 1000 and select trouble shooting guide.
https://RicohDTG.com/downloads/
Maintenance Requirements
IMPORTANT! Perform the following to prevent the risk of printer failure:
- Always keep the machine power on. If it is necessary to turn off the machine for over 12 hours then fill the printer with cleaning fluid.
- Do not leave the machine with an empty ink cartridge installed in it, or with any pending errors or service call messages.
- Always keep spare ink on hand. If you do not have replacement ink, fill the printer with cleaning fluid to prevent the risk of damage to the carriage.
- If white ink clogging occurs frequently, please increase the frequency of cleaning the white ink. Refer to the user manual for details.
- Do not move the table back and forth by hand. It can cause printer failure.
Maintenance Schedule
Always perform the following maintenance schedule. These are minimum guidelines. More frequent cleaning may be necessary depending on machine usage. Please refer to the user manual for detailed instructions.
[Daily]
Shake White Cartridge
[Weekly]
Clean the Maintenance Unit and the Flushing Box Clean the Nozzle Cover Clean the Guide Rod and the Encoder Strip
Installation/Operation Environment
Temperature: 59°F/15°C – 90°F/32°C
Humidity: 45% – 80%RH, non-condensing humidifier recommended








❖ NOTE: To power off, hold down the power button on the front near the LCD screen, for more than 3 seconds and return the I/O switch to O (off)






























Fig. 16 and 17 show the state after cleaning of the Wiper and the Wiper Cleaner described above. To remove dirt to this level.






Reference: Cleaned the Nozzle Cover


















All of these can cause a CR encoder error and the encoder will have to be recleaned

All of these can cause a CR encoder error and the encoder will have to be recleaned


































