COSTWAY NP10441/NP10475 Inflatable Water Slide Park

Before You Start
Please read all instructions carefully and keep it for future reference.
Warnings: Attention: For home use only.
Attention: The product is not suitable for the children under 3 years
Danger: Keep all small parts and packaging materials for this product away from babies and children, otherwise they may pose a choking hazard.
Danger: Lack of attachment may cause a risk of tipping or falling hazard.
General Warnings:
The product must be installed and used under the supervision of an adult. Read through each step carefully and follow the proper order. Remove all packaging, separate and count all parts and hardware. Please ensure that all parts are correctly installed, incorrect installation can lead to a danger. We recommend that, where possible, all items are assembled near the area in
which they will be placed in use, to avoid moving the product unnecessarily once assembled. Ensure a secure surface during installation, and place the product always on a flat, steady and stable surface. Please check and maintain it regularly, and the most important part needs to be suspended, fixed, or anchored to the ground.
WARNING
FAILURE TO FOLLOW THESE INSTRUCTIONS COULD RESULT IN SERIOUS INJURY OR DEATH.
Do not use extension cords with this product. Outdoor use only. Read all instructions before assembling this inflatable device. Keep instructions for future use.
WARNING
USERS MUST BE CAREFEUL ABOUT THE BOUNCY ORIENTATION WITH REGARD TO THE SUN.
The sliding surface should not be located under the sun as it can dazzle children when using the bouncer.
WARNING
Children (especially toddlers) are at high risk of drowning. Closely watch children who are in or near this Inflatable device.
Do not use before inflating
Drowning Risk:
Keep unsupervised children from accessing the pool by installing fencing or other approved barrier around all sides of the Water Park.
Prevent Drowning

- State or local laws or codes may require fencing or other approved barriers. Check state or local laws and codes before setting up the Water Park.
- Drowning occurs silently and quickly. Assign an adult to supervise the Water Park.
- Keep children in your direct sight when they are in or near the Water Park.
- When searching for a missing child, check the pool first, even if you think your child is in the house.
First Aid :
- Keep a working phone and list of emergency numbers near the Water Park.
- Become certified in cardiopulmonary resuscitation (CPR) so you can respond to an emergency.
PART LIST

SAFETY WARNINGS: SET UP
ADULT SUPERVISION AND SET UP REQUIRED. This product should be inflated or deflated only by a competent adult. Follow all instructions provided.
WARNING! Falls onto hard surfaces can result in head or other serious injuries. Never place on concrete, asphalt, wood, packed earth, or other hard surfaces. Carpet over hard floors may not prevent injury.
- WARNING! Only for domestic use. Intended for outdoor domestic family use only. Not for use in public areas or as a rental.
- Product is heavy. Use caution when inflating
- Product should never be dragged across concrete, pavement or other rough surfaces.
- WARNING! Keep away from fire. Keep fabric away from all flame and ignition sources.
- Do not set up in windy or rainy conditions: sudden gusts of wind may lift the product off the ground.
- Product can be installed in any orientation in relation to the sun, since there are no metal components or surfaces that can absorb excessive solar radiation.
Set-up in outdoor location only that meets the following criteria:
- Place on level ground and firm grass or soil to allow proper use of stakes.
- Placing on slanted or uneven surfaces may cause the product to tip.
- Stakes should be placed at an angle for better anchorage, should be driven under the ground to prevent tripping.
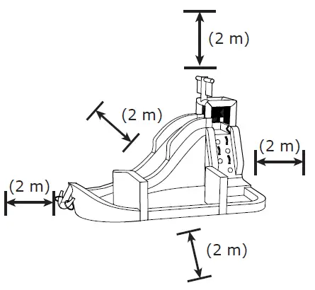
- Minimum clearance zones: Place at least 2m/6.56FT away from any other objects.
- Objects to be avoided include but are not limited to fences, buildings, trees, overhead branches, laundry lines, electrical wires, walls, or bodies or sources of water.
- Make sure the area around the product is secure by adding safety barriers, if necessary, to keep young children and pets from gaining access.
- Electrical cord must not be passed under the air filled devices (Inflatable Bouncer with Slide) and interfere with its operation.
The Bouncer with Slide needs a main powered blower (air pump) to maintain pressure, only to be used by an adult.
- Only the blower supplied should be used for inflation.
- Do not use extension cords with this product. Set up as close to power source as possible. The blower should be securely anchored to the ground before use.
- CAUTION: the blower is capable of moving large volumes of air very quickly. Place the blower in an area where it will not draw in dirt or leaves. Keep blower and power cord away from children, water and traffic.
- ATTENTION: Blower should remain on and continuously inflate Water Park during use. Air flow through seams is normal
- Do not use the product if wind speed exceeds 30 km/h (18.64 miles/h)
- Do not consume food, drink and gum on this product.
Minimum Clearance Zones
Make sure that there is a 2m/6.56FT obstacle-free zone around the product, including a fence, garage, house, overhanging branches, laundry lines or electrical wires.
Water Park Placement
Designate a flat, level surface that allows for 2m/6.56FT of minimum clearance around the Water park.
NOTE: DO NOT place the Water park on a hard surface like asphalt, concrete or packed earth as both serious bodily injury and damage to the Bounce with Slide could result.

ASSEMBLY AREAS
- Make sure the assembly area is flat and level and is free of rocks, sharp objects or other obstructions.
- Do not set up the Water park on a slope or in line.
- Do not set up the Water park on hard-packed earth, asphalt, decking or any hard surface as doing so may result in physical injury and/or damage to the Water park.
- Once the Water park is inflated or filled with water, do not attempt to drag it to another location.
- Check your local county or city regulations for requirements on securing the pool.
SAFETY WARNINGS:
FALURE TO FOLLOW THESE INSTRUCTIONS COULD RESULT IN SERIOUS INJURY OR DEATH.



- Constant, competent adult supervision of children and other young users is required at all times.
- Keep the area around the product clean, and clear of objects, to prevent slips and falls.
- Instruct children on proper use of this product. Do not use in a manner other than intended.
- Helmets, headgear, shoes, glasses, loose clothing, scarves, hoods, or clothing containing drawstrings should not be worn when using this product.
- Do not allow other toys or objects inside the product.
- Instruct children not to attach items to the product that are not specifically designed for use with the equipment, such as but not limited to, jump ropes, clothesline, pet leashes, cables and chains as they may cause a strangulation hazard.
- Keep pets away from product.
- Bounce away from others and stay away from sides wall, especially the opening.
- Do not jump onto or off of product.
- Do not allow children to play together who are unevenly matched in weight and height.
- The Maximum fall height of the inflatable device is 142cm/4.65FT.
- Thoroughly dry before use.
- Total weight of children must not exceed 159kg/350lbs on slide and pool
- Only one child at a time is allowed on each slide and climber.
- Children must not slide down head first on their stomach.
- Do not let children walk on the side where blower motor is attached.
- Always dry product before storage.
- Never use product as a floatation or life saving device.
- Children can drown in very small amounts of water. Empty the pool when not in use.
- Do not install the paddling pool over concrete, asphalt or any other hard surface.
- Always check product and all its anchorage points during use, and re-secure, as appropriate. Always check for excessive air loss, and reinflate before allowing play to continue.
- As an outdoor product, this inflatable is subject to wear and deterioration.
- Keep product properly maintained and watch for signs of fabric failure.
- Weak or torn surfaces must be repaired promptly.
- If product contains a pool:
- Never dive or jump into the pool area.
- Do not sit on the edges of the pool as flooding may occur.
- Always drain product after use. Do not leave it inflated or full of water overnight.
- Keep the pool area clean to prevent illness. Instruct all children never to drink pool water and to practice good hygiene.
- Before and during use, check for air loss. Check blower is properly connected.
- Always check the product and all its anchorage points before and during use, and to re-secure as appropriate.
- If applicable, remove water and debris from pocket steps after each play cycle.
- After inflation, the blower should run continuously while children are playing.
- Prior to deflating, remove all children.
- Always deflate product after use, and store indoors. The product should be periodically examined for potential unsafe conditions such as: damaged cord, plug, housing, or parts, and that in the event such damage is found, the product should not be used until properly repaired. Never leave the fan outside in the rain or elements when not in use. Refer to the instructions for set-up, storage, maintenance and care.
- Product can be installed in any orientation in relation to the sun, since there are no metal components or surfaces that can absorb excessive solar radiation.
- To change the water of paddling pools frequently (particularly in hot weather) or when noticeably contaminated.
Staking the Water park
CAUTION The Water park and all its anchorage points should be checked before and during use.
Reinflation or re-secure as appropriate. DO NOT let children play on the water park until it is fully inflated!
Secure the Water park to the ground with the provided stakes. To prevent tripping, pull the stake loops all the way out, then drive stakes completely into the ground.
WATER PARK CAUTIONS:
Drive ground stakes completely into the ground to avoid tripping hazard.
Do not use the Water slide until an Adult has assembled, piled it on, and fully inflated.
Do not set up or inflate the Water park in windy and/or rainy conditions as wind gusts may cause the park to become unstable and possibly be lifted from the ground.
Turn on the garden hose and adjust the pressure as desired.
Make sure that a steady spray of water comes out of the sprayer and keep the slides wet.
Set Up

Secure the Water park to the ground with the provided stakes.
To prevent tripping, pull the stake loops all the way out, then drive stakes completely into the ground.
Playing in the Water park
NOTE: It is normal to see air bubbles rising from the pool floor and other wet areas of the Water park.
SLIDING
- Climb up the climbing wall to the top of the slide
- Sit on the top with feet pointing down the slide.
- Scoot forward and slide down into the splashdown area.
- DO NOT slide down on your stomach or head first.
- Do not face the sun when sliding.
CAUTIONS:
- Children can drown in a very small amount of water. Empty the pool when not in use.
- To avoid the risk of injury, ALWAYS slide down the slide with feet first. NEVER slide down on your stomach or head first.
- Only one child should be on the slide and climb at one time.
- Total weight of children must not exceed 159 kg/350 lbs. (max .individual weight 53kg/116lbs) on inflated surface.
- NEVER slide down the slide until the splashdown area is clear.
- NEVER slide or jump down the climbing wall.
Water Warnings
IMPORTANT: To avoid serious injury or death, heed all warning signs that are printed on the Water park. These signs are shown below:
DANGER
NO DIVING OR JUMPING SHALLOW WATER
DIVING MAY RESULT IN PERMANENT INJURY OR DEATH
- CHILDREN MUST BE ACCOMPANIED BY AN ADULT.


- NO RUNNING, JUMPING, OR HORSEPLAY IN OR AROUND POOL
- NO GLASS IN POOL AREA

TO AVOID SERIOUS INJURY ALL POOL USERS MUST KNOW AND FOLLOW THESE SAFETY RULES.


- Mandatory action pictogram
- Prohibition pictogram
WARNING
BE CAREFUL! SOME OF THE WATER PARK SURFACES ARE SLIPPERY AND MAY PRESENT A TRIPPING HAZARD.
Draining & Deflation
IMPORTANT– Inflatable Bouncer with Slide MUST be drained of all water and be COMPLETELY DRY before storage in order to avoid mold and mildew.
DO NOT fold and store Bouncer with Slide if any moisture remains.
IMPORTANT- All children MUST EXIT the Bouncer with Slide before deflation or draining water.
IMPORTANT- For best results, 2-4 people should drain and move the Bouncer with Slide.

STORAGE

REPAIR PATCH INSTRUCTIONS
WARNING: Repair patches must be applied by an adult only. KEEP OUT OF REACH OF CHILDREN.
INSTRUCTION:
- Deflate the item, clean the area and allow to dry thoroughly.
- Cut a portion of the patch to the size needed and round the corners. (See Fig).
- Remove the adhesive backing from the patch material, position the patch over the damaged area and smooth out any bubbles.
- Allow to sit for 30 minutes before re-inflating.
INSTRUCTIONS FOR WATER PARK MAINTENANCE
- As an outdoor product, the water park is subject to wear and deterioration. Inspect for signs of fabric failure; weak or torn surfaces must be repaired promptly.
- To keep the product clean: wipe the water park or blower using a dry cloth or a cloth dampened with a neutral, noninflammable, nontoxic cleaning and sanitizing solution or pure water.
- Product should never be stored wet. Allow to dry before rolling up.
INSTRUCTIONS FOR BLOWER MAINTENANCE
- Blower must be unplugged before servicing.
- If the supply cord is damaged, it must be replaced by qualified persons in order to avoid a hazard
DISPOSAL
- Disassemble and dispose of the equipment in such a manner that no hazardous conditions exist at the time the equipment is discarded.
- Blower should be returned to a collection center
INSTRUCTIONS FOR BLOWER MAINTENANCE

- Blower must be unplugged before servicing.
- If the supply cord is damaged, it must be replaced by qualified persons in order to avoid a hazard
- Product should be periodically examined for potential unsafe conditions such as damaged cord, plug, housing, or parts, and that in the even such damage is found, the product should not be used until properly repaired. If these checks are not carried out, the product could overturn or otherwise become a hazard.
- The blower does not require any lubrication and has no user serviceable parts. Do not attempt to service the blower.
- Do not immerse the blower in water. To clean, wipe with a damp cloth.
- Regularly check the intake and output openings and keep free of dirt, leaves, etc.
- When not in use, store the blower indoors in a dry place.
- Store the blower upright on a stable surface.
- Loosely coil the cord and place it beside the blower.
- When in use, do not place the cord across traffic areas, water or damp areas.
- The blower is a high volume blower, and is capable of moving large volumes of air very quickly. Place the blower in an area where it will not draw in dirt or leaves.
‘Let’s care for the environment!’ The wheelie bin symbol indicates that the product must not be disposed of with other household waste. Please use designated collection points or recycling facilities when disposing of the item.
Please keep this manual as it contains important information.




















