CS7 Hair Clipper Set
User Manual
INTRODUCTION
Congratulations on your purchase and welcome to Memoriam! To fully benefit from the support that Mernorisrn offers, please register your product at www.mymemorism.com/register.
IMPORTANT SAFETY INSTRUCTIONS
When using an electrical appliance basic precautions should always be observed, including the following. Read all instructions before using this appliance.
WARNING To reduce the risk of electric shorts:
- Always unplug this appliance from the electrical outlet immediately after use.
- Do not press the blade against the skin.
- Do not use the product to trim pet hair or fur.
- Clean out any dust or hair away from the power plug regularly.
- It is normal that the main body of the dipper will emit mild heat.
- Close supervision is necessary when this appliance is used on or near children or persons with special needs or disabilities.
- Use this appliance only for its intended use as described in this manual.
- Keep the cord away from heated surfaces.
- Never operate this appliance if it has a damaged cord or plug, if it is not working properly, or if it has been dropped or damaged. If any of these things happen, contact customer support.
- Warning: Class A equipment is intended for use in an industrial environment. In the documentation for the user, a statement shall be included drawing attention to the fact that there may be potential difficulties in ensuring electromagnetic compatibility in other environments, due to conducted as well as radiated disturbances.
BATTERY RECYCLING
When your rechargeable clipper reaches the end of its useful life, the Lithium-ion batteries must be removed and recycled or disposed of properly in accordance with your local and state requirements.
PARTS IDENTIFICATIONS

SPECIFICATIONS
| Product Name | Hair Clipper Set |
| Model | CS7 |
| Motor | 5V |
| Battery Type | 2000mAh Li-ion |
| Charging Time | 3 hours |
| Running Time | 4 hours |
| Adapter | Input: 100-240V 50-60Hz 0.2A Output: 5.0V=1000mA |
| Weight | 7.9 oz |
| Size | 6.7 x 2.6 x 1.5 inches |
CHARGING METHODS
- Insert the charger into the bottom socket of the clipper to charge.
- Place the hair dipper into the charging base, then insert the charger into the charging base.

Note
- Clipper must be turned off to charge.
- The charging indicator Na flashes when the clipper is in low battery.
- The charging indicator is on when the dipper is charging.
- Charge for 3 hours before first use. The dipper will be fully charged in 3 hours. A full charge provides 4 hours of cordless use.
- Do not allow to charge for an extended period of time.
- If the clipper has not been used for a month or longer, it is advisable to recharge it for 3 hours.
- Charge the clipper at temperatures between 34°F-1040F.
- Clipper can be used by connecting the charging cable when the clipper is out of battery.
LED INDICATOR DESCRIPTION
Constant Speed
Press once to increase 0.5K RPM, ranging from 5.0 to 7.0 RPM.![]()
Press multiple times, it will cycle back to the beginning speed for choice.
Level
Level 1-5 correspond to speed 5.0, 5.5, 6.0, 6.5 and 7.0 RPM.![]()
Available Time
Indicate the available operating time left on the battery.![]()
Oil Reminder
After using the clipper for more than 120 minutes, the oil indicator will flash for 30s to remind you to oil the cutter.![]()
Charge Reminder
When the available time is less than 18 minutes, the charge indicator will flash to remind you to charge the clipper. ![]()
HOW TO USE
On / Off / Speed

Power ON: Press the button once.
Power OFF: Hold the button for 2 seconds.
Speed Adjustment: Every time you press, it will change to a different cutting speed.
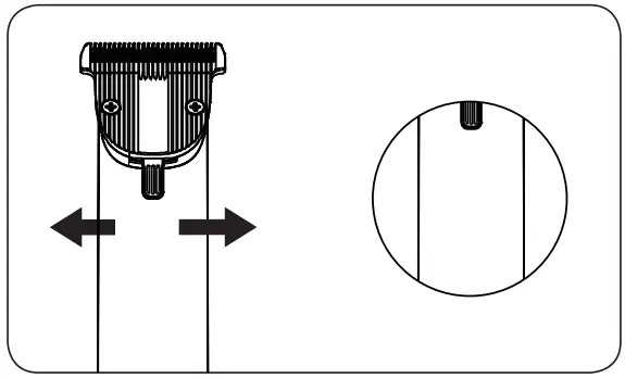
Cutting Length Adjustment
- Adjust blade length
Push the adjust switch to adjust the blade length. Left: 2.4mm Mid: 1.6mm Right: 0.8mm Note: The shortest haircut length is 0.8mm. - Use a guide comb with the desired length
1. Grab the sides of the comb and align the position of the blade and the comb.
2. Press the guide comb until it clicks into place.
Remove Guide Comb

- Pull the snap tab on the back of the guide comb.
- Slide the guide combs out.
Note: Do not press the comb teeth as this may damage the comb.
Remove Blade

- Press the adjust switch to the bottom.
- Hold the main body, place your thumb against the blade and then push the blade away from the main body.
Install Blade

- Rotate the straight shaft to the middle position.
- Insert the bottom of the blade (A) into slot (B).
- Press the blade down until it clicks into place.
CLEANING AND MAINTENANCE

- Turn off the Clipper and brush off any hair trimmings from the main body and from around the blade.
- Remove the blade and clean the blade under running water with the cleaning brush after each use.
- Dry the blade and drop oil onto the cutters by the points. *For a good and long-lasting cutting performance it is important to oil the cutters frequently.
- Install the blade to the clipper. Remember to adjust the blade to 0.6mm before installing the blade.
DANGER

- Do not disassemble the main body.
- Do not clean the product with chemicals.
- Do not store in temperatures above 104°F and under 32°F. O Do not immerse the main body in water. Use a soft and slightly damp cloth to wipe the main body.
- Do not allow any liquid to get inside the appliance.
LIMITED WARRANTY
Memoriam warrants Hair Clipper Set CS7 for 1 year from the date of purchase. For more information, please visit www.mymemorism.com/warranty. What’s covered? Defects due to faulty materials and/or workmanship of the product.
What’s not covered?
- Damage caused by the owner when attempting to fix or alter the product by himself or herself.
- Damage caused by misuse, abuse, neglect, alterations or unauthorized repair.
- Natural depreciation. Warranty Period Warranty becomes effective from the date of original purchase and will last for 1 year.
Who’s covered?
This limited warranty is only effective for the original purchaser. It is non-transferable.
How to request warranty services? To obtain the benefit of this warranty, please email [email protected] Our customer service team will address your issue as soon as possible!
DISPOSAL OF USED PRODUCT BUUD-IN LITHIUM BATTERIES Batteries may contain hazardous substances which could endanger the environment and human health if improperly disposed of. Batteries should be disposed of at an appropriate collection point for recycling. The recycling of materials will help to conserve natural resources. By ensuring the used batteries are disposed of correctly, you will help prevent potential negative consequences for the environment and human health. For more information about the recycling of used batteries, please contact your local municipality waste disposal service.

www.mymemorism.com
[email protected]
6945 Speedway Blvd Ste, H102 Las Vegas, NV 89115

Push the adjust switch to adjust the blade length. Left: 2.4mm Mid: 1.6mm Right: 0.8mm Note: The shortest haircut length is 0.8mm.
1. Grab the sides of the comb and align the position of the blade and the comb.
















