REMINGTON HC450 Stylist Hair Clipper Classic Edition

Thank you for buying your new Remington® product. Please read these instructions carefully and keep them safe. Remove all packaging before use.
IMPORTANT SAFEGUARDS
- This appliance can be used by children aged from 8 years and above and persons with reduced physical, sensory or mental capabilities or lack of experience and knowledge if they have been supervised/instructed and understand the hazards involved. Children shall not play with the appliance. Cleaning and user maintenance shall not be done by children unless they are older than 8 and supervised. Keep the appliance and cable out of reach of children under 8 years.
- Always check the appliance before you use it. Do not use the appliance if it is damaged, as this may cause injury.
- The adaptor contains a transformer. Do not cut off the adaptor to replace it with another plug, as this causes a hazardous situation.
- WARNING: Keep the appliance dry.
- Do not use the product with a damaged cord.
- WARNING: For recharging the battery, only use the charger supplied with the appliance – type reference PA-3215U (UK).
- Always replace a damaged adaptor with one of the original type.
- The battery in this device is not replaceable.
- Do not use the appliance if it is damaged or malfunctions.
- Do not use attachments other than those we supply.
- This appliance should never be left unattended when plugged into a power outlet, except when charging.
- Keep the power plug and cord away from heated surfaces.
- Do not plug or unplug the appliance with wet hands.
- Do not twist or kink the cable, or wrap it round the appliance.
- This appliance is not intended for commercial or salon use.
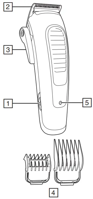
PARTS

- On/off switch
- Blade set
- Taper lever
- #0—#8 professional grade guide combs (1.5-25mm)
- Charging indicator
Not shown:
- Hairdressing cape
- Scissors
- Comb
- Neck brush
- Sectioning clips
- Storage case
GETTING STARTED
- CHARGING YOUR APPLIANCE
- Ensure the product is switched off.
- Connect the shaver to the adapter and then to the mains.
- The charging indicator will illuminate.
- The charging indicator will remain illuminated once charge is complete.
- Run time from fully charged is up to 50 minutes.
- Charge time from empty is 2 hours.
- To preserve the life of your batteries, let them run out every 6 months then recharge for 2 hours.
- CORDED USE
- Connect the charging adaptor to the product then to the mains.
- When the cord is connected to the mains, the charging indicator light will turn off if the product is turned on.
- CAUTION
Extended mains only use will result in the reduction of the battery life.
INSTRUCTIONS FOR USE
- Before starting the cut
- Inspect the clipper making sure that it is free from hair and dirt.
- Seat the person so that their head is approximately at your eye level.
- Before cutting, always comb the hair so it is tangle free and dry.
- TO ATTACH A COMB
- Hook front side of attachment comb on front side of teeth.
- Press back side of comb downwards, until the tab clicks into place.
- TO REMOVE THE COMB
- Press upward on the tab to release the comb.
- With tab released, pull comb away from clipper and unhook front of the blade
- INSTRUCTIONS FOR CUTTING HAIR
For even cutting, allow the comb attachment/blade to cut its way through the hair. Do not force it through quickly. If you are cutting for the first time, start with the maximum comb attachment.- STEP 1 – Nape of the neck
- Attach the 3mm or 6mm fixed comb
- Hold the clipper with the blade teeth pointing upwards. Begin starting at the centre of the head at the base of the neck.
- Slowly lift the clipper, working upwards and outwards through the hair, trimming just a little at a time.
- STEP 2 – Back of the head
With the 12mm or 16mm guide comb attached, cut the hair at the back of the head. - STEP 3 – Side of the head
With the 3mm or 6mm guide comb attached, trim sideburns. Then change to the longer 9mm guide comb and continue to cut the top of the head. - STEP 4 – Top of the head
- Use the longer length fixed combs of 22mm or 25mm to cut hair on top of the head against the direction in which the hair normally grows.
- Always work from the back of the head.
- STEP 5 – The finishing touches
- Use the clipper without an attachment comb for close trimming around the base and sides of the neck.
- To produce a clean straight line at the sideburns, reverse the hair clipper. Place the reversed clipper at right angles to the head, tips of the blades lightly touching the skin and then work downwards.
- STEP 1 – Nape of the neck
- SHORT TAPERED STYLES – “FLAT TOPS” & SHORT CUTS
- Starting with the longest fixed comb (25mm), cut from the back of the neck to the crown. Hold the guide comb flat against the head and slowly move the clipper through the hair.
- Use the same procedure from the lower side to the upper side of the head. Then cut the hair against the direction in which it grows and level with the sides.
- To give a “flat top” look, the hair on top of the head must be cut over the top of a flat comb.
- Use a closer guide comb to taper the hair down to the neckline as desired.
CARE FOR YOUR HAIRCLIPPER
- AFTER EACH USE
- Ensure the appliance is switched off and unplugged from the mains before cleaning.
- Brush the accumulated hair from the blades. The blades and product unit can be rinsed under the tap. Please see cleaning section below on this.
- It is recommended that the blades should be removed, and any accumulated hair be brushed out after each use. 1 or 2 drops of clipper oil should be added to tip of blades, and a drop on the back gliding surfaces.
- REMOVING AND FITTING THE BLADE SET
- The blades can be released by placing your finger or thumb into the push release point and sliding the blade off the product unit.
- To reattach place the blade set on top of the product unit and slide this gently into place until you hear and feel it click into place.
- CLEANING CAUTIONS
- This clipper is fully washable. The clipper and blade set can be rinsed under the tap for cleaning. Only rinse the blades when needed.
- For a deep clean, let the blades run while rinsing under the tap.
- Please ensure the product is fully dried after, especially the blade set surfaces.
- Caution: do not wash when plugged into the mains power.
- Once the blade set is fully dried, to enhance performance and prolong the life of your clipper, we strongly recommend for you to oil the blades. To be properly oiled, the blade set needs to be removed, so drops of oil can be added to the back gliding surface.
- EVERY SIX MONTHS
- At regular intervals the blade set should be removed and cleaned.
- Remove the 2 screws retaining the fixed blade with a hex screwdriver. Do not remove blade set.
- Brush out hairs from between the blades with soft cleaning brush. Do not remove the lubricating grease on the plastic components. It is not necessary to remove the small moving blade from the unit.
- If the blades are not correctly aligned, cutting efficiency will be impaired.
- Place a few drops of oil onto the blade’s gliding surface. Wipe off excess oil.
CLEANING CAUTIONS
- Ensure the appliance is switched off and unplug from the main outlet before cleaning
- Only the attachment guide combs and blade set may be removed from the product for cleaning.
- Do not use harsh or corrosive cleaners on the units or their blades.
- Suitable for cleaning under an open water tap.
BATTERY REMOVAL
We strongly recommend that a professional removes the rechargeable battery. Parts of the shaver case, and tools have sharp edges and may cause injury if not handled correctly.
- The rechargeable battery must be removed from the appliance before it is scrapped.
- Disconnect the charging adapter before removing the battery.
- Turn the trimmer on and discharge all remaining power.
- Pry off the upper decorative panel to expose 2 screws. Remove the screws.
- Pry and remove the top housing and expose the inner housing.
- Unscrew the 2 screws.
- Take out the battery and printed circuit board assembly.
- Disconnect the battery from the circuit board.
- The battery is to be disposed of safely
RECYCLING
To avoid environmental and health problems due to hazardous substances, appliances and rechargeable and non-rechargeable batteries marked with one of these symbols must not be disposed of with unsorted municipal waste. Always dispose of electrical and electronic products and, where applicable, rechargeable and non-rechargeable batteries, at an appropriate official recycling/ collection point.


















