
Roberto Ceiling Lamp
Instruction Manual
INTERIOR PENDANT
Art Nr. 54613-001-71
Roberto Ceiling Lamp
CAUTION:
Warning:
- Only use bulbs as directed on the label on the lamp.
- Turn off the lamp before replacing the bulb and wait until the bulb has cooled. Take special care to touch the lamp when the lamp is lit. It can be hot.
Pre-Installation
PLANNING THE INSTALLATION
Read all instructions before assembly and installation. Before starting installation of the fixture or removal of a previous fixture, disconnect the power by turning off the circuit breaker or by removing the fuse at the fuse box. To avoid damaging this product, assemble it on asoft , non-abrasive surface such as carpet or cardboard.
TOOLS REQUIRED

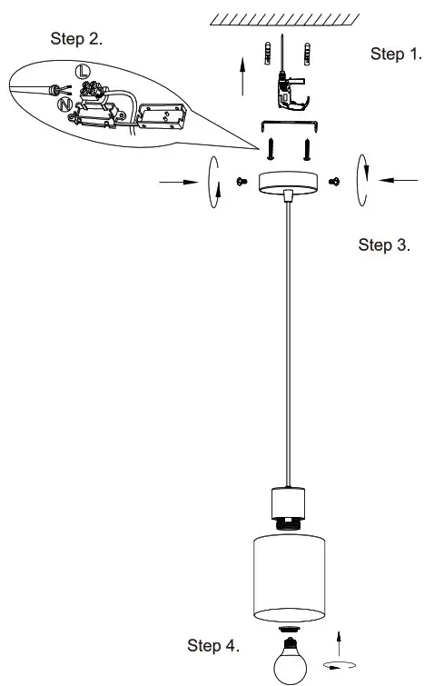
Installation
(Make sure to turn off the main power)

Installation (continued)

Package contents
(parts are not to scale):

| Part | Description | Quantity |
| A | Fixture body with wire | 1 |
| B | Wall expansion particle | 2 |
| C | Self-Tapping screw | 2 |
| D | Metal shade | 1 |
Light source
230V E27 1 x 40W Max (not include) Recommend LED bulb
Care and Cleaning
EXTERIOR MAINTENANCE
- To clean the outside of the fixture, use a dry or slightly dampened clean cloth (use clean water, never a solvent) to wipe the surface of the fixture.
- Do not use any cleaners with chemicals, solvents or harsh abrasives. Use only a dry soft cloth to dust or wipe carefully.




















