Clarke STWB5150 Wooden Workbench 1520mm With Vice 1 Drawer Instruction Manual
INTRODUCTION
Thank you for purchasing this CLARKE Wooden Workbench.
Please read these instructions carefully in order to ensure that the workbench is assembled correctly, thereby ensuring that it provides you with long and satisfactory service.
PACK CONTENTS
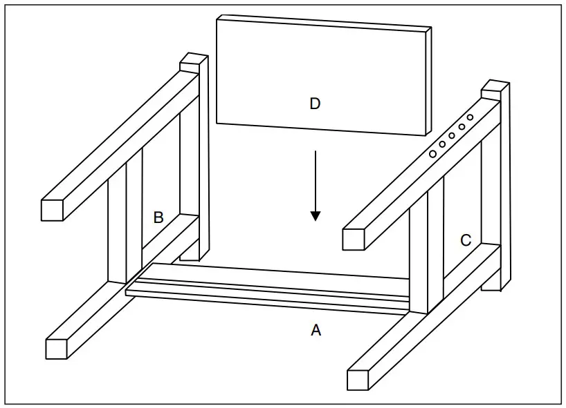
| A Side piece | ![]() |
| B Left leg frame | ![]() |
| C Right leg frame | ![]() |
| D Shelf base | ![]() |
| E Drawer Holder | ![]() |
| F Workbench | ![]() |
| G Drawer Front | ![]() |
| H Drawer Side | ![]() |
| I Drawer base | ![]() |
| J Drawer rear | ![]() |
| K Clamp | ![]() |
| L Workbench dog | ![]() |
| M Workbench pin | ![]() |
| N Shelf nut and bolt | ![]() |
| O Wood Bolt | ![]() |
![]() | ![]() |
ASSEMBLY
- Insert the nuts from part (N) into the side pieces (A).

- Use the Bolts (N) and Washers (Q) to secure both leg frames (B and C) to one of the side pieces.

At this stage the frame should look like this.
- Slide the shelf base (D) into the grooves as shown.

- Secure the second side piece to the two leg frames using Bolts (N) and Washers (Q).

At this stage the frame should look like this.
- Lay the workbench (F) on it’s top.
- Place the Legs into position and secure in place using Bolts (O) and Washers (Q).
- Fix the drawer holders (E) into place using the four long wood screws (P) supplied.
Make sure that the dowel pins on the drawer holders are positioned towards the front of the workbench.
At this stage the frame should look like this.
DRAWER ASSEMBLY
- Fit the rear of the drawer (J) to one of the drawer sides (H) and fix into position using the hinge and screws provided.

- Fit the other side (H) as shown.

- Rotate the drawer and slide the drawer base (I) into position.

- Fix the drawer front (G) as shown above.
The drawer is now complete.
ASSEMBLY
Fit the drawer and clamps as shown.
Fit the pins and dogs as required.
The Completed Workbench
GUARANTEE
This CLARKE product is guaranteed against faulty manufacture for a period of 12 months from the date of purchase. Please keep your receipt as proof of purchase.
This guarantee is invalid if the product is found to have been abused or tampered with in any way, or not used for the purpose for which it was intended.
Faulty goods should be returned to their place of purchase, no product can be returned to us without prior permission.
This guarantee does not effect your statutory rights












































