ARCHITECTURAL MAILBOXES RF00R06AM Mailbox Flag Kit

Product Information:
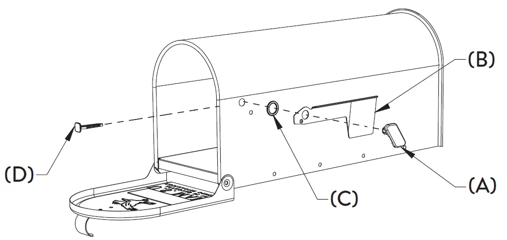
The product is a Replacement Flag Kit (RF00R06AM) designed for use with mailboxes. It includes a flag (B), hub (A), washer (C), and alligator clip (D). The flag is used to indicate the presence of outgoing mail in the mailbox. The kit does not include any tools.
Product Usage
Instructions:
- Check Mailbox Hole Compatibility:
- Before beginning the installation, check if the hole on your mailbox matches the hole in the provided template.
- If the large hole matches but the small hole does not, proceed to step 1B. If neither hole matches, proceed to step 1C. 1B.
- Drilling Small Hole: Position the template so thatthe large holes align with the hole on your mailbox. Drill the small hole using the template as a guide. 1C.
- Alternative Mounting: If none of the flag hole patterns on your mailbox match the template, position the template on the flat, right side of the mailbox. Ensure that when the mounted flag is raised, it will be visible above the top of the mailbox. Drill two holes using the template.
- Mounting the Flag: Insert the hub (A), flag (B), and washer (C) into the flag mounting holes as shown in the provided drawing. Secure the flag by inserting the alligator clip (D) into the hub until it is snug against the inside of the mailbox.

Tools and Template
If you have any questions, comments, or concerns about the product, you can visit www.architecturalmailboxes.com or contact [email protected]. You can also find them on social media @archmailboxes
















