SIEMENS ASC77.2U OpenAir External Auxiliary Switch

OpenAir™ External Auxiliary Switch
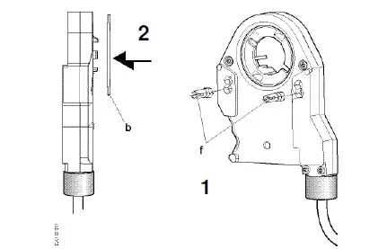
- a External dual auxiliary switch
- b. Position indicator
- c. GCA/GBB/GIB position adapter
- d. GMA/GEB position adapter
- e. 3 mm hex key
- f. Plastic mounting adapter inserts (2)
- g. Threaded M5 × 25 screws (2)
Product Description
- The OpenAir External Auxiliary Switch (EAS) provides switch functionality for standard model damper actuators with easy installation for in-service units.Product Description
- The OpenAir External Auxiliary Switch (EAS) provides switch functionality for standard model damper actuators with easy installation for in-service units.
Product Number
- ASC77.2U
Specifications
Dual Auxiliary Switches
| AC rating | 24 Vac to 250 Vac |
| AC 6A resistive | |
| AC 2 FLA, 12 LRA | |
| DC rating | 12 Vdc to 30 Vdc |
| DC 2A | |
| Insulation system | Double insulated |
| Switch range Switch A Recommended usage Switch B Recommended usage | 0° to 90° with 5° intervals |
| 0° to 45° | |
| 0° to 90° with 5° intervals | |
| 45° to 90° | |
| Switching hysteresis | 2° |
|
Agency certification | UL listed to UL 873 |
| cUL certified to Canadian Standard C22.2 No. 24-93 | |
| Electromagnetic compatibility 89/336/EEC | |
| Low voltage directive 73/23/EEC | |
| Conduit Connection | Threaded 1/2-inch NSPT, flex only |
| Shipping Weight | 1.1 lb (0.48 kg) |
Warning/Caution Notations
| WARNING: | Personal injury/loss of life may occur if you do not follow the procedures as specified. | |
| CAUTION: | Equipment damage, or loss of data may occur if you do not follow the procedures as specified. |
Required Tools
- Phillips screwdrivers
- No. 2 for screws, No. 1 for adjustment
Expected Installation Time
- 15 minutes
Prerequisites
Remove power from in-service damper actuator before installing external auxiliary switch.
WARNING:
Do not open the external auxiliary switch
Installation
New Actuators, Remove Pre-load
NOTE: For in-service actuators, skip Removing Preload. For new actuators, remove the factoryinstalled 5° pre-load.
Removing Preload
Before the External Auxiliary Switch can be installed on a new, out-of-the-box actuator, you must remove the factory-installed preload.
New Non-Spring Return Actuators
- Insert shaft adapter at position A (See Figure 4).
- Press the manual override button and move the shaft adapter counterclockwise until actuator reaches the internal stop (actuator will not move past this point).
- Remove the shaft adapter and manually reinstall it against the external end stop at position B (See Figure 4).
- Proceed with EAS installation

New Spring Return Actuators
- Without the shaft adapter installed, using the hex wrench, wind the manual override one full revolution and release the wrench (See Figure 5). The actuator will return to the 0° position and the preload is now removed

- Manually install the shaft adapter against the external stop on the left end of the actuator. (See position B in Figure 4.) Removing Factory Pre-load from New SR Actuator.
Preparing the Actuator Shaft Adapter
- Remove the position indicator from an in-service actuator.
- Determine the appropriate position adapter ring (See Figure 1).
- Align and snap the three open notches on the edge of the EAS position adapter ring in place over the three raised stubs on the actuator shaft adapter. (See Figure 6).

Short shaft applications
NOTE: The short shaft adapter is included in the packing box with the shaft adapter. With the short shaft adapter in place, align the notch of the EAS over the protruding tab on the position adapter ring and secure in place. (See Figure 7).
Preparing the EAS for Mounting
NOTE: The EAS label may cover the mounting holes.
See Figure 8 and Figure 9 for the mounting hole locations.
- On the back of the EAS, push the plastic inserts into the mounting holes. (See Figure 8 and Figure 9).
- Mount the position indicator on the face of the EAS (See Figure 8 step 2 and Figure 9, step 2).


Mounting External Auxiliary Switch to Actuator
- Nest the alignment peg of the EAS position adapter ring into the notch (See Figure 10). The EAS lies flush against the face of the actuator.

- Secure the EAS in place with the M5×25 screws provided. (See Figure 10).
CAUTION: The EAS should not shift when it is correctly installed firmly against the face of the actuator. The installation is complete.
Manual Override
NOTE: When EAS is installed, you can still access the manual override capability as shown in Figure
Auxiliary Switches
CAUTION:
There should be no load on the actuator when setting the auxiliary switches.
Setting the Switches
With the actuator in the full-closed (0°) position, press in and turn with a Phillips screwdriver to the desired setting. Release pressure to set the switch. The switch is now set.

Wiring
WARNING:
Do not mix operations. Apply only line voltage or only Class 2 voltages to the switching outputs of both auxiliary switches A and B.
Wiring Designation
| Wire Code | Color | Switch – Function |
| S1 | Gray/red | A Input |
| S2 | Gray/blue | A – NC |
| S3 | Gray/pink | A – NO |
| S4 | Black/red | B Input |
| S5 | Black/blue | B – NC |
| S6 | Black/pink | B – NO |
Dimensions
Information in this publication is based on current specifications. The company reserves the right to make changes in specifications and models as design improvements are introduced. OpenAir is a trademark of Siemens Industry, Inc. Other product or company names mentioned herein may be the trademarks of their respective owners. © 2018 Siemens Industry, Inc
Siemens Industry, Inc. Building Technologies Division 1000 Deerfield Parkway Buffalo Grove, IL 60089 + 1 847-215-1000
Your feedback is important to us. If you have comments about this document, please send them to [email protected]
Document No. 129-420 Printed in the USA



























