K NNER S HNEN KSB 21i S Inverter Generator

INTRODUCTION
Thank you for your purchase of K&S Basic products. This manual contains a brief description of safety, use and debugging. More information can be found on the official manufacturer’s website in the support section:
koenner-soehnen.com/manuals
You can also go to the support section and download the full version of the manual by scanning the QR code, or on the website of the official importer of K&S Basic products: www.koenner-soehnen.com
- We care about the environment, therefore, we consider it expedient to save paper and We care about the environment, therefore, we consider it expedient to save paper and leave in print a short description of the most important sections. leave in print a short description of the most important sections.
- Be sure to read the full version of the manual before getting started!
Manufacturer reserves the right to make alterations into the generators, which may not be reflected in this manual. Pictures and photos of the product may vary from its actual appearance. At the end of this manual, You may find contact information which you are free to use in case of any issues occurrence. All data, specified in this operation manual is the most up to date for the moment of its publishing. The current list of service centers you can find at the website of official importer: www.koenner-soehnen.com
ATTENTION – DANGER!
Failure to follow the recommendations marked with this sign may lead to serious injury or death of the operator or third parties.
IMPORTANT!
Useful information while operating the machine.
SAFETY INFORMATION
Do not use the generator in rooms with poor ventilation or in conditions of excessive humidity. Do not place the generator in water or on moist soil. Do not expose the generator to rain, snow, as well as to direct sunlight for a long time. Place the generator on a flat, hard surface, away from flammable liquids/gases (at a minimum distance of 1 m). Install the generator at a distance of not less than 1 m from the front control panel and not less than 50 cm on each side, including the upper part of the generator. Keep unauthorized persons, children, and animals away from work area. Wear safety shoes and gloves.
ATTENTION – DANGER!
The device generates electricity. Follow safety precautions to avoid electric shock.
The generator produces electricity that may lead to an electric shock while neglecting compliance regulations. All connecting the generator to the network must be made by certified electrician in accordance with all electrical rules and regulations. Connect the generator to the protective ground before operation. Wires with damaged or spoiled insulation should be replaced. You should also replace worn, damaged or rusty contacts.
ATTENTION – DANGER!
Be careful. Do not operate the generator, if you are tired, under the influence of drugs or alcohol. Inattention may cause a serious injury.
IMPORTANT!
Using device for other purposes deprives the right for free warranty.
PRECAUTIONS WHEN WORKING WITH GASOLINE GENERATOR
Do not start the generator operation upon presence of electric load! Disconnect the load before you stop the engine. Only unleaded gasoline is recommended for the generator. It is forbidden to use kerosene or other fuel types. Before running the generator, it is necessary to define the place and means of its emergency stop. Do not refuel the running generator.
ATTENTION – DANGER!
Fuel contaminates the land and groundwater. Do not allow the leaking gasoline from the tank!
SPECIFICATIONS
| Model | KSB 21i S | KSB 21i | KSB 35i | KSB 31iE S |
| Max Power, kW | 2 | 2 | 3.5 | 3.1 |
| Nominal Power, kW | 1.8 | 1.8 | 3.2 | 3 |
| Engine power, hp | 2.9 | 3.2 | 7 | 4.8 |
| Frequency, Hz | 50 | |||
| Voltage, V | 230 | |||
| Current, A (max.) | 8.6 | 8.7 | 15.22 | 13.4 |
| Output 12V, A | 12B/5A | – | 12B/8,3A | 12B/8,3A |
| Engine model | KSB 100i | KSB 130i | KSB 240i | KSB 170i |
| Engine cylinder volume cm3 | 79,5 | 119 | 212 | 149,8 |
| Engine type | gasoline 4 stroke cycle engine | |||
| Outlets | 2х16А | |||
| Power factor, cosφ | 1 | |||
| Fuel tank volume, l | 4.0 | 10 | 13 | 6 |
| Crankcase volume, l | 0.4 | 0.4 | 0.6 | 0.8 |
| Engine start | manual | manual | manual | manual / electro |
| Noise level Lpa(7m)/Lwa, dB | 59/93 | 70/95 | 71/96 | 69/96 |
| Dimensions (LxWxH), mm | 535x335x480 | 480x380x465 | 550x460x500 | 585x350x490 |
| Lithium battery, Ah | – | – | – | 4.5 |
| Net weight, kg | 20 | 21 | 33 | 30 |
| Protection class | IP23M | |||
| Acceptable deviation of a current is 10% | ||||
To ensure reliability and increase the engine service life, peak powers may be slightly limited by circuit breakers. The optimal operating conditions are ambient temperature of 17-25°C, barometric pressure of 0.1 MPa (760 mm Hg), and relative humidity of 50-60%. Under these environmental conditions, the generator can provide maximum performance in terms of the declared specifications. In the event of deviations from these environmental indicators, the generator performance may vary. Please note that in order to preserve the long service life of the generator, continuous loads of more than 80% of the nominal power are not recommended.
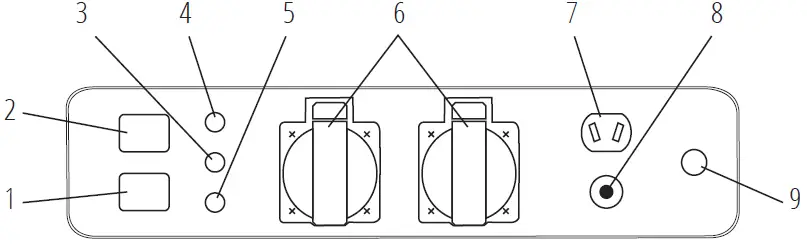
MAIN OVERVIEW
MODELS ٓKSBٓ21iS, KSB 31B 31iES
- Transport handles
- Fuel tank cap
- Control panel
- Starter
- Maintenance panel
- Ventilation grille
- Silencer

- 12V outlet’s overload protector
- 12V outlet
- Oil level indicator
- Voltage indicator
- Overload indicator
- Economy control switch (ECON)
- Grounding
- Elactrostart (for model KSB 31iE S)
- 16A outlets
IMPORTANT!
Manufacturer reserves the right to make changes and/or improvements in design, components set and technical attributes without notice and without incurring obligation. The pictures in this manual are schematical and may not match the parameters of original product.
MODELSKSB 21i, KSB 35i 
- Starter
- Frame
- Fuel tank cap
- Maintenance panel (in another side)
- Ventilation grille
- Silencer

- Switch
- Economy control switch (ECON)
- Voltage indicator
- Oil level indicator
- Overload indicator
- 16A outlets
- 12V/8A outlet
- 12V outlet’s overload protector
- Grounding
TERMS OF USE
When starting operating the generator, it’s recommended to ground it. Before starting the unit, remember that the total power of consumers connected should not exceed the rated capacity of the generator.
TYPES OF CONSUMERS AND INRUSH CURRENT
Consumers (electrical devices connected to the generator) are divided into active and reactive ones. Active ones are those, which energy is converted into heat (heating devices).
Reactive are all consumers with electric motor. When you run the engine, starting currents occur briefly, the size of which depends on engine design and purpose. Please consider those starting currents when choosing a generator. Most electric tools have starting current ratio 2-3. This means that when you turn such tools required generator power have 2-3 times more power load. The biggest factor of inrush current have such consumers as compressors, pumps, washing machines.
GENERATOR GROUND CIRCUIT
In order to prevent electric shock due to shoddy electrical appliances or wrong use of electricity, the generator must be grounded with a good-quality insulated conductor.
IMPORTANT!
Make sure the control panel, louver and the inverter bottom side cooling well and without chips, mud and water come in. It may damage the engine, inverter or alternator if the cooling vent blocked.
WORKING WITH THE DEVICE
ENGINE SWITCH
To enable engine turn the start switch to ON position. To eliminate the engine, turn the switch to STOP position. For model KSB 21i S, the engine switch is combined with the fuel valve handle. To turn on the engine, turn the fuel valve to the “ON” position; to turn off the engine, turn the fuel valve to the “OFF” position.
OIL WARNING LIGHT (YELLOW)
When the oil level falls below the lower level, the oil warning light comes on and then the engine stops automatically. Unless you refill with oil, the engine will not start again.
IMPORTANT!
Tip:
If the engine stalls or does not start, turn the engine switch to “ON” and then pull the recoil starter. If the oil warning light flickers for a few seconds, the engine oil is insufficient. Add oil and restart.
НOVERLOAD INDICATOR LIGHT (RED)
The overload indicator light comes on when an overload of a connected electrical device is detected, the inverter control unit overheats, or the AC output voltage rises. Then, the AC protector will trip, stopping power generation in order to protect the generator and any connected electric devices. The AC pilot light (Green) will go off and the overload indicator light (Red) will stay on, but the engine will continue running.
When the overload indicator light comes on and power generation stops, proceed as follows:
- Turn off any connected electric devices and stop the engine.
- Reduce the total wattage of connected appliance into the rated output.
- Check for blockages in the cooling air inlet and around the control unit. If any blockages are found, remove.
- After checking, restart the engine.
IMPORTANT!
Tip:
The overload indicator light may come on for a few seconds at first when using electric devices that require a large starting current, such as a compressor or a submergible pump. However, this is not a malfunction.
AC PILOT LIGHT (GREEN)
The AC pilot light comes on when the engine starts and produces power.
DC PROTECTOR
The DC protector turns to “OFF” automatically when electric device being connected to the generator is operating and current above the rated flows. To use this equipment again, turn on DC protector by pressing its button to “ON”.
IMPORTANT!
Reduce the load of the connected electric device below the specified rated output of the generator if the DC protector turns off. If the DC protector turns off again, stop using the device immediately and contact the point of sale and contact your nearest K&S Basic TM Service Center.
ECONOMY CONTROL SWITCH (ECON)
“ON”
When the ECON switch is turned to “ON”, the economy control unit controls the engine speed according to the connected load. As result you get less fuel consumption and noise.
““OFF”
When the ECON switch is turned to “OFF”, the engine runs at the rated speed (4500r/min) regardless of whether is a load connected or not.
IMPORTANT!
Tip:
The ECON must be turned to “OFF” when using electric devices that require a large starting current, such as a compressor of a submergible pump.
FUEL TANK CAP
Remove the fuel tank cap by turning it counterclockwise.
FUEL TANK CAP AIR VENT KNOB
The fuel tank cap is provided with an air vent knob to stop fuel flow (for models KSB 21i S, KSB 31iE S). The air vent knob must be turned to “ON”. This will allow fuel to flow to the carburetor and the engine to run. When the engine is not in use, turn the air vent knob to “OFF” to stop fuel flow.
GROUND (EARTH) TERMINAL
Grounding terminal connects the earth line for prevention of electric shock. When the electric device is grounded, the generator must be earthed too.
BEFORE STARTING
CHECK THE FUEL LEVEL
- Remove the fuel tank cap and check the fuel level.
- Add fuel to the filter level if necessary.
- Screw the fuel tank cap back tightly.
IMPORTANT!
Immediately wipe off spilled fuel with a clean, dry, soft cloth, since fuel may deteriorate painted surfaces or plastic parts. Use only unleaded gasoline. The use of leaded gasoline will cause severe damage to internal engine parts.
Recommended fuel: Unleaded gasoline
Fuel tank volume: see specifications table.
CHECK THE OIL LEVEL
Generstor is transported without the motor oil. Please don’t start the engine without filling the sufficient amount of motor oil.
- Unscrew the oil dipstick and wipe it out with a clean cloth.
- Insert the dipstick without screwing it in.
- Check the oil level by a mark on the oil dipstick.
- Add oil if its level is below the mark on the oil dipstick.
- Screw on the dipstick.
Recommended engine oil: SAE 10W-30, SAE 10W-40.
Recommended engine oil grade: API Service SE type or higher. Motor oil quantity: see specifications table.
STARTING TO WORK
Ensure that the power tool or consumers meet current capabilities of the generator before starting the engine. It is prohibited to exceed its rated capacity. Do not connect the device before starting the engine! Do not tilt the generator when adding engine oil. This could result in over filling and damage to the engine. The generator can be used with the rated output load at standard atmospheric conditions. The output of the generator varies due to temperature change, altitude (lower air pressure at higher altitude) and humidity. The output of the generator is reduced when the temperature, the humidity and the altitude are higher than standard atmospheric conditions. Additionally, the load must be reduced when using in a confined area, as generator cooling is affected.
Standard atmospheric conditions
Ambient temperature: -5оС to +30оС
Barometric pressure: 100 kPa
Relative humidity: less than 70%
IMPORTANT!
Do not change the configuration of the amount of fuel or speed controllers (this adjustment was made before the sale). Otherwise, there will be possible changes in the engine work or breakage.
ATTENTION – DANGER!
Do not let the generator work more than 30 minutes in range from nominal to maximum.
This material is for informational purposes only and is not an instruction how to install or connect equipment to the network. In practice, there are different options for supplying electricity and different rules for its connection. The decision on how to properly connect the equipment in each individual case must be made by a certified electrician who performs the installation and electrical connection of the equipment. The manufacturer is not responsible for improper connection of equipment, and is not responsible for possible material and physical damage that may occur as a result of improper installation, connection or operation of equipment.
ENGIN START
- Check oil level.
- Check fuel level.
- For models KSB 21i S, KSB 31iE S open the vent on the fuel cap to the “ON” position (seeimg.).
- Turn the air choke control knob to the “START” (Close) position, for model KSB 21i S, turn the Multifunctional engine switch 3 in 1 to the “START” position.
- Turn the fuel valve handle to the “ON” position (OPEN). (for models KSB 21i, KSB 35i, KSB 31iE S).
- Pull the manual starter until a slight resistance is felt, then pull it toward you relatively sharply.
- Slowly turn the manual starter by hand, do not release it abruptly.
- For generators with electric starters, turn the key to the START position and hold it in this position for a few seconds until the engine starts. Release the start key for it to return to the “ON” position.
- Turn the air choke control knob to the “RUN” (Open) position, for model KSB 21i S turn the Multifunctional engine switch 3 in 1 to the “RUN” position.
- Allow the generator to run idle for approx. 1-2 minutes.
- Connect the devices you need to the generator outlets.
FUEL TANK VENT
For models KSB 21i S, KSB 31iE S, the fuel tank cap is provided with a vent for sealing the fuel tank. The ventilation lever should be used; leave the ventilation lever in the “OFF” position to reduce the possibility of fuel leakage.
IMPORTANT!
Tip: When starting the engine, with the ECON “ON”, and there is no load on the generator:
- In ambient temperature below 0°С (32°F), the engine will run at the rated r/min (4500r/min) for 5 minutes to warm up the engine.
- In ambient temperature below 5°С (41°F), the engine will run at the rated r/min (4500r/min) for 3 minutes to warm up the engine.
- The ECON unit operates in normal mode after the specified period of time, while the mode switch is in the «ON» position
ATTENTION – DANGER!
Do not allow the simultaneous connection of two or more devices. To run multiple devices generator needs more power. Devices should be connected one by one according to their maximum permissible power. Do not connect the load in the first 3 minutes after starting the generator.
Ensure that the devices are in good condition before connecting them to the generator. If the connected device suddenly stopped working, immediately disconnect the load on the emergency stop switch, disconnect the device and check it out.
IMPORTANT!
When using the generator be careful!
You can use the generator if the voltmeter shows the value of 230V +/- 10% (50 Hz).
STOPPING THE ENGINE
ATTENTION – DANGER!
DISCONNECT ALL THE DEVICES BEFORE STOPPING THE GENERATOR! Do not stop the generator, if there are connected devices.
This may lead generator down!
To stop the engine, proceed as follows:
- Disconnect all devices connected to the generator, then disable the ECON mode.
- Allow the generator to operate at idle for 1-2 minutes for the alternator to cool down.
- Set the engine switch to OFF (for model KSB 21i S, the engine switch is combined with the fuel valve handle).
- Turn the fuel valve to the “OFF” position.
- After the generator stops, allow it to cool down and close the vent (for model KSB 21iS, KSB 31iE
COMMISSIONING
The first 20 hours of generator work please comply the following requirements:
- During commissioning, do not connect the load which power exceeds 50% of the nominal (working) generator power.
- After commissioning, be sure to change the oil. Its better to drain it before the engine cools down after work, in this case oil will drain faster.
IMPORTANT!
Before operating the generator, connect ground wire to ground terminal.
- Please consult with a specialist before using the ground terminal.
WARNING!
Battery is lithium, use only special charging device for lithium batteries (not in a set). If the generator does not start with an electric start (discharged battery), start the generator with a manual start and let the battery recharge.
ALTERNATING CURRENT (AC)
Be sure any electric devices are turned off before plugging them in.
- Be sure all electric devices including the lines and plug connections are in good condition before connection to the generator.
- After starting the generator, make sure that the voltage indicator (green) turned on.
- Overload light (red) turns on in case of a short circuit in the connected device or generator overload (more than 100W).
- Oil light (yellow) turns on in case of insufficient oil level and the generator automatically stops. If the engine stops or low oil level indicator lights when pulling the starter handle, check the level and top up if necessary.
- Power cord of the device connect to an outlet with AC power, turn on the AC fuse and turn on the device.
IMPORTANT!
Tip:
Make sure to ground the generator. When the electric device is earthed, the generator must be grounded too.
- Start the engine.
- Turn the ECON to “ON”.
- Plug in to AC receptacle.
- Make sure the AC pilot light is on.
- Turn on any electric devices.
IMPORTANT!
Tip: The ECON must be turned OFF to increase engine speed to rated rpm. If the generator is connected to multiple loads or electricity consumers, please remember to connect the one with the highest starting current first, and the one with the lowest starting current last.
BATTERY CHARGING
The generator DC rated voltage is 12V. Start the engine first, and then connect the generator to the battery for charging. Before starting to charge the battery, make sure that the DC protector is turned on.
- Start the engine.
- Connect the red battery charger lead to the positive (+) battery terminal.
- Connect the black battery charger lead to the negative (-) battery terminal.
- Turn the ECS “OFF” to start battery charging.
IMPORTANT!
- Be sure the ECON is turned off while charging the battery.
- Be sure to connect the red battery charger lead to the positive (+) battery terminal, and connect the black lead to the negative (-) battery terminal. Do not reverse these positions.
- Connect the battery charger leads to the battery terminals securely so that they are not disconnected due to engine vibration or other disturbances.
- Charge the battery in the correct procedure by following instructions in the owner’s manual for the battery.
- The DC protector turns off automatically if current above the rated flows during battery charging. To restart charging the battery, turn the DC protector on by pressing its button to “ON”. If the DC protector turns off again, stop charging the battery immediately and contact the point of sale.
If the DC protector turns off again, stop charging the battery because the charging current is too high.
Do not charge batteries if their current consumption is more than 5-8A (depending on the generator model).
ATTENTION – DANGER!
Never smoke or interrupt battery connections to the generator while the battery is being charged. Sparks can cause battery gas to ignite. Battery electrolyte is poisonous and dangerous and causes severe burns, as well as contains sulfuric acid. Avoid contact with skin, eyes and clothing.
TECHNICAL MAINTENANCE WORKS
Works, specified in “Technical maintenance” section, are to be regularity performed. If the the generator user has no possibility to perform regular maintenance independently, it is necessary to address the official service center to registrate an order for such works performance.
You can find a list of service center addresses in your warranty card.
IMPORTANT!
In case of any damages, occurred due to non-performance of regular maintenance works, the manufacturer bears no responsibility for such damages.
SUCH DAMAGES ARE ALSO:
- Damages occurred as a result of using non original spare parts.
- Corrosion damages and other results of improper equipment storage.
- Damages occurs as a result of maintenance performance by inexperienced and unauthorized specialists.
IMPORTANT!
MANUAL COMPLIANCE
Technical maintenance, operation and K&S Basic™ generator storage are to be performed according to this manual recommendations. Manufacturer bears no responsibility for damages and losses, caused by incompliance to safety requirements and technical maintenance rules.
FIRST OF ALL THIS APPLIES TO:
- Use of lubricants, gasoline and motor oils, forbidden by the manufacturer.
- Device technical alterations.
- Equipment operations against its intended use.
- Indirect damages, caused by operating faulty equipment.
TECHNICAL MAINTENANCE WORKS
| Node | Service type | Before starting | First month or working hours | Each month or working hours | Each 3 months after 50 | Each 6 months after 100 | Each year or 300 working hrs |
| Motor oil | Checking level | ![]() | |||||
| Changing | ![]() | ![]() | |||||
| Air filter | Checking/ Cleaning | ![]() | ![]() | ![]() | |||
| Changing | ![]() | ||||||
| Sparking plug | Cleaning | ![]() | ![]() | ||||
| Changing | ![]() | ||||||
| Fuel tank | Checking level | ![]() | |||||
| Cleaning | ![]() | ||||||
| Fuel filter | Changing | ![]() |
- for Models KSB 21i, KSB 35i.
- If the generator is often working at high temperature or at high load, the oil should be replaced every 25 operating hours.
- If the engine is often running in dusty or other harsh conditions, please clean the air filter every 10 hours.
- If you missed the maintenance time, perform it as soon as possible to save the generator engine.
ATTENTION – DANGER!
Stop the engine before servicing. Place the generator on a flat surface and remove the spark plug cap to prevent starting the engine. Do not run the engine in a poorly ventilated room or a closed room. The working area should be well ventilated. Emission from the engine contain toxic CO2, inhalation of which can cause shock, loss of consciousness and even death.
RECOMMENDED OILS
Motor oil has a serious impact on performance characteristics and is a major attribute, defining its service life. Use oils designed for four-stroke cycle vehicle engines, since such oils contain cleaning additives, which comply or even exceed SE standards according to API classification (or equivalent).
In general, the engine is recommended to run with motor oils of SAE10W-30, SAE10W-40 viscosity level. Motor oils with other viscosity levels, may be used only if the average air temperature in your region does not exceed the limits of the temperature range, specified in the table. Oil viscosity according to SAE standards or service category, are specified on the API capacity sticker.
REPLACING OR ADDING MOTOR OIL:
Upon oil level decrease it is necessary to add the required quantity in order to provide the correct generator operation. It is necessary to check the oil levels according to technical maintenance schedule.
ATTENTION – DANGER!
Avoid draining the engine oil immediately after stopping the engine. The oil is hot and should be handled with care to avoid burns.
TO DRAIN OIL, PROCEED AS FOLLOWS:
- Place the generator on a flat surface and warm up the engine for several minutes. Stop the engine and turn the fuel tank cap to the “OFF” position.
- Loosen the screws and remove the motor cover.
- Place an oil drain tray under the engine.
- Unscrew the oil drain cap with a hexagon key.
- Wait for the oil to drain. Tilt the generator for a better result.
- Add motor oil to a high level.
- Wipe the oil drain cap with a clean, dry cloth and wipe off any oil spills, if any. Make sure that no dirt, dust, etc. are caught in the crankcase.
- Replace the oil filler cap.
- Replace the vent cover and tighten the screws.
ATTENTION – DANGER!
Do not tilt the generator while adding oil to the engine. This can lead to overfilling and damage to the engine.
AIR FILTER
TECHNICAL MAINTENANCE
It is necessary to check the air filter from time to time and clean any contaminations. Regular air filter maintenance is necessary to maintain sufficient carburetor air inflow.
CLEANING THE FILTER:
- Open the air filter cover (for models KSB 21i, KSB 35i;
for models KSB 21i S, KSB 31iE S).
- Remove the sponge filtering element.
- Remove all dirt deposits inside the hollow case of the air filter.
- Thoroughly wash the filtering element in warm water.
- Dry the sponge filter.
- Dry filtering element is to be moistened by machine oil and excess oil is to be squeezed out.
SPARK PLUG TECHNICAL MAINTENANCE

Spark plug is an importaint element providing the correct engine operation. It has to be intact, without soot deposits and to have a correct gap.
SPARK PLUG INSPECTION:
- Remove the cap from the spark plug.
- Remove the spark plug by means of a corresponding spanner.
- Examine the spark plug.
If it is shattered – it is necessary to replace it. Recommended replacement spark plugs – F7RTC. - Measure the gap. It has to be within range 0.7 – 0.8 mm.
- Place the spark plug in its place by means of a spark plug spanner.
- Replace the spark plug cap.
MUFFLER SCREEN AND SPARK ARRESTER TECHNICAL MAINTENANCE
The engine and muffler will be very hot after the engine has been run. Avoid touching the engine and muffler while they are still hot with any part of your body or clothing during inspection or repair.
- Remove the screws, and then pull outward on the areas of the cover.
- Loosen the bolt and remove the muffler cap, the muffler screen and spark arrester.
- Clean the carbon deposits on the muffler screen and spark arrester using a wire brush.
- Check the muffler screen and spark arrester. Replace them if damaged.
- Replace the flame arrester.
- Replace the screen and cover of the damper.
- Replace the cover and tighten the screws.
IMPORTANT!
Tip: Align the spark arrester projection with the hole in the muffler pipe.
FUEL TANK FILTER TECHNICAL MAINTENANCE
ATTENTION – DANGER!
Never use the gasoline while smoking or in the vicinity of an open flame.
- Remove the fuel tank cap and filter.
- Clean the filter with gasoline.
- Wipe the filter and install it.
- Install the fuel tank cap.
Be sure the fuel tank cap is tightened securely.
GENERATOR STORAGE
The generator must be stored in a dry, well-ventilated area that is free from dust. Keep away from children and animals.
IMPORTANT!
Generator should always remain ready for operation. Therefore in case of device malfunctions, they are to be repaired before dismounting the generator for storage.
GENERATOR LONG-TERM STORAGE
If the generator will not be used for a long time, it is recommended to:
- Drain the fuel into the tank.
- Drain the motor oil.
- Pull the manual starter until a slight resistance is felt so that the inlet and drain valves get closed.
- Clean the generator from dirt and dust.
When starting the generator after long-term storage, proceed as above in the reverse order.
GENERATOR TRANSPORTATION
For easy generator transportation use packaging, which generator was sold in. Secure the box with the generator to avoid tipping it on the side of the carriage. Before moving the generator drain the fuel and disconnect the terminals of the battery (if this model has a battery). To move the generator from one place to another lift it by holding the frame (if generator has construction with open frame). If generator has an silent cover, use transportation handles. Be careful, do not expose your feet under the generator.
GENERATOR AND BATTERY UTILISATION
To prevent damage to the environment separate generator and battery from ordinary waste and recycle them in the safest way passing a special place for disposal. Potential faults and troubleshooting methods, as well as average device capacities can be found in thefull version Potential faults and troubleshooting methods, as well as average device capacities can be found in thefull version of the manual. of the manual.
WARRANTY SERVICE TERMS
The international manufacturer warranty is 1 year. The warranty period starts from the date of purchase. In cases when warranty period is longer than 1 year according to local legislation please contact your local dealer. The Seller which sells the product is responsible for granting the warranty. Please contact the Seller for warranty. Within the warranty period, if the product fails because of defects in the production process, it will be exchanged on the same product or repaired. All faults caused by the manufacturer during the warranty period will be eliminated free of charge. Warranty repair is carried out only if you have a fully completed warranty card, the Buyer’s signature of acceptance of the warranty terms, as well as a document supporting the purchase (cash receipt, sales slip or invoice). In the absence thereof, as well as in the event of errors or corrections not authenticated by the seller’s seal or illegible inscriptions in the warranty card or tear-off coupon, no warranty repair is carried out, no objections to quality are accepted and the warranty card is withdrawn by the service center as invalid. The device is accepted for repair clean and full.
EC Declaration of Conformity
Nr.073
The following products have been tested by us with the listed standards and found in compliance with the European Community Machinery Directive 2006/42/EC, Electromagnetic compatibility Directive (EMC) 2004/108/EC, Noise Directive 2000/14/EC.
Manufacturer: DIMAX INTERNAT IONAL GmbH
Address: Hauptstr. 134 , 51143 Cologne, Germany
Product: Inverter generator “K&S BASIC”
Type/ Model: KSB 2t1, KSB 35i.
The statement is based on a single evaluation of above menti9.ned products. It does not imply an assessment of the whole P, uction and does not permit the use of lie test lab. logo. The manufacturer should ensure that all product in series production are in conformity with the product sample eta lied in this report. The applicant sh uld ho the whole technical report at disposal of the competent all the right.
Applied EC Directives: 2006/42/EC Machinery Directive
2004/108/EC Electromagnetic compatibility Directive (EMC)
2000/14/EC Noise Directive
Applied Standards: EN ISO 8528-13:2016
AfPS GS 2019:01
EN 55012
EN 61000-6-1
Engines KSB 130i, KSB 240i correspond to European Emission Standard Euro V. his is confirmed by EU YPE-APPROVAL CERTIICATE granted by NSAl Certihication.
Technical service responsible for carrying out the test -TUV SUD Auto service GmbH in München, Germany
Date of issue 21/12/2018
2000/14/EC 2005/88/EC Annex VI
Noise measured 93 dB (A), guaranteed 95 dB A
For Models KSB 35i
Noise measured = 94 dB (A), guaranteed 96 dB (A)
Issued Date: 2020-04-23
Place of issue: Warsaw city
Technical expert: Homenco A
We DIMAX INTERNATIONAL GmbH hereby declare that specified above conforms covering European Parliament and Council Directives, 2006/42/EC of 17 May 2006 Machinery Directive, Electromagnetic compatibility Directive (EMC) 2004/108/EC of 15 December 2004, Noise Directive 2000/14/EC of 8 May 2000. The CE mark above can be used under the responsibility of manufacturer. After completion of an EC declaration of Conformity and compliance with all relevant EC directives.
Nr.074
The following products have been tested by us with the listed standards and found in compliance with the European Community Machinery Directive 2006/42/EC Electromagnetic compatibility Directive (EMC) 2014/30/EC, Low Voltage Directive 2014/35/EC, Noise Directive 2000/14/EC.
Manufacturer: DIMAX INTERNATIONAL GmbH
Address: Hauptstr. 134, 51143 Cologne, Germany
Product: Inverter generator “K&S BASIC”
Type/Model: KSB 21iS, KSB 31E S.
The statement is based on a single evaluation of above mentioned products. It does not imply an assessment of the whole production and does not permit the use of th test lab. logo. The manufacturer should ensure hat all product in series production a · conformity with the product sample detailed in this report. The applicant should hold the whole technical report at disposal of the competent all the right.
Applied EC Directive s: 2006/42/EC Machinery Directive
2014/30/EC Electromagnetic compability Directive (EMC)
2014/35/EC Low Voltage Directive
2000/14/EC Noise Directive
(EU) 2016/1628 Non-Road mobile machinery emission
Applied Standards: EN ISO 8528-13:2016
AfPs GS 2019:01PAK
EN ISO 3744:1995
ISO 8528-10:1998
EN 55012:2009
EN 61000-6-1:2007
Engines KSB 1 00i, KSB 170i correspond to European Emission Standard Euro V. This is confirmed by EU TYPE-APPROVAL CERTIFICATE _granted by NSAI certification. Technical service responsible for carrying out the test -TUV SUD Auto service GmbH in München, Germany Date of issue 3/12/2018
2000/14/EC_2005/88/EC Annex VI
For Model KSB 21 i S
Noise measured = 91 dB (A), guaranteed LwA= 93 dB (A)
For Models KSB 31 iE S
Noise measured = 94 dB (A), guaranteed LwA= 96 dB (A)
Issued Date: 2020-08-15
Place of issue: Warsaw city
Technical expert: Homenco A.
We DIMAX INTERNATIONAL GmbH hereby declare that specified above conforms covering European Parliament and Council Directives, 2006/42/EC of 17 May 2006 Machinery Directive, 2014/35/EC Low Voltage Directive of 26 February 2014, Noise Directive 2000/14/EC of 8 May 2000. The CE mark above can be used under the responsibility of manufacturer. After completion of an EC declaration of Conformity and compliance with all relevant EC directives.
CONTACTS
Deutschland:
DIMAX International GmbH Flinger Broich 203 -FortunaPark- 40235 Düsseldorf, Deutschland
www.koenner-soehnen.com
Ihre Bestellungen
[email protected]
Kundendienst, technische Fragen und Unterstützung
[email protected]
Garantie, Reparatur und Service
[email protected]
Sonstiges
[email protected]




for models KSB 21i S, KSB 31iE S).


















