AS-900 UHF
USER’SMANUAL
ANY SPOT
WIRELESS PERSONAL MONITOR
AS-900 Any Spot Wireless Personal Monitor

MAKERS OF THE ORIGINAL HOT SPOT PERSONAL MONITOR
WARNING!
USING THIS SYSTEM AT EXCESSIVE VOLUMES CAN CAUSE PERMANENT HEARING DAMAGE. USE AS LOW A VOLUME AS POSSIBLE.
In order to use this system safely, avoid prolonged listening at excessive sound pressure levels. Please use the following guidelines established by the Occupational Safety Health Administration (OSHA) on maximum time exposure to sound pressure levels before hearing damage occurs.
| 90 dB SPL at 8 hours | 110 dB SPL at½ hour |
| 95 dB SPL at 4 hours | 115 dB SPL at 15 minutes |
| 100 dB SPL at 2 hours | 120 dB SPL avoid or damage may occur |
| 105 dB SPL al 1 hour |
It is difficult to measure the exact Sound Pressure Levels (SPL) present at the eardrum in live applications. In addition to the volume setting on the
Personal Monitors, the SPL in the ear is affected by ambient sound from floor wedges or other devices. The isolation provided by the fit of quality earpieces is also an important factor in determining the SPL.
Here are some general tips to follow in the use of this product to protect your ears from damage.
- Turn up the volume control only far enough to hear properly.
- Ringing in the ears may indicate that the gain levels are too high. Try lowering the gain levels.
- Have your ears checked by an audiologist on a regular basis. If you experience wax buildup in your ears, stop using the system until an audiologist has examined your ears.
- Wipe the ear molds with an antiseptic before and after use to avoid infections. Stop using the earphones if they are causing great discomfort or infection.
! IVIEORTAINT SAFETY IINSTLCTIONS !
- READ these instructions.
- KEEP these instructions.
- HEED all warnings.
- FOLLOW all instructions.
- DO NOT use this apparatus near water.
- CLEAN ONLY with dry cloth.
- DO NOT block any ventilation openings. Install in accordance with the manufacturer’s instructions.
- DO NOT install near any heat sources such as radiators, heat registers, stoves or other apparatus (including amplifiers) that produce heat.
- DO NOT defeat the safety purpose of the polarized or grounding-type plug. A polarized plug has two blades with one wider than the other. A grounding type plug has two blades and a third grounding prong. The wider blade or the third prong are provided for your safety. If the provided plug does not fit into your outlet, consult an electrician for replacement of the obsolete outlet.
- PROTECT the power cord from being walked on or pinched particularly at plugs convenience receptacles, and the point where they exit from the apparatus.
- ONLY USE attachments/accessories specified by the manufacturer.
- UNPLUG this apparatus during lightning storms or when unused for long periods of time.
- REFER all servicing to qualified service personnel. Servicing is required when the apparatus has been damaged in any way, such as power-supply cord or plug is damaged, liquid has been spilled or objects have fallen into the apparatus, the apparatus has been exposed to rain or moisture, does not operate normally, or has been
dropped. - DO NOT expose the apparatus to dripping and splashing. DO NOT put objects filled with liquids, such as vases, on the apparatus.
- Remove the batteries from the receiver if the system will not be used for a long period of time. This will avoid any damage resulting from a defective, leaking battery.
- DO NOT throw used batteries into a fire. Be sure to dispose of or recycle used batteries in accordance with local waste disposal laws.
LICENSING INFORMATION
THIS RADIO EQUIPMENT IS INTENDED FOR USE IN PROFESSIONAL ENTERTAINMENT
AND SIMILAR APPLICATIONS.
Changes or modifications not expressly approved by Galaxy Audio Incorporated could void your authority to operate the equipment. Licensing of Galaxy Audio wireless microphone equipment is the user’s responsibility, and licensability depends on the user’s classification and application, and on the selected frequency. Galaxy Audio strongly urges the user to contact the appropriate telecommunications authority concerning proper licensing, and before choosing and ordering frequencies.
NOTE: THIS EQUIPMENT MAY BE CAPABLE OF OPERATING ON SOME FREQUENCIES NOT AUTHORIZED IN YOUR REGION. PLEASE CONTACT YOUR NATIONAL AUTHORITY TO OBTAIN INFORMATION ON AUTHORIZED FREQUENCIES FOR WIRELESS MICROPHONE PRODUCTS IN YOUR REGION
Licensing: Note that a ministerial license to operate this equipment may be required in certain areas. Consult your national authority for possible requirements.
Introduction
Thank you for choosing a Galaxy Audio Wireless Personal Monitor system. You have joined thousands of other satisfied customers. Our years of professional experience in design and manufacturing ensure our products’ quality, performance and reliability.
System Components
All AS-900 systems include the following components:
AS-900T Transmitter
AS-900R Receiver
Power Supply
One Pair EB4 Ear Buds One Antenna
Single/Dual Rack Kit
Quick Start Guide

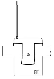
AS – 900T Transmitter Features
Front Panel: 
- Headphone Jack.
- Headphone Level Control.
- Left turn for output level decrease, right turn for output level increase.
- Left Channel Input Level Meter.
- Right Channel Input Level Meter.
- On/Off Switch. Press to switch on, meters will blink once. Press again to switch off.
NOTE: POWER ON Indicator:
When the Power switch is activated on the AS-900 transmitter, the AF Input Level lights on the front of the unit will blink once to indicate power has been applied. These meter lights will not remain lit unless a signal is present at one or both inputs, and the respective AF Level input level controls on the back of the unit are adjusted as needed.
If the AF Input Level lights blink wnen powered but no continuous lights are present despite having a signal on either input, please check the AF Level controls, and ensure that the incoming signal level is strong enough to register on the meter.
Back Panel: 
- DC Power Input Jack.
- Stereo/Mono Switch. Stereo position preserves Left/Right signals throughout system. Mono position mixes Left/Right signals together.
- Left Channel XLR/1/4″ Combo Input Jack.
- Right Channel XLR/1/4″ Combo Input Jack.
- Left Channel Input Level Control.
- Right Channel Input Level Control.
- Antenna Jack. 50 ohms.
Body Pack Receiver
![]() | Features: 1. Antenna. 2. RF/Low Battery Indicator. GREEN indicates Receiver and Transmitter ON, and receiving RF. RED indicates Low Batteries. 3. Earphone jack. 4. Audio output control and On/Off switch Left turn for output level decrease, right turn for output level increase. |
![]() | Wearing the Body Pack Receiver Clip the receiver to a belt For best results, slide the receiver until the belt is pressed against the base of the clip. |
![]() | Changing Batteries Expected life for (2) AA Alkaline batteries is approximately 5 hours. When the battery indicator flashes, the batteries should be changed immediately. |
Specifications
System
Band: UHF
Transmitter Output Level: 10dBm
Operating Range Under Typical Conditions: 200′ (61m)
Note: actual range depends on RF signal absorption, reflection, and interference.
Audio Frequency Response: +/-3dB 80Hz~16KHz
Total Harmonic Distortion (+/-30KHz deviation 1KHz tone): <1%
Dynamic Range: >90dB A-weighted
Operating Temperature Range: 14°F to 122°F (-10° C to +50° C)
Note: battery characteristics may limit this range
AVAILABLE AS-900 FREQUENCIES
| CODE N1 | 514.4 MHz |
| CODE N2 | 517.55 MHz |
| CODE N4 | 521.85 MHz |
| CODE N6 | 527.55 MHz |
| CODE N8 | 534.15 MHz |
| CODE N9 | 538.8 MHz |
Transmitter
Max Audio input level: +6dBV
Gain Adjustment Range: 40dB
Input Impedance: 100KQO
Dimensions: 1.5″ x 8.3″ x 3.8″ (38 x 212 x 96mm) (HWD)
Weight: 210z. (605 g)
Power Requirements:12-18 V dc at 300mA supplied by external power supply
XLR input: Impedance balanced Pin1 Ground (cable shield) Pin2 Audio Pin3 No Audio
Body Pack Receiver
Audio Output Level: 100mW
Sensitivity: -94dBm for 30dB SINAD, typical
Image Rejection: >70dB
Dimensions: 3.74″ x 2.6″ x 1″ (95 x 65 x 25mm) (HWD)
Weight: 3.20z. (90 g) without batteries
Power Requirements:2 AA size alkaline or rechargeable batteries
Battery Life: About 5 hours
Please click or scan the QRs for the most current information.
Accessories and Replacement Parts
Many of these parts and accessories may be found and purchased from the Galaxy Audio website in either the Galaxy Store (https://www.galaxyaudio.com/parts-and-accessories) or in the accessories tab of each products web page.
| AS-EXTBNC – BNC Connector and Cable for front mounting the antennas on wireless rackmounted systems. | |
| AS-ANTBNC – Replacement BNC Antenna for use with Galaxy Audio Wireless Personal Monitors. (Part number will vary based on the Frequency Code of specific unit) | |
| WMC-CGR – DC Charger for AS-1500R, HH64, HH64SC, & MBP76. Charges 2 body packs or handhelds at once. | |
| AS-CLIP911R – Replacement Belt Clip for AS-900, AS-1100, MBP52, & MBP64 | |
| PS-13.5-.35.5 – 600mA Replacement Power Supply for AS-900, AS-950, AS-1100, AS-1400, AS-1800, VES, VSC, ECD, EDX, ECM, PSE, DHT, DHX & CTS. | |
| AS-UAl2-14.5 – 1000mA Universal Power Supply for Replacement Power Supply for AS-900, AS-950, AS-1100, AS-1400, AS-1800, VES, VSC, ECD, EDX, ECM, PSE, DHT, DHX, DHTRQUAD, DHXR4, & CTS. Includes adapters for most other countries. | |
| ANT-PDL – Directional antenna used to decrease interference to other equipment. Frequency range 500-900MHz The UHF wide-band (500-900 MHz) directional LPDA (log periodic dipole array) antenna reduces outside interference while providing increased send/receive signal range. Each antenna paddle is matched to 50 ohms impedance with a low-loss BNC connector; 7dBi gain. For permanent or temporary installation; mounts to 5/8″-27 threads. | |
| EB4 – Ear buds which come standard with our Wireless Personal Monitor Systems with 1/8″ – 3.5mm Jack. | |
| EB4S – Replacement Sleeves for EB4 Ear Buds. 5 pair in each pack. Available in Small, Medium, or Large. | |
| MREWD – Replacement Single/Dual Rack Kit for AS-900, AS-950, AS-1100, & AS-1400 | |
| BATTCVR900 – Replacement Battery Cover for AS-900 Body Pack. |
MAKERS OF THE ORIGINAL
HOT SPOT PERSONAL MONITOR

http://galaxyaudio.com/?utm_source=QR&utm_medium=AS900-Manual&utm_campaign=AS900-Manual-Index-QR
THREE YEAR LIMITED WARRANTY
WARRANTY Information can be viewed online at
http://galaxyaudio.com/support/warranty?utm_source=QR&utm_medium=AS900-Manual&utm_campaign=AS900-Manual-Warranty-QR
AS-93900
USER’S MANUAL
Specifications in this manual are subject to change without notice.
For the most up to date manual and information
visit www.galaxyaudio.com.
1-800-369-7768
www.galaxyaudio.com
© Copyright Galaxy Audio 2019
V20190423
























