AXIS COMMUNICATIONS M20 Bullet Camera Installation Guide
Read this first
Read through this Installation Guide carefully before installing the product. Keep the Installation Guide for future reference.
Legal considerations
Video surveillance can be regulated by laws that vary from country to country. Check the laws in your local region before using this product for surveillance purposes.
This product includes the following licences:
- one (1) H.264 decoder license
- one (1) H.265 decoder license
To purchase further licenses, contact your reseller.
Liability
Every care has been taken in the preparation of this document. Please inform your local Axis office of any inaccuracies or omissions. Axis Communications AB cannot be held responsible for any technical or typographical errors and reserves the right to make changes to the product and manuals without prior notice. Axis Communications AB makes no warranty of any kind with regard to the material contained within this document, including, but not limited to, the implied warranties of merchantability and fitness for a particular purpose. Axis Communications AB shall not be liable nor responsible for incidental or consequential damages in connection with the furnishing, performance or use of this material. This product is only to be used for its intended purpose.
Intellectual property rights
Axis AB has intellectual property rights relating to technology embodied in the product described in this document. In particular, and without limitation, these intellectual property rights may include one or more of the patents listed at axis.com/patent and one or more additional patents or pending patent applications in the US and other countries.
This product contains licensed third-party software. See the menu item “About” in the product’s user interface for more information.
This product contains source code copyright Apple Computer, Inc., under the terms of Apple Public Source License 2.0 (see opensource.apple.com/apsl). The source code is available from developer.apple.com/bonjour/.
Equipment modifications
This equipment must be installed and used in strict accordance with the instructions given in the user documentation. This equipment contains no user serviceable components. Unauthorized equipment changes or modifications will invalidate all applicable regulatory certifications and approvals.
Trademark acknowledgements
AXIS COMMUNICATIONS, AXIS, ARTPEC and VAPIX are registered trademarks of Axis AB in various jurisdictions. All other trademarks are the property of their respective owners.
Apple, Apache, Bonjour, Ethernet, Internet Explorer, Linux, Microsoft, Mozilla, Real, SMPTE, QuickTime, UNIX, Windows, and WWW are registered trademarks of the respective holders.
Java and all Java-based trademarks and logos are trademarks or registered trademarks of Oracle and/or its affiliates. The UPnP Word Mark and UPnP Logo are trademarks of Open Connectivity Foundation, Inc. in the United States or other countries.

microSD, microSDHC, and microSDXC Logos are trademarks of SD-3C LLC. microSD, microSDHC, microSDXC are trademarks or registered trademarks of SD-3C, LLC in the United States, other countries or both.
Regulatory information
Europe
This product complies with the applicable CE marking directives and harmonized standards:
- Electromagnetic Compatibility
(EMC) Directive 2014/30/EU. See
Electromagnetic compatibility (EMC) on page 2 . - Low Voltage Directive (LVD) 2014/35/EU. See Safety on page 3 .
- Restriction of Hazardous Substances (RoHS) Directive 2011/65/EU and 2015/863, including any amendments, updates or replacements. See Disposal and recycling on page 3 .
A copy of the original declaration of conformity may be obtained from Axis Communications AB.
See Contact information on page 4 .
Electromagnetic compatibility (EMC)
This equipment has been designed and tested to fulfill applicable standards for:
- Radio frequency emission when installed according to the instructions and used in its intended environment.
- Immunity to electrical and electromagnetic phenomena when installed according to the instructions and used in its intended environment.
USA
This device complies with part 15 of the FCC Rules. Operation is subject to the following two conditions:
- This device may not cause harmful interference, and
- this device must accept any interference received, including interference that may cause undesired operation.
This equipment has been tested using an unshielded network cable (UTP) and found to comply with the limits for a Class A digital device, pursuant to part 15 of the FCC rules.
This equipment has also been tested using a shielded network cable (STP) and found to comply with the limits for a Class A digital device, pursuant to part 15 of the FCC rules.
These limits are designed to provide reasonable protection against harmful interference when the equipment is operated in a commercial environment. This equipment generates, uses, and can radiate radio frequency energy and, if not installed and used in accordance with the instruction manual, may cause harmful interference to radio communications.
Operation of this equipment in a residential area is likely to cause harmful interference in which case the user will be required to correct the interference at his own expense.
Contact information
Axis Communications Inc.
300 Apollo Drive
Chelmsford, MA 01824
United States of America
Tel: +1 978 614 2000
Canada
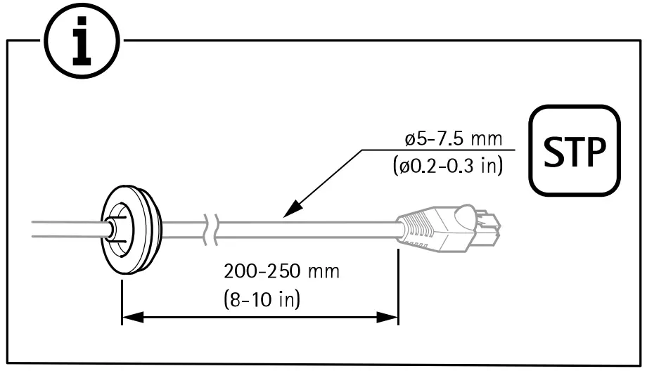
This digital apparatus complies with CAN ICES-3 (Class A). The product shall be connected using a shielded network cable (STP) that is properly grounded.
Europe
This digital equipment fulfills the requirements for RF emission according to the Class A limit of EN 55032. The product shall be connected using a shielded network cable (STP) that is properly grounded. Notice! This is a Class A product. In a domestic environment this product may cause RF interference, in which case the user may be required to take adequate measures.
Australia/New Zealand
This digital equipment fulfills the requirements for RF emission according to the Class A limit of AS/NZS CISPR 32. The product shall be connected using a shielded network cable (STP) that is properly grounded. Notice! This is a Class A product. In a domestic environment this product may cause RF interference, in which case the user may be required to take adequate measures.
Safety
This product complies with IEC/EN/UL 62368-1,
safety of audio/video and IT equipment, and
IEC/EN/UL 60950-22, Safety of Information
Technology Equipment.
When used with Power over Ethernet (PoE), the
Power Sourcing Equipment (PSE) shall comply
with IEEE 802.3af and Limited Power Source
(LPS) according to clause 2.5 of IEC/EN/UL
60950-1 or annex Q of IEC/EN/UL 62368-1.
We recommend the use of Axis midspans or Axis
PoE switches.
Photobiological safety
This product fulfills the requirements for
photobiological safety according to IEC/EN
62471 (exempt).
Disposal and recycling
When this product has reached the end of its
useful life, dispose of it according to local laws
and regulations. For information about your
nearest designated collection point, contact
your local authority responsible for waste
disposal. In accordance with local legislation,
penalties may be applicable for incorrect
disposal of this waste.
Europe
This symbol means that the product shall not be disposed of together with household or commercial waste. Directive 2012/19/EU on waste electrical and electronic equipment
(WEEE) is applicable in the European Union member states. To prevent potential harm to human health and the environment, the product must be disposed of in an approved and environmentally safe recycling process. For information about your nearest designated collection point, contact your local authority responsible for waste disposal. Businesses should contact the product supplier for information about how to dispose of this product correctly.
This product complies with the requirements of Directive 2011/65/EU and 2015/863 on the restriction of the use of certain hazardous substances in electrical and electronic equipment (RoHS).
China
This product complies with the requirements of SJ/T 11364-2014, Marking for the restriction of hazardous substances in electrical and electronic products.
Tel: +46 46 272 18 00
Fax: +46 46 13 61 30
axis.com
Warranty information
For information about Axis’ product warranty and thereto related information, go to axis.com/warranty.
Support
Should you require any technical assistance, please contact your Axis reseller. If your questions cannot be answered immediately, your reseller will forward your queries through the appropriate channels to ensure a rapid response. If you are connected to the Internet, you can:
- download user documentation and software updates
- find answers to resolved problems in the FAQ database, search by product, category, or phrase
- report problems to Axis support staff by logging in to your private support area
- chat with Axis support staff
- visit Axis Support at axis.com/support
Learn more!
Visit Axis learning center axis.com/learning for useful trainings, webinars, tutorials and guides.
Safety information
Hazard levels
DANGER
Indicates a hazardous situation which, if not avoided, will result in death or serious injury.
WARNING
Indicates a hazardous situation which, if not avoided, could result in death or serious injury.
CAUTION
Indicates a hazardous situation which, if not avoided, could result in minor or moderate injury.
NOTICE
Indicates a situation which, if not avoided, could result in damage to property.
Other message levels
Important
Indicates significant information which is essential for the product to function correctly.
Note
Indicates useful information which helps in getting the most out of the product.
Safety instructions
NOTICE
- The Axis product shall be used in compliance with local laws and regulations.
- Axis recommends using a shielded network cable (STP).
- Axis recommends using a network cable of category CAT5e or higher.
- Store the Axis product in a dry and ventilated environment.
- Avoid exposing the Axis product to shocks or heavy pressure.
- Do not install the product on unstable poles, brackets, surfaces or walls.
- Use only applicable tools when installing the Axis product. Using excessive force with power tools could cause damage to the product.
- Do not use chemicals, caustic agents, or aerosol cleaners.
- Use a clean cloth dampened with pure water for cleaning.
- Use only accessories that comply with the technical specification of your product.
These can be provided by Axis or a third party. Axis recommends using Axis power source equipment compatible with your product. - Use only spare parts provided by or recommended by Axis.
- Do not attempt to repair the product yourself. Contact Axis support or your Axis reseller for service matters.
- The power supply shall be plugged in to a socket outlet installed near the product and shall be easily accessible.
- Use a limited power source (LPS) with a rated output power limited to ≤100 W and a rated output current limited to ≤5 A. Transportation
NOTICE
- When transporting the Axis product, use the original packaging or equivalent to prevent damage to the product.
Battery
The Axis product uses a 3.0 V BR1632A lithium battery as the power supply for its internal real-time clock (RTC). Under normal conditions this battery will last for a minimum of five years.
Low battery power affects the operation of the RTC, causing it to reset at every power-up. When the battery voltage is low, a log message will appear in the product’s server report.
CAUTION
Do not replace the battery yourself. Contact Axis support if the log message requests a battery change.
Lithium coin cell 3.0 V batteries contain 1,2-dimethoxyethane; ethylene glycol dimethyl ether (EGDME), CAS no. 110-71-4.





























Installation Guide
AXIS M20 Bullet Camera Series
© 2021 Axis Communications AB
Ver. M2.2
Date: November 2021
Part No. 2425269




















