613171, IXLKYNFP Kyneton Outdoor Pit n Grill User Guide
Thank you for purchasing an IXL Outdoor Pit n Grill® Fire Pit
If you enjoy an outdoor fire, creating a warm and enticing atmosphere in your backyard, garden or whilst camping the versatile Australian made and designed IXL Fire Pit is ideal.
The IXL difference
Our fire pits are locally designed and produced using Australian steel in our manufacturing facility situated in Geelong, Victoria. Their creation was brought about by a passionate team of engineers and designers who love a flame fire and are enthusiastic campers, BBQ chefs and outdoors people. Many hours were spent on the design and testing of our fire pit range to ensure their construction meets the high-quality standards of the IXL brand.
We hope you have many hours of enjoyment and entertainment with your IXL Fire Pit.
Assembly Guide
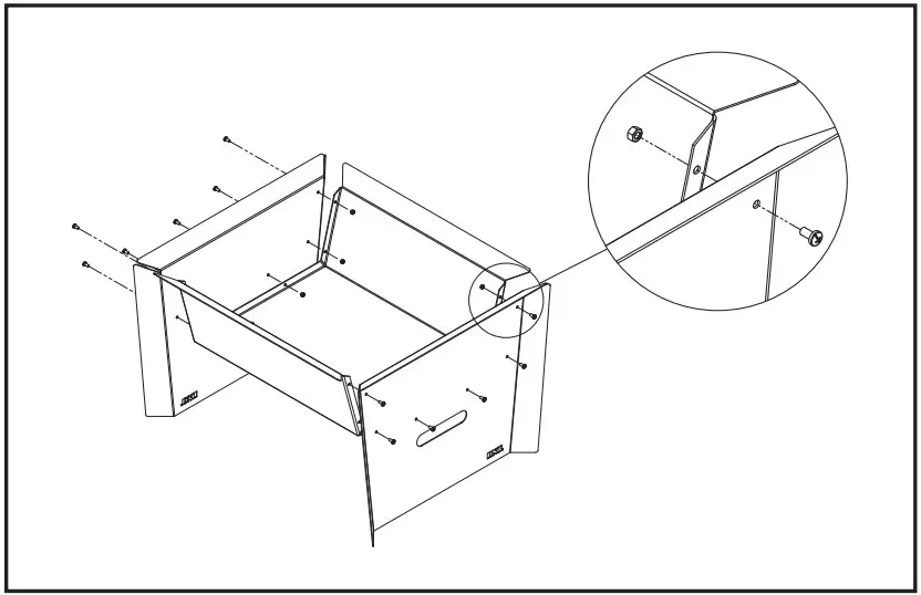
Step 1
Position the 2 x Fire Pit Side Panels and align the screw holes to Fire Pit Body. Tightly fasten the Fire Pit Side Panels to the Fire Pit Body using the M5 10mm Bolts and M5 Hex Nuts supplied. Please note, the M5 Hex Nuts should be positioned inside the Fire Pit Body. (As shown in Fig. 1)
Step 2
The Grill/Hot Plate can be positioned and mounted by placing onto the edges of the assembled Fire Pit. Please ensure the Grill Plate flanges are located on the outside of the Fire Pit assembly when mounting. (As shown in Fig. 2)
Pack Contents
- 1 x Fire Pit Body

- 2 x Side Panel

- 1 x Grill/Hot Plate

- 1 x Screw Drive

- 12 x M5 10mm Bolt

- 1 x M5 Spanner

- 12 x M5 Hex Nut

CAUTION
Young children must be supervised when in the vicinity of this fire pit, when in operation.
This product is not intended for use by persons (including children) with reduced physical, sensory or mental capabilities or lack of knowledge, unless they have been given supervision or instructions concerning the use of the appliance by a person responsible for their safety and have the capacity to follow these instructions.
This product can become very hot and cause burns. Particular attention must be given where children and vulnerable people are present.
This fire pit is not intended for use by young children or infirm people without supervision.
- This appliance is for outdoor use only, and shall NOT be used in a building, garage, or any other enclosed area.
- This fire pit is manufactured from Australian steel, it may have sharp edges, use gloves when assembling the fire pit and base.
- Do NOT use this outdoor fire pit for indoor heating. TOXIC carbon monoxide fumes can accumulate and cause asphyxiation.
- This outdoor fire pit is NOT for commercial use.
- This outdoor fire pit is NOT to be operated by children.
- This outdoor fire pit is NOT to be used in or on boats or recreational vehicles.
- Always use in accordance with all applicable local, state and national codes. Contact your local council for details on outdoor burning.
- When using this outdoor fire pit, exercise the same precautions you would with any open fire.
- The use of alcohol, prescription or non-prescription drugs may impair the consumer’s ability to properly assemble or safely operate this outdoor fire pit.
- Do NOT use this outdoor fire pit without reading the entire instruction manual.
- This outdoor fire pit is recommended for use with dry, seasoned hardwood. It will burn hotter, more completely and create less smoke. The timber fuel needs to be spread evenly as uneven heat may result in the warping of panels.
- Do NOT burn manufactured logs, driftwood, trash, leaves, paper, cardboard, plywood, painted or stained or pressure treated wood.
- Do NOT alter this outdoor fire pit in any manner.
- Do NOT use this outdoor fire pit until it is COMPLETELY assembled, and all parts are securely fastened and tightened.
- Do NOT store or use gasoline or other flammable vapours or liquids in the vicinity of this or any other appliance.
- Do NOT store or use an LP gas cylinder within 10 feet (3.05 m) of this outdoor fire pit while it is in operation.
- Do NOT use this outdoor fire pit near automobiles, trucks, vans or recreational vehicles.
- Do NOT use in an explosive atmosphere. Keep outdoor fire pit area clear and free from combustible materials, gasoline and other flammable liquids.
- Do NOT use this outdoor fire pit under any overhead or near any unprotected combustible constructions. Avoid using near or under overhanging trees and shrubs.
- Always use this outdoor fire pit on a hard, level non-combustible surface such as concrete, rock or stone. An asphalt or blacktop surface may not be acceptable for this purpose. Do NOT use on wooden decks.
- Always empty this outdoor fire pit before each use. A thin layer of sand is to be placed in the base prior to use.
- Do NOT wear flammable or loose clothing when operating this outdoor fire pit.
- NOT use in windy conditions.
- Do NOT use this outdoor fire pit unless spark guards are securely in place.
- Do NOT use gasoline, kerosene, diesel fuel, lighter fluid or alcohol to light or relight fires.
- Keep all electrical cords away from a hot fire pit.
- All surfaces of this outdoor fire pit are hot when in operation. To avoid burns, do NOT touch the fire pit until it has completely cooled unless you are wearing protective gear (Potholders, gloves, BBQ mittens, hot pads etc.). Never touch ashes or coals to see if they are hot.
- Do NOT leave a lit outdoor fire pit unattended, especially around children and pets.
- Do NOT attempt to move or store this outdoor fire pit until all ashes and coals are completely extinguished.
- Do NOT remove ashes or coals until they are completely and fully extinguished.
- Use long, sturdy fire pit tools when adding or moving logs.
- Do NOT overload the fire pit. Do not add additional firewood until the fire burns down. NOTICE: If any portion of the fire pit or base are glowing red it is overloaded.
- Do NOT lean over this outdoor fire pit when lighting or when in use.
- Do NOT place a hot spark guard or hot fire pit tools onto combustible surfaces such as grass, wooden deck or furniture.
- Avoid breathing smoke from the fire and avoid getting it into your eyes.
- This outdoor fire pit should be thoroughly inspected and cleaned on a regular basis.
- After a period of storage and/or non-use, check for signs of damage and creosote build-up. Do NOT operate until necessary repairs and/or clean-up are executed.
- Deaths, serious injury or damage to property may occur if the above is not followed exactly
Lighting and Tending
Wood Fire
Place a 20-30mm layer of clean washed sand in the bottom of the pit prior to placing recommended material for the lighting of fire. Put some dry tinder in the centre of your fire pit. Tinder are the small sticks and twigs used to get the fire burning.
Stack your kindling on top of the tinder in a “tepee” structure. Light your kindling. As the kindling starts to catch and burn, place a layer of dry seasoned hardwood that is cut to lengths no more than ¾ of the length of the bowl.
You will need to tend to the fire by adding logs, or shifting them around for an ideal atmosphere, however wait until glowing coals have developed before adding additional wood.
WARNING:
Remember to always use protective gear and fire tools when tending to the fire. Do NOT add kerosene, fuel, alcohol, lighter fluid, or gasoline to relight or enhance an existing fire.
Extinguishing
Allow the fire to burn itself out and coals and embers to no longer glow. Use a shovel to spread the ashes and embers around evenly.
Do NOT use water to extinguish as this is dangerous and can cause damage. If the fire needs to be put out quickly, we suggest using sand spread over the embers and ash to smother any remaining fire. Do not bury the fire or it will continue to smoulder underground and can eventually reignite.
Care and Cleaning
If you wish for your fire pit to retain its appearance store it in a dry undercover shed, garage or similar. Turn fire pit upside down when not in use.
If you do not use a cover, store this outdoor fire pit in a dry location to maximise product life when not in use for long periods.
We recommend storing the fire pit and accessories indoors or undercover, protected from the elements.
Note: This fire pit is made from Australian mild steel and is designed to go rusty over a period, some panels may have commenced this process when purchased.
Warranty
One Year Warranty
This Warranty against defects for your newly purchased IXL Fire Pit is proudly prepared by IXL
Home Pty Ltd of 1K Marine Parade, Abbotsford, VIC 3067, phone 1300 727 421.
Visit IXL Home website below to register your warranty details online.
Australia: www.ixlappliances.com.au/warranty New Zealand: www.ixlappliances.co.nz/warranty
- IXL fire pits come with guarantees that do not exclude the following consumerentitlements under the Australian Consumer Law and New Zealand Consumer Law:
a. replacement or refund for a major failure and compensation for any other reasonably foreseeable loss or damage; and
b. to have the goods replaced if goods fail to be of acceptable quality and the failure does not amount to a major failure. - IXL Home warrants that your product and related supply will be free from defects in materials and workmanship during the warranty term. Your warranty term is one year commencing from the date of purchase.
- Subject to Point 1, IXL Home will during the warranty term provide a repair or replacement of an equivalent current model where the balance of the warranty period from the original date of purchase will take effect.
- To the fullest extent permitted by law and subject always to Point 1, IXL Home will not be liable for:
a. any loss or damage arising from loss of use, loss of profits or revenue; or
b. for any indirect or consequential loss or damage resulting from any breach of this warranty against defects. - Defective Fire Pit products may be repaired using refurbished parts or if required, completely replaced by a refurbished product of the same type.
Limitations to Your IXL Home Warranty
- Subject to Point 1, this Warranty:
a. will only be provided to the original purchaser where the original purchase was made from a IXL Home Authorised Dealer or Reseller and proof of such purchase can be presented at the time of service;
b. only applies to Fire Pit products purchased in Australia or New Zealand from a IXL Home Authorised Dealer or Reseller;
c. will not apply where the defect in or failure of the product is attributable to misuse, abuse, accident or non-observation of the manufacturer’s instructions. This product must be used in accordance with the manufacturer’s instructions;
d. will not cover faults due to normal wear and tear with reasonable use;
e. will not cover any damages or problems caused to this product by natural forces e.g. storm, fire, flood, and earthquake; or by intrusion or accumulation (or both) of foreign matters e.g. dust, soil, and moisture. IXL Home recommends that you take out appropriate insurances to protect your product to this end;
f. will not apply if this product is used in an environment it is unsuitable for;
g. covers use of this product for domestic use only;
h. will not be restarted or extended upon replacement of the product or a part
L. will not cover warranty due to rusting. IXL fire pit is designed to go rusty over a period of time
How to make a Claim under Your IXL Home Warranty
- To make a claim under this Warranty you will need to:
a.contact IXL Home customer service at [email protected].au provide details and register your claim enabling a IXL Home assessment;
b.submit proof of purchase with your claim e.g. tax invoice or purchase receipt; - IXL Home will contact you to make arrangements for a replacement product, if applicable.
- Subject to Point 1, you will be responsible for any costs relating to the provision of your product to a IXL Home Authorised Service Dealer.
- Subject to Point 1, in the event you live more than 50Km from a IXL Home Authorised Service Dealer you may be subject to travel or transport costs to facilitate the repairing or replacement of your IXL product.
- IXL Home and its Authorised Service Dealers reserve the right to seek reimbursement of any costs incurred by them should your product be found to be in good working order.
Privacy
The privacy of your personal information has always been important to us. To learn more about how we collect, keep and use your personal information, please obtain a copy of our privacy statement by visiting our website at www.ixlhome.com.au or by contacting us via the below contact details.
www.ixlhome.com.au
Australia: 1300 727 421
New Zealand: 0800 727 421

















