SONNEMAN 1784 4 Light Linear LED Pendant

Product Information and Warnings
- IMPORTANT
- Always disconnect the power before installing or replacing Luminaires and before cleaning or other maintenance.
- Consult a qualified, licensed electrician to ensure correct branch circuit conductor.
- Please read all included assembly instructions and warnings carefully before installation. Contact Customer Service if you have any questions or concerns. Before installation, please confirm that the fixture is compatible with your supply voltage and dimming system, if present.
- LEDs are highly sensitive electronic devices, and must be treated with care. Do not open any factory sealed compartments, and avoid touching the LEDs with your hands or any object.
- Although all our fixtures are equipped with protective devices, LED electronic systems are vulnerable to power surges and supply variations. Do not install LED fixtures on the same circuit as any motors, appliances, or HVAC systems. Do not remove of bypass any LED Driver or Transformer that is provided with the fixture, and do not replace or substitute with another power supply. Remote LED Driver installation must be done by a licensed
- electrician and in accordance with local building and electrical codes. Remote installations should be in an accessible location, as close to the fixture as possible.
- Fixtures must be wired in parallel on independent leads; do not “daisy chain” multiple fixtures together or wire them in series .
- All factory-made splices and connections must remain intact. LED circuits are carefully designed and built, and improper connections may damage the fixture.
- The ends of coaxial pendant cords have been precisely stripped and split at the factory and must not be field cut. Excess cord or cable should be neatly coiled and reserved in the fixture canopy.
- Any mounting hardware is provided for your convenience and should be used with discretion. Always use the appropriate hardware for the mounting surface.
Assembly Instructions


- 1. Shut off power to the outlet box (A).
- Install the mounting plate (B) to the ceiling under outlet box (A) with included screws (C).
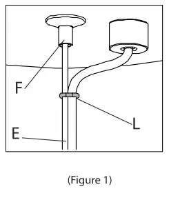
- Determine the height at which the fixture (D) is to be hung. Insert the steel cable (E) through the respective holes in the canopy (H) for the lock (F) and adjust to the desired length. To shorten the cable, push the cable up and it will be locked automatically. To lengthen the cable, lift up on the cable and push up on the lock. While keeping the lock depressed, lower the cable to the desired length. Release the lock to set.
- Use the screwdriver to loosen the slotted set screw (G). Adjust height of cord. Tighten the set screw to set. Reserve extra cord in the canopy (H).
- Make appropriate electrical connections using wire nuts(Appendix A):
- Connect the LED driver’s (J) live wire to the live outlet box wire.
- Connect the LED driver’s (J) neutral wire to the neutral outlet box wire.
- Connect the canopy’s ground wire (green or uncoated) to the ground outlet box wire. If no ground is present in outlet box, connect canopy’s ground wire to the mounting plate (B) using the green screw (included).
- Connect the fixture inner conductor to the positive (+) driver output wire and connect the fixture outer conductor to the negative (-) driver output wire.
- Carefully place connections and LED driver in canopy.
- Install canopy (H) to the mounting plate (B) with canopy nuts (K) and make final adjustments to the height.
- Slide cord rings (L) as close to canopy (H) and fixture (D) as possible (Figure 1 ).
- Install trim (M) by threading it to fixture (D). Note: Install shade (N) and trim (M) by installing trim through hole in shade, installing rubber gasket (P) to trim, and threading trim to fixture (D).
- Restore power to the outlet box (A).
Note:
This fixture is dimmable with Electronic Low Voltage
(Trailing-Edge) and Incandescent (Leading-Edge) type dimmers only.
Care Instructions:
- Use a clean, dry cloth when dusting.
- To protect the finish, avoid any harsh abrasives or chemicals.
Coax Splicing
FAILURE TO FOLLOW THESE INSTRUCTIONS WILL VOID THE WARRANTY
Coaxial Power Cord:

If field-cutting is required, please follow these instructions:
- Make a 1″ slice along the length of the cord’s outer jacket (Fig. 1 ). CAUTION: Do not cut through the outer braided conductor.
- Carefully strip the outer jacket of the cord and keep the outer braided conductors intact (Fig. 1 ).
- Slide the outer braided conductor back to create a bulge and reveal the inner stranded conductor (Fig. 2).
- Bend the cord to create an opening through the bunched-up portion of outer braided conductor, then pull out the inner stranded conductor (Fig. 3)
- Twist together the outer braided conductor to form the negative wire of the fixture, then strip 5/8″ off the end of the inner stranded conductor to form the positive wire of the fixture (Fig. 4).
- Re-splice all power cords.



















