IKEA 703.128.90 KNUTBO Sealing Spotlight 4 Spots

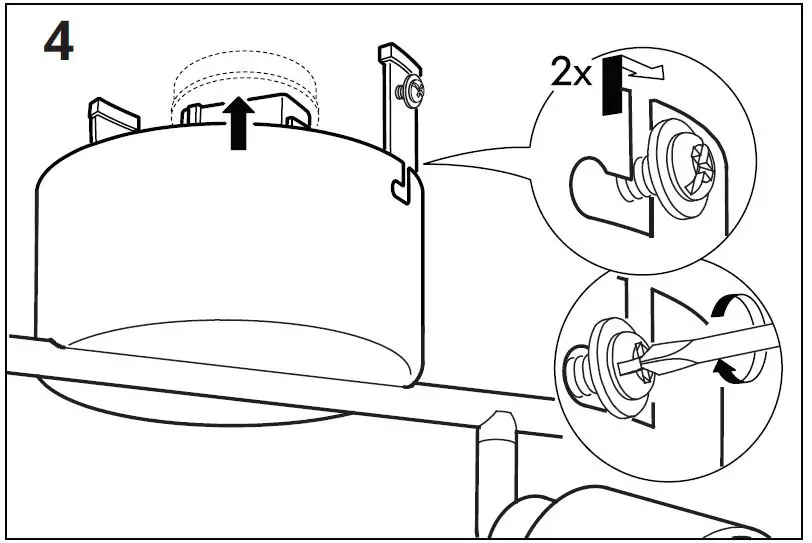
IMPORTANT!
If you have any problems regarding the electrical installation, contact an electrician. Always shut off power to the circuit before starting installation work.








When CHARGING BULB use only GU10 LED bulb.
Do not use GU10 use GU10 Halogen.

















