Breezeway Panel Fans
Direct & Belt Drive
OPERATION & MAINTENANCE MANUAL
IMPORTANT! Read before proceeding!
Please read and save these instructions. Read carefully before attempting to assemble, install, operate or maintain the product described. Protect yourself and others by observing all safety information. Failure to comply with instructions could result in personal injury and/or property damage! Retain instructions for future reference.
INTRODUCTION

Receiving and Handling
PennBarry fans are carefully inspected before leaving the factory. When the unit is received, inspect for any signs of tampering.
Inspect the unit for any damage that may have occurred during transit and check for loose, missing or damaged parts. Mishandled units can void the warranty provisions. If units are damaged in transit, it is the responsibility of the receiver to make all claims against the carrier. PennBarry is not responsible for damages incurred during shipment.
Avoid severe jarring and/or dropping. Handle units with care to prevent damage to components or finishes. If the unit is scratched due to mishandling, the protective coating may be damaged. Incorrect lifting may damage the fan and void the warranty.
Storage
Long-term storage requires special attention. Store units on a level, solid surface, preferably indoors. If outside storage is necessary, protect the units against moisture and dirt by encasing them in plastic or in some similar weatherproof material. Periodically inspect units and rotate wheels to spread bearing lubricant. Failure to rotate wheels results in reduced bearing life and may void the manufacturer’s warranty. If the unit will be stored for an extended time, remove belts. Belts that remain under tension in a stationary position for extended periods are likely to have a reduced operating life.
INSTALLATION
Any accessories which have been provided “knocked-down” can be assembled per illustrations provided (pages 12-15).
Location and Guards
All fans have moving parts which require guarding in the same way as other moving machinery. Where the fan is accessible to untrained personnel or the general public, use maximum safety guards, even at the cost of some performance. Unprotected fans located less than 7’ above the floor require guarding as specified in the Occupational Safety and Health Act (OSHA). UL listed fans, to maintain their personal safety listing, must be installed not less than 10 feet above the floor. PennBarry recommends the use of guards on all exposed non-ducted fans.
Installing the Panel Fan
Wall openings must be square and must be a minimum of 1/2” greater than the outside dimension of the panel fan housing, when recessed within the wall. Level and securely anchor the fan to the wall through holes pre-drilled in the mounting flange. Use the type, size and number of fasteners suitable to the unit size and wall construction. If the contractor removes ventilator parts, reassemble by placing all spacers, washers, nuts, bolts, fasteners and components exactly as they were prior to removal. Tighten and secure all fasteners.
| Model | Dimension C (Inches) | ||||||||||||
| 10 | 12 | 14 | 16 | 18 | 20 | 24 | 30 | 36 | 42 | 48 | 54 | 60 | |
| P | 4 | 4 | – | 4 | 4 | 5 | 5 | – | – | – | – | – | – |
| BX | – | 4 | 4 | 4 | 4 | 4 | 4 | – | – | – | – | – | – |
| BC/BCH | – | – | – | – | – | – | 6 | 6 | 6 | 6 | 7 | 7.5 | 7.5 |
| BHH | – | – | – | – | – | – | 6 | 6 | 6 | 6 | 7 | 7 | 7 |

Figure 3: Typical Mounting Arrangements
Follow all local electrical, safety and building codes, the provisions of the National Electrical Code and the Occupational Safety and Health Act.
Positioning and Running Power Lines
Power is normally brought from within the building through proper conduit lines to the wall opening and in turn to the (service switch, if furnished, and) motor.
When power lines are brought up to the unit, provide a generous amount of slack to allow for motor adjustments and to permit movement of motor for belt tension adjustments. Ground motor adequately and securely. Protect power lines from sharp objects.
Do not kink power line or permit it to contact hot surfaces, chemicals, grease or oil. Use only UL recognized electrical parts, rated for proper voltage, load and environment.
Installing the Wall Damper
When required, level and fasten the wall damper through the mounting holes provided in the damper mounting flange. Consult Figure 1 for the proper mounting arrangements. Secure the damper to the wall opening without undue twisting which may distort the frame. Check for free operation. If dampers are motor operated type, ascertain the proper voltage is present on motor terminals.
The fan is now ready for service.
START-UP AND OPERATION
Before placing hand on impeller or belts, lock out power source. Check all set-screws and keys. Tighten when necessary.
CAUTION
Belt Tension and Pulley Alignment
Check condition of belts and the amount of tension prior to start-up. DO NOT over-tighten, as bearing damage will occur.
Recommended belt tension should permit deflection of 1/64” per inch of span on each side of belt measured halfway between pulley centerline. Exercise extreme care when adjusting belts so as not to misalign the pulleys. Any misalignment will cause a sharp reduction in belt life and produce squeaky, annoying noises. On units equipped with two groove pulleys, adjust all belts with equal tension.
Carefully inspect the unit before start-up. All motor bearings should be properly lubricated, and all fasteners should be securely tightened. Rotate propeller by hand to ensure free movement.
Whenever belts are removed or installed, never force belts over pulleys without loosening motor first, to relieve belt tension.
Make sure inlets and approaches to the unit are free from obstruction. To ensure maximum air movement, make sure adequate supply air is available.
Before putting fan into operation, complete the following check list:
a. Turn off and LOCK OUT power source.
b. Make sure installation is in accordance with manufacturer’s instructions.
c. Check and tighten all fasteners.
d. Spin propeller to see if rotation is free.
e. Check all set-screws and keys; tighten if necessary.
f. Torqued set screws have a colored Torque Seal mark indicating the correct torque has been applied.
g. Check belt or direct drive coupling for alignment (use recommended belt tension gauges).
h. Check belt for proper sheave selection.
i. Make sure there is no foreign or loose material in ductwork leading to and from fan or in the fan itself.
j. Properly secure all safety guards.
k. Secure all access doors to fan and ductwork.
l. Check line voltage with motor nameplate.
m. Check wiring.
(On single phase motors, the terminal block must be set up in accordance with the nameplate instructions and/or wiring diagram. This set up must match the line voltage. If the motor is multi-speed or multi-voltage, the winding leads must be grouped and connected as shown on the motor wiring diagram. The line voltage must correspond with proper grouping of motor leads. The wiring diagram must be followed explicitly, or serious motor or starter damage will occur.)
The fan has been checked at the factory prior to shipment for mechanical noises. If mechanical noises should develop:
a. Check rotating components for adequate clearance.
b. Check proper belt tension and pulley alignment.
c. Check installation and anchoring.
d. Check fan bearings.
Switch on electrical supply and allow fan to reach full speed. Check carefully for:
- Correct rotation of the impeller.
Incorrect rotation overloads motor severely and results in serious motor damage. To change rotation of three phase units, interchange any 2 of the 3 line leads. On single phase units, change the terminal block set-up following the wiring diagram on the motor. - Check motor and bearing temperatures for excessive heat against the manufacturer’s recommendations.
Use care when touching the exterior of an operating motor. Modern motors normally run hot. They are designed to operate at higher temperatures. This is a normal condition, but they may be hot enough to be painful or injurious to the touch.
If any problem is indicated, TURN OFF POWER TO UNIT IMMEDIATELY. Lock out the electrical supply, check carefully for the cause of the trouble and correct as needed. Even if the fan appears to be operating satisfactorily, shut down after a brief period and check all fasteners, setscrews and keys for tightness.
During the first eight (8) hours of operation, check the fan periodically for excessive vibration or noise. At this time, also check motor input current and motor bearing temperatures to ensure that they do not exceed manufacturer’s recommendations. After eight hours of satisfactory operation, shut down the fan and lock out the electrical power to check the following items and adjust if necessary:
a. All set-screws, keys and fasteners.
b. Drive coupling alignment.
c. Belt alignment.
d. Belt tension.
Supply Applications – Field Modifications (BHH ONLY)
To change the unit to a supply application, propeller must be “flipped” so that blade leading edge is closest to the motor.
Special Purpose Systems
Environments that are explosive, corrosive, subject to high temperatures, etc., may require special construction, inspection and maintenance. It is necessary to observe the fan manufacturer’s recommendations and limitations concerning the type of material to be handled by the fan and its application to special conditions.
MAINTENANCE
Do not attempt maintenance on fan until the electrical supply has been completely disconnected. If a service switch has not been provided, remove all fuses from the circuit and lock the fuse panel so they cannot accidentally be replaced.
Lubrication is a primary maintenance responsibility. Check all bearings periodically. Inspect belts for tightness. If the fan is installed in a corrosive or dirty atmosphere, periodically clean the impeller, inlet and other moving parts.
Fan Shaft Lubrication
Fan shaft bearing pillow blocks are factory greased eliminating the need for greasing initially. Follow the lubricating schedule recommended by the factory. When required, apply grease while the shaft is rotating. This practice should not supersede any safety considerations.
Use low pressure grease guns only. High pressure guns tend to blow out or unseat bearing seals, leaving the bearing open to collect grime, dust and foreign particles.
Lubrication Schedule
a. Under average conditions where ambient temperatures do not exceed 120°F, lubrication is required 1 to 2 times a year.
b. In dirt laden atmospheres or where there is a temperature range of 120°F to 150°F, lubrication is required from 3 to 6 times a year.
c. Under extreme temperature conditions and extremely dirty atmospheres, lubrication should be at least once or twice a month.
Recommended Lubricants
| Manufacturer | Product | Temp. Range |
| BP | LG-#P-1 | Below 32°F (0°C) |
| Gulf | Gulfcrown EP-1 | |
| Imperial Oil | Unirex EP-1 | |
| Shell | Alvania R-1 | |
| BP | Energrease, MPMK11 | 32°F to 150°F (0°C to 66°C) |
| Gulf | Gulfcrown EP-2 | |
| Imperial Oil | Unirex EP-2 | |
| Shell | Alvania R-3 | |
| Sun Oil | Sun Prestige 42 | |
| Texaco | Regal AFB2 |
Motor Lubrication
In general, standard motors are furnished with prelubricated, sealed-for-life ball bearings which require no lubrication for 7 to 10 years of normal service. Where motors have been ordered with greasable bearings, these bearings are factory lubricated and require no attention for one year under normal conditions. If grease relief fittings are provided, remove them when performing maintenance to allow grease to flow out. Whenever possible, apply grease while the motor is running. This practice should not supersede any safety considerations. DO NOT OVERGREASE, as most lubricants deteriorate motor windings, thereby reducing motor life.
Hidden Danger
In addition to the normal dangers of rotating machinery, fans present an additional hazard in their ability to suck in not only air, but loose material as well. Solid objects can pass through the fan and be discharged by the impeller as potentially dangerous projectiles.
Therefore, screen intake to ductwork, whenever possible, to prevent the accidental entrance of solid objects. Never open access doors to a duct system with the fan running.
When starting the fan for the first time, completely inspect the ductwork and interior of the fan (with power locked off), to make certain there is no foreign material which can be sucked into or blown through the ductwork.
Guards
All fans have moving parts which require guarding in the same way as other moving machinery.
Where the fan is accessible to untrained personnel or the general public, use maximum safety guards, even at the cost of some performance loss. Unprotected fans located less than 7’ above the floor also require guarding as specified in the Occupational Safety and Health Act (OSHA).
PennBarry recommends the use of guards on all exposed nonducted fans, ceiling and wall mounted.
TROUBLESHOOTING CHECKLIST
| Symptom | Possible Cause(s) | Corrective Action |
|
Excessive noise | 1. Defective or loose motor bearings | 1. Replace motor with same frame size, RPM,(HP) |
| 2. Ventilator base not securely anchored | 2. Reset properly | |
| 3. Loose or unbalanced wheel/propeller | 3. Tighten screws, remove build-up, balance wheel/ propeller | |
| 4. Misaligned pulleys or shaft | 4. correct alignment | |
| 5. Loose or damaged wheel/propeller | 4. Replace wheel/propeller | |
| 6. Wheel running in wrong direction | 6. Reverse direction | |
|
Fan inoperative | 1. Blown fuse or open circuit breaker | 1. Replace fuses or circuit breaker |
| 2. Loose or disconnected wiring | 2. Shut off power and check wiring for proper connections | |
| 3. Defective motor | 3. Repair or replace motor | |
| 4. Broken belts | 4. Replace belts | |
|
Insufficient airflow | 1. Clogged filters | 1. Clean filters |
| 2. Operation in wrong direction | 2. Correct rotation of propeller | |
| 3. Insufficient make-up air direction | 3. Add make-up fan or louver opening | |
|
Motor overheating | 1. Belt slippage | 1. Adjust tension or replace belts |
| 2. Overvoltage or under voltage | 2. Contact power supply company | |
| 3. Operation in wrong direction | 3. Reverse direction of motor | |
| 4. Fan speed too high | 4. Slow down fan by opening variable pitch pulley on motor shaft | |
| 5. Incorrect motor (service factor 1.0, low ambient temperature) | 5. Replace motor with correct open, NEMA service factors (1.15 or higher) with 40 degrees ambient | |
| 6. Undersized motor | 6. Check motor ratings with catalog speed and air capacity chart |
Note: Care should be taken to follow all local electrical, safety and building codes. Provisions of the National Electric Code (NEC), as wells as the Occupational Safety and Health Act (OSHA) should be followed.
All motors are checked prior to shipment. If motor defects should develop, prompt service can be obtained from the nearest authorized service station of the motor manufacturer while under warranty. Exchange, repair or replacement will be provided on a no charge basis if the motor is defective within the warranty period. The PennBarry representative in your area will provide a name and address of an authorized service station if requested. WARNING: Motor guarantee is void unless overload protection is provided in motor wiring circuit.
Parts Replacement
If replacing parts, do so with properly selected components which duplicate the original parts correctly. Incorrectly sized shafts, belts, pulleys, impellers, etc., can damage the fan.
Typical Parts List
- Panel
- Venturi Orifice
- Fan Blade (Cast Aluminum or Fabricated Steel)
- Ball Bearing Motor
- Structural Supports
- Motor Mounting Plate
- Fan Shaft and Bearings (Belt Drive Only)
- Belt and Pulleys (Belt Drive Only)

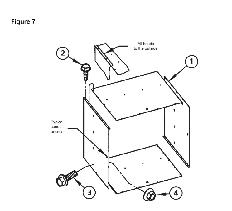
WALL MOUNTING SLEEVE ASSEMBLY

Item | Quantity | Description |
| 1 | 4 | Wall Sleeve Panel |
| 2 | * | 1/4-20 X 3/4 Self Tapping Screw |
| 3** | * | 1/4-20 X 3/4 Whiz Bolt |
| 4** | * | 1/4-20 Whiz Nut |
NOTES:
- Make sure all bends are to the outside.
- Use caulk to seal all seams.
* 3. Varies by model side.
**4. This hardware is used to attach the fan (not illustrated) into wall sleeve.
WEATHERSHIELD ASSEMBLY

Table 3: Parts List
| Item | Quantity | Description |
| 1 | 1 | Weather Cover Side (LEFT) |
| 2 | 1 | Weather Cover Side (RIGHT) |
| 3 | 1 | Weather Cover Top #1 |
| 4 | 1 | Weather Cover Top #2 |
| 5 | 1 | Weather Cover Bottom |
| 6 | * | 1/4-20 X 3/4 Self Tapping Screw |
NOTES:
- Make sure all bends are to the outside.
- Use caulk to seal all seams.
* 3. Varies by model side.
2 PIECE WALL MOUNTING SLEEVE/WEATHER SHIELD GUARD ASSEMBLY 54” & 60”

Table 4: Parts List
| Item | Quantity | Description |
| 1 | 40 | 1/4-20 X 3/4 Self Tapping Screw |
| 2 | 2 | Screen Guard |
| 3* | 5 | 3/8-16 X 1” Whiz Bolt |
| 4* | 5 | 3/8-16 Whiz Nut |
| 5* | 10 | .390 X 1.875 Diameter Washer |
NOTES:
* 1. Equally space hardware connecting both halves of guard.
2. Guards 24 through 48 are 1 piece with no assembly required.
REAR/FRONT GUARD ASSEMBLY

Table 5: Parts List
Item | Quantity | Description | |
| Rear | Front | ||
| 1 | 4 | 4 | Guard Panel |
| 2 | * | * | 1/4-20 X 3/4 Self Tapping Screw |
| 3 | ** | ** | Screen Guard |
| 4*** | 5 | 5 | 3/8-16 X 1” Whiz Bolt |
| 5*** | 5 | 5 | 3/8-16 Whiz Nut |
| 6*** | 10 | 10 | .390 X 1.875 Diameter Washer |
NOTES:
- Assemble the sheet metal parts first and then attach the screen second.
- Make sure that all bends are to the outside.
- Use caulk to seal all seams. *
- Varies by model size.
- Guards 24 through 48 are 1 piece with no assembly required. 54 & 60 are 2 pieces.
- Equally space hardware connecting both halves of guard (54 & 60).
PennBarry is proud to be your preferred manufacturer of commercial and industrial fans and blowers. Learn how PennBarry can assist
you in your next application by contacting your PennBarry Representative or visiting us on the web at www.pennbarry.com.
PennBarry | www.pennbarry.com | [email protected] | tel: 972.212.4700 | fax: 972.212.4702
PennBarry reserves the right to make changes at any time, without notice, to models, construction, specifications, options and
availability. This manual illustrates the appearance of PennBarry products at the time of publication.
View the latest updates on the PennBarry website.
© 2020 PennBarry. All Rights Reserved. Revised AUGUST 2022


















