31430 LED Wandleuchte Up-Down Light
User Manual
31430 LED Wandleuchte Up-Down Light
Metzler LED wall light Up-Down-Light 31430
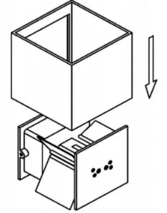
Assembly:
- Solve using the Allen wrench the screws on both sides. Remove then the cover of the lamp upwards.

- Draw the ones to be drilled holes using the Mounting bracket on the wall a. Use one screwdriver or Cordless screwdriver to close the holes drill. Insert the dowels and screw in the screws.

- Connect the power line (220-240 V AC) by means of a suitable connector. Observe you that connection of a carried out by an electrician should be! There is the Risk of electric shock.

- Connect the illuminant with the mounting bracket; use the for this hex key. Make sure the rubber seal between Housing and cover correct is used.

- You can now remove the cover Shine the light again from above Attach the light and use the Fix 2 hexagon screws.

INTENDED USE / APPLICATION
Product designed for the use in households, outdoors and for other similar general applications.
MOUNTING
Technical changes reserved. Read the manual before mounting. Mounting should be performed by an appropriately qualified person. Any activities to be done with disconnected power supply. Exercise particular caution.
Product has a protective conductor. Failure to connect the protective conductor may lead to electric shock. Mounting diagram: see pictures. Check for proper mechanical fastening and connection to electrical power prior to first use. The product can be connected to a supply network which meets energy quality standards as prescribed by law. To maintain the proper IP protection level, the right diameter of the power cable should be selected for the cable gland used in the product.
FUNCTIONAL CHARACTERISTICS
Product can be used either indoors or outdoors.
USAGE GUIDELINES / MAINTENANCE
Any maintenance work must be performed when the power supply is cut off and the product has cooled down. Clean only with soft and dry cloths. Do not use chemical detergents. Do not cover the product. Ensure free air access. Product may heat up to a higher temperature. The light source becomes heated to a high temperature. Product with replaceable light source of the LED type. Product can only be supplied by rated voltage or voltage within the range provided. It’s forbidden to use the product with damaged protective cover. Product must not be used in unfavourable conditions, e.g. dust, water, moisture, vibrations, explosive air atmosphere, fumes, or chemical fumes, etc. Non-demountable product. Not suitable for independent repairs. ATTENTION! Do not look directly at LED light beam.
ENVIRONMENTAL PROTECTION
Keep your environment clean. Segregation of post-packaging waste is recommended. The labelling indicates the requirement to selectively collect waste electronic and electrical equipment. Products labelled in this way must not be disposed of in the same way as other waste under the threat of a fine. These products may be harmful to the natural environment and health, and require a special form of recycling/neutralising. Products labelled in this way should be returned to a collection facility for waste electrical and electronic goods. Information on collection centres is provided by local authorities or sellers of such goods. Used items can also be returned to the seller when new product is purchased, in quantity no larger than the purchased item of the same type. The above rules regard the EU area. In the case of other countries, regulations in force in a given country must be applied. We recommend to contact us.
COMMENTS / GUIDELINES
Failure to follow these instructions may result in e.g. fire, burns, electrical shock, physical injury and other material and non-material damage.
For more information about Metzler products visit: www.edelstahl-tuerklingel.de Metzler GmbH shall not be responsible for any damage resulting from the failure to follow these instructions. Metzler GmbH reserves the right to make changes in the manual. The current version of the manual and the EU Declaration of Conformity can be downloaded at: www.edelstahl-tuerklingel.de
Technical Data
Protection class: IP65
Voltage supply: 220-240V AC
Power consuption: 12W
Light colour: 3000K
INFORMATION FOR PRIVATE HOUSEHOLDS
- Separate collection of waste equipment:
Electrical and electronic equipment that has become waste is referred to as waste equipment. Owners of waste equipment must dispose of it separately from unsorted municipal waste. In particular, waste equipment does not belong in household waste, but in special collection and return systems. - Batteries and rechargeable batteries as well as lamps:
Owners of waste equipment shall, as a rule, separate waste batteries and rechargeable batteries that are not enclosed in the waste equipment, which can be removed from the waste equipment without being destroyed, from the waste equipment before handing them in at a collection point. This does not apply if waste equipment is prepared for reuse with the participation of a public waste management authority. - Options for returning waste equipment:
Owners of waste equipment from private households can return it free of charge to the collection points of the public waste management authorities or to the take-back points set up by manufacturers or distributors within the meaning of the Electrical and Electronics Equipment Law. Stores with a sales area of at least 400 m² for electrical and electronic equipment and those grocery stores with a total sales area of at least 800 m² that offer electrical and electronic equipment several times a year or on a permanent basis and make it available in the market are required to take it back. This also applies in the case of distribution using means of distance communication, if the storage and shipping areas for electrical and electronic equipment are at least 400 m² or the total storage and shipping areas are at least 800 m². Distributors shall, in principle, ensure take-back by providing suitable return facilities at a reasonable distance from the respective end user. The possibility of returning waste equipment free of charge exists for distributors who are obliged to take it back, among other things, if a new similar device that essentially fulfills the same functions is delivered to an end user. - Privacy Notice:
Waste equipment often contains sensitive personal data. This applies in particular to devices of information and telecommunications technology such as computers and smartphones. In your own interest, please note that each end user is responsible for deleting the data on the waste equipment to be disposed of. - Meaning of the symbol “crossed-out wheelie bin”:
The symbol of a crossed-out wheelie bin regularly depicted on electrical and electronic equipment indicates that the respective device is to be collected separately from unsorted municipal waste at the end of its service life.
Metzler GmbH | Täleswiesenstr. 9
72770 Reutlingen | Deutschland
WEEE DE63539391
Telefon: +49 (0) 7121 3179 114
E-Mail: [email protected]
www.metzlergmbh.de
www.edelstahl-tuerklingel.de ![]()





















