PIT BOSS PBK24 Ceramic Charcoal Barbecue Grill

SAFETY INFORMATION
MAJOR CAUSES OF APPLIANCE FIRES ARE A RESULT OF POOR MAINTENANCE AND A FAILURE TO MAINTAIN REQUIRED CLEARANCE TO COMBUSTIBLE MATERIALS. IT IS OF UTMOST IMPORTANCE THAT THIS PRODUCT BE USED ONLY IN ACCORDANCE TO THE FOLLOWING INSTRUCTIONS.
Please read and understand this entire manual before attempting to assemble, operate or install the product. This will ensure you receive the most enjoyable and trouble-free operation of your new grill. Retain this manual for future reference.
DANGERS AND WARNINGS
You must contact your local home association, building or fire officials, or authority having jurisdiction, to obtain the necessary permits, mission or information on any installation restrictions, such as any grill being installed on a combustible surface, inspection requirements or even ability to use, in your area.
- A minimum clearance of 2m (78 inches) from combustible constructions to the sides of the grill must be maintained. Do not install appliance on non-combustible floors, or floors protected with non-combustible surfaces unless proper permits and permissions are obtained by authorities having jurisdiction. This appliance must not be placed under overhead combustible ceiling, overhang, awnings, parasol or gazebo. Do not use on decking or any other combustible surfaces such as dry grass, wood chips, leaf mulch, or decorative bark. Do not use this product in a tent, caravan, car, cellar, loft or boat. Keep your grill in an area clear and free from combustible materials, gasoline and other flammable vapors and liquids.
Should a grease fire occur, close the lid until the fire is out. Do not throw water on the unit. Do not try to smother the fire. Use of an all-class (class ABC) approved fire extinguisher is valuable to keep on site. If an uncontrolled fire does occur, call the Fire Department. - Do not use this ceramic unit as a furnace. This product is intended for outdoor use only. Do not use indoors.
FIRE HAZARD: May emit hot embers while in use. Do not transport your grill while in use or while the grill is hot. Ensure the fire is completely out and that the grill is completely cool to the touch before moving. - This product will become very hot, and serious injury may occur. Never leave a burning fire unattended. Keep young children and pets away while in use. It is recommended to use heat-resistant barbecue mitts or gloves when operating the grill. Do not use accessories not specified for use with this appliance.
This appliance is not recommended for children, persons with reduced physical, sensory or mental capabilities, or lack of experience and knowledge, unless they are under direct supervision or instruction by a person responsible for their safety. - After a period of storage, or non-use, inspect the unit prior to use for fatigue and damage, and replace as and when necessary. Clean before use. If the grill is stored outside during the rainy season or seasons of high humidity, unit should be dried out before performing any service or maintenance. Use a grill cover, if available.
- It is highly recommended that you use lump charcoal in your ceramic barbecue. It burns for longer and produces less ash, which can restrict the airflow. Do not use coal in this product. Charcoal not included.
Do not use spirit, petrol, gasoline, lighter-fluid or kerosene for lighting or refreshing a fire in your grill. Keep all such liquids well away from the appliance when in use.
DISPOSAL OF ASHES
Ashes should be placed in a metal container with a tight-fitting lid. The closed container of ashes should be placed on a non-combustible floor or on the ground, well away from all combustible materials, pending final disposal. When ashes are disposed by burial in soil, or otherwise locally dispersed, they should be retained in a closed container until all cinders have thoroughly cooled.
CARBON MONOXIDE (“the silent killer”)
Carbon monoxide is a colorless, odorless, tasteless gas produced by burning gas, wood, propane, charcoal or other fuel. Carbon monoxide reduces the blood’s ability to carry oxygen. Low blood oxygen levels can result in headaches, dizziness, weakness, nausea, vomiting, sleepiness, confusion, loss of consciousness or death. Follow these guidelines to prevent this colorless, odorless gas from poisoning you, your family, or others:
- See a doctor if you or others develop cold or flu-like symptoms while cooking or in the vicinity of the appliance. Carbon monoxide poisoning, which can easily be mistaken for a cold or flu, is often detected too late.
- Alcohol consumption and drug use increase the effects of carbon monoxide poisoning.
Carbon monoxide is especially toxic to mother and child during pregnancy, infants, the elderly, smokers, and people with blood or circulatory system problems, such as anemia, or heart disease.
PARTS & SPECS
| Part# | Description |
| 1 | Main Cooking Grid (x1) |
| 2 | Upper Cooking Grid (x1) |
| 3 | Top Damper Vent (x1) |
| 4 | Ceramic Body (x1) |
| 5 | Lid Handle (x1) |
| 6 | Left Side Shelf Bracket (x2) |
| 7 | Right Side Shelf Bracket (x2) |
| 8 | Side Shelf (x2) |
| 9 | Heat Deflector (x1) |
| 10 | Charcoal Plate (x1) |
| 11 | Firebox (x1) |
| 12 | Support Bracket (x4) |
| 13 | Support Bracket Crosspiece (x2) |
| Part# | Description |
| 14 | Locking Caster Wheel (x2) |
| 15 | Caster Wheel (x2) |
| 16 | Ash Tool (x1) |
| A | Nut – Small (x16) |
| B | Nut – Large (x4) |
| C | Locking Washer (x16) |
| D | Washer (x16) |
| E | Screw (x16) |
| F | Flat Wrench (x1) |
| G | Wrench 9/11 (x1) |
| H | Wrench 16/19 (x1) |
| I | Screwdriver (x1) |

| MODEL | UNIT ASSEMBLED (WxHxD) | UNIT WEIGHT | COOKING AREA | |
| PB | PBK24 | 1,380 x 1,200 x 840mm / 53.6 x 47.2 x 33.0 in | 113.0 kg / 249.12 lb | Main – 2,375.0 cm² / 368.13 sq. in. Upper Rack – 2,047.0 cm² / 317.31 sq. in. TOTAL – 4,422.0 cm² / 685.44 sq. in. |
ASSEMBLY PREPARATION
Parts are located throughout the shipping carton, including underneath the grill. Inspect the grill, parts, and hardware blister pack after removing from the protective shipping carton. Before assembly of product, review all parts and reference the parts list. If any part is missing or damaged, do not attempt to assemble. Shipping damage is not covered under warranty. Contact your dealer or Customer Care for parts.
[email protected] | USA: (480) 923-9630 | Canada (Toll Free): 1-877-942-2246
IMPORTANT: To ease installation and avoid injury, use two people when assembling this appliance.
Tools required for assembly: flat wrench, wrench 9/11, wrench 16/19, screwdriver. Tools included.
ASSEMBLY INSTRUCTIONS
IMPORTANT: It is advised to read each step entirely before starting assembly on instructions. Do not tighten screws completely until all screws for that step have been installed. Hardware combination involving a locking washer and washer should be installed with the locking washer closest to the head of the screw.
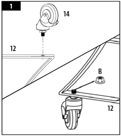
ATTACHING THE CASTER WHEELS
Parts Required:
- 4 x Support Bracket (#12)
- 2 x Locking Caster Wheel (#14)
- 2 x Caster Wheel (#15)
- 4 x Large Nut (#B)
Installation:
- Attach the four pre-threaded caster wheels to each of the four support brackets by hand-tightening them into the hole. Secure each caster wheels with large nut.
NOTE: To keep support brackets level, ensure the bolt on the wheel does not extend the large nut.
ASSEMBLING THE CART
Parts Required:
- 2 x Support Bracket Crosspiece (#13)
- 16 x Screw (#E)
- 16 x Washer (#D)
- 16 x Locking Washer (#C)
- 16 x Nut (#A)
Installation:
- To assemble the cart, attach the support bracket crosspiece to one of the four support brackets. Secure the support brackets to the crosspieces by using a screw, locking washer, washer, and nuts. Note the position shown in 2A.
- Continue to attach the crosspieces into the other three support brackets. The cart is now complete. Note 2B.
LIFTING THE CERAMIC BODY ONTO THE CART
Parts Required:
- 1 x Ceramic Body (#4)
Installation:
- First, remove all of the parts that are inside of the ceramic body to make lifting easier. Make sure the cart is secure, and all of the bolts are tight before placing the ceramic body into it. Press down on the caster levers to lock the castor wheels to ensure the ceramic charcoal barbecue cannot move.
CAUTION: Use a minimum of two people when lifting the ceramic body onto the cart. Failure to comply may result in serious injury or damage to the product. - To place the ceramic body on the cart, place one of your hands in the bottom vent of the ceramic body and the other under the grill. Place the ceramic charcoal barbecue on the cart with the bottom vent facing to the front of the cart, allowing the vent to open and close without any interruption.
ATTACHING THE TOP DAMPER
Parts Required:
- 1 x Top Damper Vent (#3)
Installation:
- Align the side notch of the top damper vent with the thermometer on the front of the ceramic body, and set over the top opening. Secure with pre-attached screws, washers, and nuts.
INSTALLING THE SIDE SHELF BRACKETS
Parts Required:
- 2 x Left Side Shelf Bracket (#6)
- 2 x Right Side Shelf Bracket (#7)
Installation:
- Attach the left side shelf brackets to the ceramic body using the preattached screws with their corresponding washers, locking washers, and nuts on the trim.
- Repeat the same installation for the right side shelf brackets. Tighten all screws securely once all brackets are installed.
MOUNTING THE SIDE SHELVES
Parts Required:
- 2 x Side Shelf (#8)
Installation:
- Insert the hinges of each side shelf into each of the side shelf brackets on both sides of the ceramic body.
ATTACHING THE LID HANDLE
Parts Required:
- 1 x Lid Handle (#5)
Installation:
- Attach the lid handle to the ceramic body use the pre-attached screws washers, locking washers, and nuts on the trim.
PLACING THE COOKING COMPONENTS

Parts Required:
- 1 x Upper Cooking Grid (#2)
- 1 x Main Cooking Grid (#1)
- 1 x Heat Deflector (#9)
- 1 x Charcoal Plate (#10)
- 1 x Firebox (#11)
Installation:
- Open the lid of the ceramic body and insert the firebox into the base of the ceramic body. The front of the firebox with the arch of the bottom rim should face the front of the unit, aligning with the bottom damper for ash clean out. Note 8A.
NOTE: The expansion joint in the firebox is created to account for expansion of the ceramic in extreme heat. This crack is not a fault in the ceramic, but intentional in the structure design. - Place the charcoal plate to rest on the interior base of the firebox.
IMPORTANT: The charcoal plate must be in the firebox while in use. Missing this part could result in lighting failure due to lack of oxygen to the charcoal once lit. - Place the heat deflector to rest on top of charcoal plate.
NOTE: The heat deflector can be used for indirect cooking. - Place the main cooking grid inside of the ceramic body. Place the upper cooking grid on top of the main cooking grid.
NOTE: To maintain the grilling performance of your cooking grids, regular care and maintenance is required. - The ceramic charcoal barbecue is now ready to use. Note 8B.
IMPORTANT: Ensure that unit curing instructions are read thoroughly prior to use.
OPERATING INSTRUCTIONS
INTRODUCTION TO CERAMIC GRILLING
Ceramic charcoal barbecues are extremely versatile. Not only can they be used for grilling or smoking, but also pizzas, bread, pies and cookies can be baked effortlessly inside them. Due to their excellent heat-retention properties, high temperatures can be achieved and maintained by precise control of airflow via the top and bottom vents. High temperatures are ideal for quickly cooking burgers and sausages, while low heats can cook larger cuts over a longer period of time. Try adding some wood chips to the charcoal, or try combining different flavor wood chips to make your meats even more flavorful.
UNDERSTANDING AIRFLOW AND DAMPER CONTROL
The heart of your grill lies in the relationship between the top and bottom ventilation dampers. Opening the dampers, allowing more air to flow through the system, allows the charcoal to burn very hot and create firey embers. To cook at lower temperatures, keep the dampers open only a small distance, allowing for minimal airflow and maximum heat retention in the ceramic chamber. To ensure the grill performs correctly, proper maintenance and clean out of the firebox are essential. If the grill is not achieving the desired temperature, check to ensure that there is proper airflow to the fuel and that none of the dampers are blocked.
TIP: The grill can run efficiently over extended periods of time as long as there is dry and sufficient fuel, proper airflow, and the cooking components are clean.
FIRST USE – GRILL BURN-OFF
Curing your ceramic charcoal barbecue is important for its long-term operation and care. Avoiding the curing procedure could lead to damage on the unit. If the first burns are too hot, they could damage the felt gasket seal before it has had the chance to mature with use. To start your first fire:
- Place one lighter cube, or solid firelighters and one handful of lump charcoal on top of the charcoal plate. Open the bottom vent and light the lighter cube using a long-nosed lighter or safety matches. Do not use gasoline, white spirit, lighter fluid, alcohol or other similar chemicals for lighting or relighting.
- Once the lump charcoal has caught, cure the unit by closing the lid, and leaving both vents mostly closed. Burn until all the fuel is used and the fire is extinguished. This should take approximately two hours. Do not overload the unit with fuel.
- After grill has cooled, inspect all fasteners. The metal band connecting your lid to the base will expand from the heat and could become loose. It is recommended you check and tighten the band, if necessary, with a wrench.
- The ceramic charcoal barbecue can now be used as normal.
LIGHTING PROCEDURE
When using the ceramic charcoal barbecue, push down on both of the locking wheels to stop the unit from moving around during use. Ensure the ceramic barbecue is positioned on a permanent, flat, level, heat-resistant non-flammable surface, away from flammable items. Position the ceramic charcoal barbecue with a minimum of 2 m / 78 in overhead clearance and at least 2 m / 78 in clearance from other surrounding items.
- To start a fire, place rolled-up newspaper and some lighter cubes or solid firelighters on the charcoal plate, in the base of the ceramic charcoal barbecue. Then, place two or three handfuls of lump charcoal over the top of the newspaper. Do not use gasoline, white spirit, lighter fluid, alcohol or other similar chemicals for lighting or relighting.
- Open the bottom vent and light the newspaper using a long-nosed lighter or safety matches. Once it has caught, leave the bottom vent and lid open for about 10 minutes to build a small bed of hot embers.
- Allow the charcoal to heat up and keep it red hot for at least 30 minutes prior to the first cooking on the ceramic charcoal barbecue. Do not cook before the fuel has a coating of ash. It is recommended that you do not stoke or turn the coals once they are alight. This allows the charcoals to burn more uniformly and efficiently.
- Once alight, only use heat-resistant gloves when handling hot ceramics or cooking surfaces.
REFUELING PROCEDURE
With the top and bottom vent closed, the ceramic charcoal barbecue will stay at a high temperature for several hours. If you require a longer cooking time (e.g. when roasting a whole cut or slow-smoking), it may be necessary to add more charcoal.
- Open the lid, and remove the cooking grids and heat deflector using heat-resistant gloves or a spatula.
- Add additional charcoal to the fire box
- Replace heat deflector and cooking grids and continue to cook as normal.
IMPORTANT: Do not use spirit, petrol, gasoline, lighter-fluid or kerosene for lighting or refreshing a fire in your grill. Also, do not attempt to add more fire starter into a fire that is already burning or into a hot burn grate. This may cause injury.
EXTINGUISHING THE GRILL
- When finished cooking and extinguish unit, stop adding fuel. Close all the vents and the lid to allow the fire to die naturally by lack of oxygen.
IMPORTANT: Do not use water to extinguish the charcoal as this could damage the ceramic charcoal barbecue.
CARE & MAINTENANCE
Any Pit Boss® unit will give you many years of flavorful service with minimum cleaning. An important step is allowing the grill and cooking grids to self-clean by running the grill at a high temperature after each use. Follow these cleaning and maintenance tips to service your grill:
- INSIDE SURFACES
- It is recommended to clean the interior of the unit after every few uses. This will ensure proper lighting and avoid any hard build-up of debris or ash on the cooking components. Heat it up to 260ºC / 500ºF for 30 minutes and it will scorch off all food and debris.
NOTE: Do not use water or any other types of cleaning product to clean the inside of your ceramic charcoal barbecue. The walls are porous and will absorb any fluids used, which could cause the ceramic charcoal barbecue to crack. - Use a long-handled grill cleaning brush, remove any food or build-up from the cooking grids. Best practice is to do this while they are still warm from a previous cook. Grease fires are caused by too much fallen debris on the cooking components of the grill. Clean the inside of your grill on a consistent basis. In the event you experience a grease fire, keep the grill lid closed to choke out the fire. If the fire does not go out quickly, carefully remove the food, turn the grill off, and shut the lid until the fire is completely out. Lightly sprinkle baking soda, if available.
- The chrome-plated charcoal plate is not dishwasher safe; use a mild detergent with warm water.
- After the unit has completely cooled, use the ash tool to scrape out carbon remnants through the bottom damper vent. Carefully open the slide plate and rake the ash into a small waste container under the vent opening. Dispose of container, or store for future use.
- It is recommended to clean the interior of the unit after every few uses. This will ensure proper lighting and avoid any hard build-up of debris or ash on the cooking components. Heat it up to 260ºC / 500ºF for 30 minutes and it will scorch off all food and debris.
- OUTSIDE SURFACES
- Upon close inspection, the finish of your ceramic charcoal barbecue may appear to have crack lines. This is not cracking of the ceramic. This is known as crazing and is caused by the different expansion rates between the glaze finish and the clay. The spider-web pattern of cracking is different from a break in the aspect that it cannot be felt on the surface, unless using a fingernail; however, it does become more visually apparent when the surface is dusty or magnified.
- Wipe your grill down after each use. Use warm soapy water to cut the grease. Do not use oven cleaner, abrasive cleansers or abrasive cleaning pads on the outside surfaces.
- Check and tighten the metal rings of the ceramic body and lid, and oil the hinges, twice a year or more if needed. You should not be able to easily turn a hex key while holding the nut in place.
- Use a grill cover to protect your grill for complete protection! A cover is your best protection against weather and outside pollutants. When not in use or for longterm storage, keep the unit under a cover in a garage or shed.
CLEANING FREQUENCY TIMETABLE (NORMAL USE)
| ITEM | CLEANING FREQUENCY | CLEANING METHOD |
| Bottom of Firebox | Every 5-6 grill sessions | Scoop out, shop-vac ash and excess debris |
| Cooking Grids | After each grill session | Burn off excess, grill cleaning brush |
| Lid Hinge | Twice a year | Oil hinge components |
| Metal Rings | Twice a year | Tighten using hex key |
| Charcoal Plate | Every 5-6 grill sessions | Warm water & mild detergent |
| Interior Ceramic Body | Every 2-3 grill sessions | Heat to 260ºC / 500ºF for 30 minutes |
| Exterior Ceramic Body | After each grill session | Soapy water |
COOKING GUIDELINES
Smoking and grilling styles of cooking can give you different results based on time and temperature. For best results, keep a record of what you cooked, at what temperature, how long you cooked for, and the results. Adjust to your taste for the next time. Practice makes perfect. The culinary art of hot smoking refers to longer cooking times, but results in more natural infused flavor (and a sought-after smoke ring) on your meats. Higher cooking temperatures result in a shorter cooking time, locking in less smoke flavor.
TIP: For best results, allow time for meats to rest after cooking. This allows the natural juices to migrate back into the meat fiber, giving a much juicer, flavorful cut. Resting times can be as little as 3 minutes and up to 60 minutes, depending on the size of the protein. Always use heat-resistant gloves when using this unit.

| PORK | SIZE | Precooked to Reheat 60°C / 140°F | Medium 66°C / 150°F | Well Done 71°C / 160°F |
| Ham (Fully Cooked & Boneless Portion, Smoked Picnic Whole & Bone-In) | 2.5 cm / 1″ 1.36-1.81 kg / 3-4 lbs. 1.81-2.72 kg / 4-6 lbs. 2.26-3.62 kg / 5-8 lbs. 4.53-5.44 kg / 10-12 lbs. | 12 minutes 50 minutes – 1 hour 1 – 2 hours 1 – 2½ hours 2 – 2¾ hours | ||
| Loin Roast | 1.36-1.81 kg / 3 – 4 lbs. | 1 – 2 hours | 2 – 3 hours | |
| Rib Crown Roast | 1.81-2.26 kg / 4 – 5 lbs. | 1½ – 2 hours | 2 – 3 hours | |
| Chop (loin, rib) | 1.9-2.5 cm / ¾” – 1″ 3.1-3.9 cm / 1¼” – 1½” | 10 – 12 minutes 14 – 18 minutes | ||
| Tenderloin | 1.9-2.5 cm / ¾” – 1″ | 20 – 30 minutes | 30 – 45 minutes | |
| Loin Roast, boneless | 1.36-2.26 kg / 3-5 lbs. | 1¼ – 1¾ hours | 1¾ – 2½ hours | |
| Boston Butt (Pork Shoulder) | 3.62-4.53 kg / 8-10 lbs. | 93 – 98°C / 200 – 210°F Internal Temperature |
| BEEF | SIZE | HEAT | APPROXIMATE COOKING TIME | ||
| Rare – 54°C / 130°F | Medium – 60°C / 140°F | Well Done – 65°C / 150°F | |||
| Steak (New York, Porter- house, Rib-eye, Sirloin, T-bone, or Tenderloin) | 1.9 cm / ¾” 2.5 cm / 1″ 3.8 cm / 1½” 5 cm / 2″ | High | Sear 8-10 minutes Sear 10-12 minutes Sear 10 minutes, grill 8-10 minutes Sear 10 minutes, grill 10-14 minutes | ||
| Skirt Steak | 0.6 – 12.7 cm / ¼” – ½” | High | Sear 5-7 minutes | ||
| Flank Steak | 0.45 – 0.86 kg / 1 – 1½ lbs., 1.9 cm / ¾” | Medium | Sear 4 minutes, grill 8-10 minutes | ||
| Kabob | 2.5 – 3.8 cm / 1 – 1½” cubes | Medium | Grill 10 – 12 minutes | ||
| Tenderloin, whole | 1.58 – 1.81 kg / 3½ – 4 lbs. | High/Medium | Sear 10 minutes, grill 15-20 minutes | ||
| Ground Beef Patty | 1.9 cm / ¾” | High/Medium | Sear 4 minutes, grill 4-6 minutes | ||
| Rib-eye Roast, boneless | 2.26 – 2.72 kg / 5 – 6 lbs. | Medium | Grill 1½ – 2 hours | ||
| Tri-tip Roast | 0.9 – 1.13 kg / 2 – 2½ lbs. | High/Medium | Sear 10 minutes, grill 20-30 minutes | ||
| Rib Roast | 5.44 – 6.35 kg / 12 – 14 lbs. | Medium | 2½ – 2¾ hours | ||
| Veal Loin Chop | 2.5cm / 1″ | Medium | 10 – 12 minutes direct | ||
| Brisket | 7.25 – 3.62 kg / 16 -18 lbs. | Hot Smoke | Cook until internal temperature reaches 91°C / 195°F | ||
| LAMB | Size | Rare – 54°C / 130°F | Medium – 60°C / 140°F | Well Done – 71°C / 160°F |
| Roast (fresh) | 2.26 – 2.72 kg / 5 – 6 lbs. | 1 – 2 hours | ||
| Rib Crown Roast | 1.36-2.26 kg / 3-5 lbs. | 1 – 1½ hours | 1½ hours |
| SEAFOOD | Size | Rare – 54°C / 130°F | Medium – 60°C / 140°F | Well Done – 82°C / 180°F |
| Fish (whole) | 0.5 kg / 1 lb. 0.9 – 1.1 kg / 2 – 2½ lbs. 1.4 kg / 3 lbs. | Grill 10 – 20 minutes Grill 20 – 30 minutes Grill 30 – 45 minutes | ||
| Fish (filets) | 0.6-1.3 cm / ¼” – ½” | Grill 3 – 5 minutes, until flaky | ||
| Lobster Tail | 0.15 kg / 5 oz. 0.3 kg / 10 oz. | Grill 5 – 6 minutes Grill 10 – 12 minutes |
| WILD GAME | Size | Rare – 60°C / 140°F | Medium – 71°C / 160°F | Well Done – 77°C / 170°F |
| Roast (fresh) | 2.26 – 2.72 kg / 5 – 6 lbs. | 1 – 1½ hours | 1½ – 2 hours | |
| Large Cuts (fresh) | 3.62-4.53 kg / 8-10 lbs. | 1 hours | 1½ hours |
TIPS & TECHNIQUES
Follow these helpful tips and techniques, passed on from Pit Boss® owners, our staff, and customers just like you, to become more familiar with your grill:
- FOOD SAFETY
- Keep everything in the kitchen and cooking area clean. Use different platters and utensils for the cooked meat than the ones you used to prepare or transport the raw meat out to the grill. This will prevent cross-contamination of bacteria. Each marinade or basting sauce should have its own utensil.
- Keep hot foods hot (above 60ºC / 140ºF), and keep cold foods cold (below 3ºC / 37ºF).
- A marinade should never be saved to use at a later time. If you are going to use it to serve with your meat, be sure to bring it to a boil before serving.
- Cooked foods should not be left out in the heat for more than an hour. Do not leave hot foods out of refrigeration for more than two hours.
- Defrost and marinate meats by refrigeration. Do not thaw meat at room temperature or on a countertop. Bacteria can grow and multiply rapidly in warm, moist foods. Wash hands thoroughly with hot, soapy water before starting any meal preparation and after handling fresh meat, fish and poultry.
- COOKING PREPARATION
- Be prepared, or Mise en Place. This refers to preparing the cooking recipe, fuel, accessories, utensils, and all ingredients you require at grill side before you start cooking. Also, read the entire recipe, start to finish, before lighting the grill.
- A BBQ floor mat is very useful. Due to food handling accidents and cooking spatter, a BBQ floor mat would protect a deck, patio, or stone platform from the possibility of grease stains or accidental spills.
- GRILLING TIPS AND TECHNIQUES
- To infuse more smoke flavor into your meats, cook longer and at lower temperatures (also known as low and slow).
Meat will close its fibers after it reaches an internal temperature of 49ºC / 120ºF. Misting, or mopping, are great ways to keep meat from drying out. - While searing your meats, cook with the lid down. Always use a meat thermometer to determine the internal temperature of the foods you are cooking. Smoking foods can turn meats and poultry pink. The band of pink (after cooking) is referred to as a smoke ring and is highly prized by outdoor chefs.
- Sugar-based sauces are best applied near the end of cooking to prevent burning and flare-ups.
- Leave open space between the foods for proper heat flow. Food on a crowded grill will require more cooking time.
- Use a set of long-handled tongs for turning meats, and a spatula for turning burgers and fish. Using a piercing utensil, such as a fork, will prick the meat and allow the juices to escape.
- Foods in deep casserole dishes will require more time to cook than a shallow baking pan.
- It’s a good idea to put cooked food onto a heated platter, keeping the food warm. Red meats, such as steak and roasts, benefit from resting for several minutes before serving. It allows the juices that were driven to the surface by heat to ease back to the center of the meat, adding more flavor.
- To infuse more smoke flavor into your meats, cook longer and at lower temperatures (also known as low and slow).
TROUBLESHOOTING
Proper cleaning, maintenance and the use of clean, dry, quality fuel will prevent common operational problems. When your Pit Boss® grill is operating poorly, or on a less frequent basis, the following troubleshooting tips may be helpful. For FAQ, please visit www.pitboss-grills.com. You may also contact your local Pit Boss® authorized dealer or contact Customer Care for assistance.
WARNING: Ensure the grill is completely cooled prior to any inspection, cleaning, maintenance or service work. Failure to comply may result in serious injury or damage to your unit.
| PROBLEM | CAUSE | SOLUTION |
| Grill Will Not Light | Damper Vents Are Closed, Lack of Air | Ensure that both the top and bottom vents are open. The fire needs oxygen to catch. Once it has caught, leave the bottom vent and lid open for about 10 minutes to build a small bed of hot embers. |
| Incorrect Fuel Used | This grill requires the use of lump charcoal. Follow Lighting Procedure to continue use of grill; however, call Customer Care for assistance if required. | |
| Grill Will Not Achieve Or Maintain Stable Temperature | Grill Gets Too Hot | Close the lid, mostly close both vents, and allow the barbecue to smother with lack of oxygen. For low temperature cooking, use less fuel. |
| Grill Does Not Get Hot Enough | Check fuel level. The grill may quickly lose fire if there is not enough charcoal in the ceramic body. The recommended use of lump charcoal is a maximum of 1.81kg / 4lbs per burn. Add more fuel and leave both vents completely open. More oxygen flow will allow the fire to increase, burning more lump charcoal. | |
| Insufficient Air Flow Through Ceramic Body | Check bottom damper vent for ash build-up or obstructions. Follow Care and Maintenance instructions for ash build-up. Check top damper vent, and ensure it is working properly and airflow is not blocked. Follow Care and Maintenance instructions if dirty. Once all the above steps have been done, light the grill and perform a burn-off. | |
| Flare-Ups | Cooking Temperature Too High | Attempt cooking at a lower temperature. Grease does have a flash point. Keep the temperature under 176°C / 350°F when cooking highly greasy food. |
| Grease Build-Up On Cooking Components | Follow Care and Maintenance instructions. | |
| Need to Burp The Grill | To prevent any back-draft or flare-ups that may cause injury, it is well advised to lift the lid only slightly (also known as burping), which allows air to enter slowly and safely. | |
| Bottom Damper Won’t Slide | Damper Stuck On Ash | Tap the damper lightly with a rubber hammer to loosen. Follow Care and Maintenance instructions. If no improvement, call Customer Care. |
| Finishing on Unit | Finish is chipped | The finish of your unit may chip on the ceramic, but this does not affect the performance or lifespan of your unit. If chipping is substantial, call Customer Care. |
Spider-web pattern of cracking![]() | This is not cracking of the ceramic. This is known as crazing and is caused by the different expansion rates between the glaze finish and the clay. The spider-web pattern of cracking is different from a break in the aspect that it cannot be felt on the surface, unless using a fingernail; however, it does become more visually apparent when the surface is dusty or magnified. Follow Care and Maintenance instructions. While these cracks may appear as imperfections, crazing does not affect the performance or life span of your ceramic charcoal barbecue; therefore, it is not a warranty issue. | |
| Lid Is Stuck | Unit Not Cured Properly | Curing your ceramic charcoal barbecue is important for its long-term operation and care. If the first burns are too hot, they could damage the felt gasket seal before it has had the chance to mature with use. If the lid gets stuck, or sealed, together with the base, use a knife to carefully unseal and cut off the felt gasket that trims the lid opening. Once removed, you will be able to open the lid. Before continuing to use the unit, replace the high-heat felt gasket, which can be purchased at your local fireplace store. |
RECIPES
PERFECTLY GRILLED STEAKS
Makes 2–4 servings
Ingredients:
- 2 rib-eye steaks (3cm / 1¼ inch thick) Pit Boss Chop House Steak Rub seasoning
Instructions:
- No more than an hour before grilling, let steaks come to room temperature.
- Generously sprinkle Pit Boss Chop House Steak Rub to both sides of each steak, allowing time for the rub to melt into the meat.
- Light your ceramic charcoal barbecue to 205°C / 400°F. Place steaks directly on the grill. For a medium-done steak, sear each side for 5–7 minutes, flipping the steaks only once. Adjust time to your desired doneness.
- Remove steaks from the grill, cover with tin foil, and let sit 10 minutes before slicing and serving.
NOTE: Use tongs to flip steaks. Do not flip the steaks with a fork or cut into the meat until ready to serve. Any cuts or punctures in the meat will cause juices to escape and dry out your steak.
GRILLED SWEET HEAT CHICKEN WINGS
Makes 2–4 servings
Ingredients:
- 16 whole chicken wings (510 g / 18 oz.)
- 75 ml / 5 tbsp lime juice
- 45 ml / 3 tbsp Pit Boss Sweet Heat Rub & Grill seasoning
Instructions:
- Rinse the chicken wings under cold running water and blot dry with paper towels. Arrange the wings lengthwise on a baking dish. Drizzle lime juice evenly over wings.
- Shake Pit Boss Sweet Heat Rub & Grill seasoning over the wings, turning the wings to coat evenly.
- Light your ceramic charcoal barbecue to 177°C / 350°F. Place the heat deflector in the barbecue and place grate over top heat deflector.
- Place the wings directly on the grate. Grill over indirect heat until crispy, about 20–25 minutes per side.
- Transfer wings to a platter and serve with your favourite dipping sauce.
GRILLED FLANK STEAK FAJITAS
Makes 4–6 servings
Ingredients:
- 1 flank steak (450 g / 16 oz.)
- 30 ml / 2 tbsp Pit Boss Sweet Heat Rub & Grill seasoning
- 45 ml / 3 tbsp olive oil, divided
- 1 red pepper halved, stems and seeds removed
- 1 yellow pepper halved, stems and seeds removed
- 1 green pepper halved, stems and seeds removed
- 1 sweet onion large, sliced thick along base
- 8 corn tortillas
Extra Fixings:
- salsa
- guacamole
- sour cream
- cheddar cheese, shredded
- iceberg lettuce, thinly sliced
Instructions:
- Rub flank steak with 1 tbsp olive oil and Pit Boss Sweet Heat Rub & Grill seasoning. Cover and marinate in the refrigerator for 1 hour.
- Lightly brush peppers and onion with olive oil.
- Light your ceramic charcoal barbecue to 205°C / 400°F. Place pepper and onion on grill and cook 5 minutes per side. Watch carefully to ensure the peppers and onion do not burn.
- Remove peppers and onion from grill and toss lightly with remaining olive oil in a medium sized bowl. Transfer peppers and onions to a cutting board and slice into strips. Set aside.
- Place flank steak directly on grill. Cook until medium rare, about 4 minutes per side, or until meat reaches an internal temperature of 74°C / 165°F.
- Remove flank steak from the grill and transfer to cutting board. Let meat rest for 5 minutes then slice against the grain into strips.
- Place flank steak, peppers, and onions in a platter and serve immediately with warm tortillas, salsa, guacamole, sour cream, shredded cheese, thinly sliced iceberg lettuce, or your favorite fajita toppings.
BLACKENED MAHI-MAHI TACOS WITH MANDARIN HABANERO MANGO SALSA
Makes 4–6 servings
Ingredients:
- 4 mahi-mahi fillets (170 g / 6 oz.)
- 30 ml / 2 tbsp Pit Boss Mandarin Habanero seasoning
- 30 ml / 2 tbsp olive oil
- 475 ml / 2 cups shredded red cabbage
- 235 ml / 1 cup sour cream
- 12 small corn tortillas
Mandarin Habanero Mango Salsa:
- 2 mangos, peeled and diced
- 15 ml / 1 tbsp Pit Boss Mandarin Habanero seasoning
- 30 ml / 2 tbsp lime juice
- 80 ml / 1/3 cup red onion, diced
- 60 ml / 1/4 cup fresh cilantro, chopped
Instructions:
- Rinse mahi-mahi fillets under cold water and blot dry with paper towel. Rub fillets with olive oil, then sprinkle Pit Boss Mandarin Habanero seasoning over both sides of the fillets, rubbing the seasoning in. Set aside.
- Prepare Mandarin Habanero Mango Salsa by combining all ingredients in a medium sized bowl, tossing lightly to mix. Set aside.
- Light your ceramic charcoal barbecue to 205°C / 400°F. Place mahi-mahi fillets directly on the grill and cook 5–7 minutes on each side.
- Remove mahi-mahi from grill and let rest 5 minutes before pulling apart into small pieces.
- Carefully remove cooking grate from barbecue using oven mitts or grill grippers. Replace grill grate with heat deflector and place tortillas on heat deflector, heating for 30 seconds–1 minute or until warm, but not hot.
- Stack the tortillas in twos. Distribute the fish evenly between each set of tortillas. Top with red cabbage, sour cream, and mango salsa.
- Serve immediately.
RASPBERRY CHIPOTLE PORK KEBABS
Makes 4–8 servings
Ingredients:
- 450 g / 15.8 oz boneless pork loin cut into cubes (2.5 cm / 1 inch)
- 30 ml / 2 tbsp Pit Boss Raspberry Chipotle seasoning
- 15 ml / 1 tbsp olive oil
- 15 ml / 1 tbsp honey
- 30 ml / 2 tbsp apple cider vinegar
- 3 bell peppers variety of color, in pieces (2.5 cm / 1 in)
- 1 red onion cut into chunks
- 8 wood or metal skewers (30 cm / 12 inch)
Instructions:
- In a medium bowl, whisk together apple cider vinegar, Pit Boss Raspberry Chipotle seasoning, olive oil, and honey. Add the cubed pork loin to marinade and toss to coast. Cover with plastic wrap and let marinate for 30 minutes–1 hour.
- Once meat is marinated, remove from marinade and thread cubed pork loin onto the skewers, alternating with pieces of bell pepper and red onion.
- Light your ceramic charcoal barbecue to 205°C / 400°F. Grill kebabs directly on the grill, turning often, until all sides of the meat is well browned and vegetables are tender (about 15 minutes).
- Serve immediately.
NOTE: If using wood skewers, soak in water for 30–45 minutes prior to use.
IMPORTANT
DO NOT RETURN PRODUCT TO STORE
For all questions, comments, or inquiries, please contact Dansons our Customer Care department.
USA: (480) 923-9630 | CANADA (TOLL-FREE): 1-877-942-2246
[email protected]
WARNING: PLEASE READ THE ENTIRE MANUAL BEFORE INSTALLATION AND USE. FAILURE TO FOLLOW THESE INSTRUCTIONS
COULD RESULT IN PROPERTY DAMAGE, BODILY INJURY OR EVEN DEATH. CONTACT LOCAL BUILDING OR FIRE OFFICIALS ABOUT RESTRICTIONS AND INSTALLATION INSPECTION REQUIREMENTS IN YOUR AREA.
WARNING: COMBUSTION OF CHARCOAL CAN
EXPOSE YOU TO CHEMICALS INCLUDING SOOT, WHICH IS KNOWN TO THE STATE OF CALIFORNIA TO CAUSE CANCER, AND CARBON MONOXIDE, WHICH IS KNOWN TO THE STATE OF CALIFORNIA TO CAUSE BIRTH DEFECTS OR OTHER REPRODUCTIVE HARM. FOR MORE INFORMATION GO TO WWW.P65WARNINGS.CA.GOV
COPYRIGHT NOTICE
Copyright 2021. All rights reserved. No part of this manual may be copied, transmitted, transcribed, stored in a retrieval system, in any form or by any means without expressed written permission of, Dansons 3411 North 5th Avenue, Suite 500, Phoenix, AZ, USA 85013
[email protected] | [email protected]
www.pitboss-grills.com
USA: (480) 923-9630
Canada (Toll Free): 1-877-942-2246

















