BORETTI B400 Espresso Coffee Machine

SAFETY INSTRUCTIONS
When using electrical appliances, basic safety precautions should always be followed to reduce the risk of fire, electric shock and/or injury to persons, including the following:
- Read all instructions.
- Make sure that your outlet voltage corresponds to the voltage stated on the rating label of the coffee maker.
- To protect against fire, electric shock and injury to persons do not immerse cord, plug or unit in water or other liquid.
- Close supervision is necessary when any appliance is used by or near children.
- Unplug from outlet when not in use and before cleaning. Allow to cool before putting on or taking off parts, and before cleaning the appliance.
- Do not operate any appliance with a damaged cord or plug or after the appliance malfunctions, or has been damaged in any manner. Return appliance to an authorized service facility for examination, repair or adjustment.
- The use of accessory not recommended by the appliance manufacturer may result in fire, electric shock or injury to persons.
- To disconnect, turn any control to the off position then remove plug from wall outlet.
- Do not touch any hot surfaces, use handles or knobs.
- Do not use outdoors or for commercial purposes.
- Do not let cord hang over edge of table or counter, or touch hot surface.
- Use on a hard, flat level surface only, to avoid interruption of airflow underneath the appliance.
- Always be sure to place the water reservoir tightly back in the unit with its lid closed and fill with water on or above the minimum before turning appliance on.
- Do not remove the porta-filter while brewing coffee. Please make sure the three lights are on before you remove the porta-filter to make additional coffee. Caution should
also be taken while removing the porta-filter since the metal parts will be hot. Please make sure to hold it by the handle and to use the filter retention clip to dispose the grounds. Caution should be taken when moving unit with hot liquids. - Do not remove the water reservoir until unit is turned off.
- This appliance is not intended to be operated by means of an external timer or separate remote-control system.
- The appliance can be used by children aged from 8 years and above and persons with reduced physical, sensory or mental capabilities or lack of experience and knowledge if they have been given supervision or instruction concerning use of the appliance in a safe way and understand the hazards involved. Children shall not play with the appliance. Cleaning and user maintenance shall not be made by children unless they are older than 8 and supervised.
- Keep the appliance and its cord out of reach of children less than 8 years.
- Before removing any of the parts and accessories, make sure the three lights are on, press the power button to the off position “O” and unplug the appliance.
- Do not remove the porta-filter at any time during the brewing process.
- Do not place on or near a hot gas or electric burner, or in a heated oven.
- Do not use appliance for other than intended use.
- Do not leave the appliance on unattended.
- This appliance is intended to be used in household and similar applications such as:
- Staff kitchen areas in shops, offices and other working environments;
- Farm houses;
- By clients in hotels, motels and other residential type environments;
- Bed and breakfast type environments.
- Save these instructions.
CAUTION: PRESSURE
In order to avoid possible burns to body parts and/or other injury from hot steam and water or damages to the unit, never remove the water reservoir or the porta-filter while your espresso/cappuccino maker is brewing coffee or frothing. Make sure the three lights are on before you can remove the porta-filter to make additional cups of coffee. If you need to add more water or milk to the reservoirs, please make sure the three lights are on and ensure to switch off the unit by pressing the red button on the side of the unit to the off position “O”.
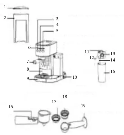
PARTS
- Water tank lid
- Removable water tank
- Espresso/custom button with indicator
- Cappuccino/Froth button with indicator
- Latte/Clean button with indicator
- Indicator
- Prota-filter
- Cup height adjusting drawer
- Drip tray
- Power switch I/O
- Frothed tube lever
- Frothed milk dispensing tube
- Milk reservoir lid
- Suction tube
- Removable/Clear milk reservoir
- Porta-filter retention clip
- Filter for single shot of espresso
- Filter for double shot of espresso
- Measuring scoop/tamper

BEFORE THE FIRST USE
Cleaning and priming the unit prior to first use
Please refer to the “Parts” section to familiarize with the product and identify all parts.
- Please make sure the unit is off “O” by pressing the power button located on the side of the unit. Make sure it is unplugged from the electrical outlet.
- Remove stickers and labels from the unit. Remove the orange silicon rubber ring from the bottom of the water reservoir.
- First remove and then wash the water reservoir, the milk reservoir, the porta-filter, the three filters and measuring scoop in a mixture of mild detergent and water. Rinse each thoroughly and place them back into the unit.
- Refer to the instructions on “PLACING THE PORTA-FILTER” section before placing or removing the porta-filter and filter from the unit.
NOTE: In order for your unit to work properly time after time, clean it after every use.
Important: prime the unit
To prime unit, run the steam cycle for 90 seconds by following the steps below:
- Fill water reservoir between the “Min” and “Max” levels.
- Fill the milk reservoir with water between the “Min” and “Max” levels.
- Select one of the filters and place it on the porta-filter. Place the porta-filter in the unit ensuring it is properly locked and place a cup under it. Also, make sure the tip of the frothed milk dispensing tube is inside the cup.
- Plug the appliance into the appropriate outlet.
- Turn the power button on “I”.
- The three control panel lights will start blinking. Once these lights become solid, press the cappuccino button twice.
- Once this process is completed, the three control panels will turn on solid. Now your unit has been primed and is ready to be used.
USE
Filling the water reservoir
- Fill the reservoir with water, you may either use a jar to fill it up or remove it from the unit and then fill it up under the tap. If you have removed it from the unit to fill up with water, please make sure to place it back tightly in its place. Fill the reservoir with the desired amount of water ensuring it ranges within the“MIN” and “MAX” markings on the tank. Never use warm or hot water to fill the water reservoir.
- Close the water reservoir lid and place it back in the unit ensuring it fits tightly.
Filling the milk reservoir
If you plan to prepare cappuccino or latte, remove the milk reservoir from the unit and open the lid then pour the quantity of cold milk you estimate you will need between the “Min” and“Max” levels. When done, place the milk reservoir back in the unit ensuring it fits tightly.
Note: It is advised to use whole milk to get the best foam result.
Choose the filter
Select the filter to be used as follows:
- FOR A SINGLE SHOT– use the filter for a single shot of espresso if using ground coffee.
- FOR A DOUBLE SHOT OR TWO SINGLE SHOTS- use filter for a double shot.

Inserting the filter
- To insert the selected filter in the porta-filter, make sure to align the notch on the filter with the groove inside the portafilter.
- Turn the filter to the left or right to lock in place. This will help secure the filter in the porta-filter.
NOTE: To remove and clean the filter, turn filter to the left or right to align the filter notch with the groove inside the porta-filter.
WARNING: Make sure the filter has cooled before attempting to remove the filter.
Filling with ground coffee
Place the selected filter on porta-filter as follows:
- Fill the filter with fresh, fine ground espresso coffee (do not overfill).
Note: the ground coffee amount shouldn’t exceed the MAX mark. - Tamp and compress firmly and evenly ground coffee.
- Clean any excess coffee from the rim to ensure proper fit under brew head.

Place the porta-filter
- Position porta-filter underneath the brew head, attach the porta-filter by first moving retainer clip back.
- Position handle so that the handle lines up with the open lock icon “ ” on the unit and fits into the groove.
- Then, slowly turn it to the right until the retention clip is aligned with the closed lock symbol “ ” on the unit.

Placing the cup(s)
- Pull out the height adjustment tray if you are using a small “demitasse” cup to brew espresso.
- Keep the height adjustment tray inside its compartment if you are using a larger cup to brew cappuccino.
- Keep the height adjustment tray inside its compartment if you are using a larger cup to brew latte.
CAUTION: When brewing cappuccino or latte, please make sure to adjust the frothing tube lever in order to position the froth milk dispensing tube inside the cup to be used.
Select the function
PREPARING ESPRESSO
- Press the Espresso Button once to brew one single shot.
- Press the Espresso Button twice to brew a double shot. Press and hold the Espresso Button for 3 seconds to customize the brewing to your preference. When done, press the Espresso Button once again to stop it. The unit will start brewing the espresso according to your selection. The unit will turn off automatically and the lights will become solid indicating that the cycle has been completed. Your delicious espresso is ready to be enjoyed.
NOTE: To brew less coffee than the preset serving, press the function button to stop the brewing process when the amount of coffee desired is reached.
PREPARING CAPPUCCINO
Prior to preparing your cappuccino, adjust the quantity of frothed milk according to your preference by turning the Froth Control Knob to the right for more foam and to the left for less foam.
Note: The foam intensity can be adjusted during the brewing cycle.
- Press the Cappuccino Button once to brew a small cup of cappuccino.
- Press the Cappuccino Button twice to brew a large cup of cappuccino. The unit will start brewing the cappuccino according to your selection. Your delicious cappuccino is ready to be enjoyed.
PREPARING LATTE
Prior to preparing your latte, adjust the quantity of frothed milk according to your preference by turning the Froth Control Knob to the right for more foam and to the left for less foam.
- Press the Latte Button once to brew a small cup of latte.
- Press the Latte Button twice to brew a large cup of latte.
PREPARING FROTH MILK
The unit also allows you to prepare froth milk only. Press and hold the Cappuccino Button for 3 seconds if you wish to add more foam to your beverage or to prepare froth milk for any other beverage, e.g. macchiato, hot chocolate, chai latte, etc. When done, press the Cappuccino Button once again to stop it.
AFTER PREPARING YOUR BEVERAGES WITH MILK
Once you are done preparing your beverage with milk, you can either store the unit’s milk reservoir directly in the refrigerator (ready to be used for the next time) or dispose of the leftover milk.
DESCALING
With the milk reservoir placed in position the appliance will remind the user to perform descaling in a way of six indicators quickly flashing alternatley. At that time, the user shall fill the water tank with 600ml clean water and dedicated descaler, then press Espresso and Latte buttons simultaneously and the appliance enter into descaling condition automatically, then the six indicators slowly flash alternatly. After working for about 30min the six indicators quickly flash alternatly and then the user shall empty the water tank and refill it with 600ml clean water. After it, press the Espresso and Latte buttons simultaneously again and the appliance continous to perform descaling, at that time, the six indicators slowly flash alternalty. After working for about 30min, the appliance stops working and goes back to the standby condition. Empty the water reservoir and milk reservoir and fill the water reservoir with clean water for usage.
CLEANING AND MAINTENANCE
Cleaning the milk reservoir and frothing tube
Even though you can store the milk reservoir with left over milk in the refrigerator, it is important to clean the reservoir and frothing tube regularly to avoid clogging and building residues. In order to clean the milk reservoir, please follow the instructions listed below:
- Remove the milk reservoir from the unit
- Remove the lid of the reservoir.
- Pour any milk left and rinse and wash the milk reservoir and its lid thoroughly with warm soapy water. Rinse and dry well. Do not use abrasive cleaners and scouring pads, as they will scratch the finish. The milk reservoir is also dishwasher safe (top rack). Do not place the lid of the milk reservoir and the drip tray in the dishwasher.
Note: Also remove the suction tube and dispensing tube for better cleaning. - Place a large empty cup under the frothing tube.
- Press and hold the Latte/clean button for 3 seconds and then release it. The unit will start releasing steam through the frothing tube, let it run for a few seconds until you don’t see any milk in cup. When done press the Latte/ clean button once to stop the process.
- Dispose any water left on the milk reservoir and place it back in the unit.
Note: For removing the milk reservoir, you should raise it up a little on the front, then pull it out.
Cleaning the brew head, the porta-filter and filter
- Switch the power button on the side of the unit to the off position “O” and unplug the power cord from the electrical outlet.
- Some of the metal parts might still be hot. Do not touch them with your hands until they have cooled.
- Remove the porta-filter and discard the coffee grounds or used pod. Wash both the porta-filter and filter with warm soapy water and rinse them well. Do not wash the portafilter and filters in the dishwasher.
- Wipe lower part of the brew head in the unit with a damp cloth or paper towel to remove any coffee grounds that might have been left.
- Place the porta-filter (without any filter) back in the brew head in the unit.
- Place an empty large cup under the porta-filter.
- Press the espresso button once and let the unit brew with water only until it stops automatically.
Cleaning the water reservoir
Discard the remaining water by removing the reservoir and turning it upside down over the sink. It is recommended to empty the water reservoir between uses. Wash the water reservoir with soapy water, rinse it well and wipe it dry. The water reservoir is also dishwasher safe.
Cleaning the unit
- Wipe housing with a soft wet cloth. Do not use abrasive cleaners or scouring pads, as they will scratch the finish.
- Do not store the porta-filter in the brew head. This can adversely affect the seal between the brew head and the porta-filter while brewing espresso.
CAUTION: Do not immerse appliance in water.
PROBLEMS AND CAUSES
| PROBLEM | CAUSES | SOLUTIONS |
| Coffee does not come out. | 1. No water in reservoir. 2. Coffee grind is too fine. 3. Too much coffee in the filter. 4. Appliance was not turned on or plugged in. 5. Coffee has been tamped/ compressed too much. 6.Orange silicon rubber was not removed. | 1. Add water 2. Grind medium ground coffee. 3. Fill filter with less coffee. 4. Plug unit into electrical outlet and turn it on. 5. Refill filter basket with coffee, do not tamp too much. 6. Remove orange rubber sil- icon from water reservoir. |
| Coffee comes out around the edge of the porta-filter. | 1. Porta-filter not rotated to full lock position. 2. Coffee grounds around the filter basket rim. 3. Too much coffee in the filter. | 1. Rotate filter holder to full lock position. 2. Wipe off rim and brewing head. 3. Fill with less coffee. |
| Milk is not foamy after frothing or it is not coming out of the frothing tube | 1. Ran out of steam 2. Milk is not cold enough. 3. Frothing tube is blocked. | 1. Ensure there is enough water in the reservoir. 2. Chill milk and frothing pitcher prior to making cappuccino. 3. Follow the instructions to clean the milk reservoirs & frothing tube. |
| Coffee comes out too quickly | 1. Ground coffee is too coarse. 2. Not enough coffee in filter. | 1. Use a finer grind. 2. Use more coffee. |
| Coffee is too weak. | 1. Using small filter for dou- ble shot of espresso 2. Ground coffee is too coarse. | 1. Use large filter for double shot of espresso 2. Use a finer grind. |
| The three control panel lights are flashing alternatively | Water tank is out of water. | Add water to reservoir. |
ENVIRONMENTAL GUIDELINES

This symbol on the product or on its packaging indicates that this product may not be treated as household waste. Instead it must be brought to the applicable collection point for recycling of electrical and electronic equipment. By ensuring this product is disposed of correctly, you will help
prevent potential negative consequences for the environment and human health, which could otherwise be caused by inappropriate waste handling of this product. For more detailed information about recycling of this product, please contact your local city office, your household waste disposal service or the shop where you purchased the product.

The packaging is recyclable. Please treat the packaging ecologically.

























