KEMIMOTO B0117-00601BK UTV Bluetooth Soundbar 
Thank you for purchasing this KEMIMOTO All-Terrain Sound SystemPlease read through these instructions carefully so you will know how to operate your model properly. After you have finished reading the instructions, keep this document in a safe place for future reference
- KEMIMOTO All-Terrain Speaker System Slider
- Bracket-1
- Bracket-2
- Long Bolt M6*50mm
- Short Bolt M6*14mm
- Nut
- Washer
- Spring Washer
- Power Accessory Extension Adaptor Adapter (2m & 3m)
- 3.5mm Aux Cable (2m)
- Remote control
- Rubber Pad
INFORMATION TO THE USER
Bluetooth
The Bluetooth® word mark and logos are registered trademarks owned by Bluetooth SIG,Inc.and any use of such marks is under license. Other trademarks and trade names are those of their respective owners.
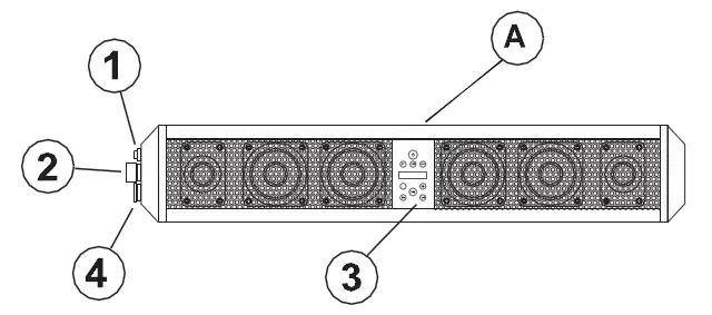
GETTING TO KNOW YOUR KEMIMOTO
- KEMIMOTO
- 3.5mm AUX-INPUT
- CIGARETTE POWER CABLE ADAPTER CONTROL PANEL
- USB JACK
BEFORE YOU START
PAIRING& DISCOVERING A NEW BLUETOOTH CONNECTION
- Power on the KEMIMOTO by plugging in the male cigarette lighter adaptor into ② a female cigarette lighter receptacle.
- Press the button⑨.The KEMIMOTO will automatically go into pairing mode:
ANDROID users
- Go into the Settings Menu of your device
- Enter the Bluetooth Menu
- TURN ON Bluetooth and press SCAN
- ” KEMIMOTO”wil now be displayed under AVAILABLE DEVICES
- If prompted, enter passcode: “0000”
iOS users:
- Go into the Settings menu of your iOS device
- Enter the Bluetooth Menu
- TURN ON Bluetooth
- ” KEMIMOTO” will now be displayed
NOTE:
You have 2 minutes before you must restart this procedure over again. If KEMIMOTO is not seen, repeat the above steps to refresh the “Device List” When the connection is successful, you are now ready to stream music from your favorite media player to the KEMIMOTO
BLUETOOTH OPERATION
RECONNECTION
- Power on the KEMIMOTO and your last paired Bluetooth device.
- Press the button⑤. The unit will now automatically reconnect.
- If your device was previously paired with the KEMIMOTO, but it wasn’t the last paired device:
- Ensure no other devices are currently paired.
- Enter the Bluetooth Menu on your device is paired.
- “KEMIMOTO”will display under AVAILABLE DEVICES.
- Choose the “KEMIMOTO” to reconnect.
- If the device is out of range from the KEMIMOTO,it will disconnect automatically: a.The KEMIMOTO will automatically reconnect to the device once back in range.
TIPS
To avoid battery exhaustion, be sure to occasionally run the vehicle’s engine while using this product. Using this product without running the engine can drain the battery.
STREAMING MUSIC
MULTIFUNCTION CONTROLLER BLUETOOTH OPERATION
- Press the ⑧ PLAY/PAUSE once to start playing music or press the PLAY button from your devices touch screen
- To skip songs or advance, press the ⑪ NEXT TRACK button
- To select the previous song, press the ⑥ PREVIOUS TRACK button
VOLUME CONTROL
- To raise the volume press the ⑩ VOLUME UP button or use your device’s controls
- To lower the volume press the ⑦ VOLUME DOWN button or use your device’s controls
Tips
For maximum audio performance, ensure your device’s Bluetooth volume is TIPS set to a minimum 75% level before stowing.
AUX INPUT
AUX-IN OPERATION
- Power on the KEMIMOTO by plugging in the male cigarette lighter adaptor into ② a female cigarette lighter receptacle.
- Press ⑨ to power on.
- Connect the integrated 3.5mm AUX-IN cable ① to your devices headphone jack
- Route the wire back to KEMIMOTO, and secure your device
VOLUME CONTROL
- To raise the volume press the ⑩ VOLUME UP button or use your controls
- To lower the volume press the ⑦ VOLUME DOWN button or use your device’s controls
Tips
For maximum audio performance, ensure your device headphone volume is TIPS set to a minimum 75% level before stowing.
USB INPUT
USB IN OPERATION
- Power on the KEMIMOTO by plugging in the male cigarette lighter adaptor into ② a female cigarette lighter receptacle.
- Press ⑨ to power on.
- Insert the USB Flash drive on ④ and play the music automatically.
- Press the ⑧ PLAY/PAUSE once to start playing music or pause
- To skip songs or advance, press the ⑪ NEXT TRACK button
- To select the previous song, press the ⑥ PREVIOUS TRACK button
- To raise the volume press the ⑩ VOLUME UP button or use your device’s controls
- To lower the volume press the ⑦ VOLUME DOWN button or use your device controls
Tips
USB can play music formats MP3 and WMA. TIPS USB can provide 1Acurrent.
REMOTE CONTROL
REMOTE CONTROL OPERATION
Remote control receiver window
INSTALLATION
- Put the nut [7] into the lower slot of the slider [2], and push the slider [2] onto the slide rail of the speaker.

- Secure bracket [4] to slider [2] with short bolt [6] and washer [8].

- Place the rubber pads [14] on the roll bar, assemble bracket [3] and bracket [4] with two long bolts [5] and two spring washers [9].
- Repeat step 1-3 for other side installation.
TROUBLESHOOTING
DIMENSIONS
WIRE DIAGRAM
SPECIFICATIONS
BLUETOOTH
- Version: 5w/ EDR
- A2DP
- Range: 33ft(10m)
SPEAKERS
- Dimensions: (4)4”/101.6mm
- Tweeter Size: (2)1”soft Dome
AMPLIFIER
- Maximum Output Power: 500 Watts
- Frequency Response: 45Hz-22kHz
GENERAL
- Operational Power: 12VDC (10-16V allowable)
- MAX Current Draw: 8A
- Replacement Fuse: 10A AGC TYPE
- Color: Black
- Weight: 13.2lbs / 6Kg
- Dimensions mm WxHxD: 710x128x126
- Dimensions Inches WxHxD: 27.95×5.04×4.96
SPECIFICATIONS SUBJECT TO CHANGE WITHOUT NOTICE
FCC Statement
This equipment has been tested and found to comply with the limits for a Class B digital device, pursuant to part 15 of the FCC Rules. These limits are designed to provide reasonable protection against harmful interference in a residential installation. This equipment generates, uses and can radiate radio frequency energy and, if not installed and used in accordance with the instructions, may cause harmful interference to radio communications. However, there is no guarantee that interference will not occur in a particular installation. If this equipment does cause harmful interference to radio or television reception, which can be determined by turning the equipment off and on, the user is encouraged to try to correct the interference by one or more of the following measures:
- Reorient or relocate the receiving antenna.
- Increase the separation between the equipment and receiver.
- Connect the equipment into an outlet on a circuit different from that to which the receiver is connected.
- Consult the dealer or an experienced radio/TV technician for help.
Caution: Any changes or modifications to this device not explicitly approved by the manufacturer could void your authority to operate this equipment.
This device complies with part 15 of the FCC Rules. Operation is subject to the following two conditions:
- This device may not cause harmful interference, and
- this device must accept any interference received, including interference that may cause undesired operation. RF Exposure Information
This equipment complies with FCC radiation exposure limits set forth for an uncontrolled environment. This equipment should be installed and operated with a minimum distance of 20cm between the radiator and your body.


































