TREND TT80091 Hilyte Table Lamp

INSTALLATION INSTRUCTIONS
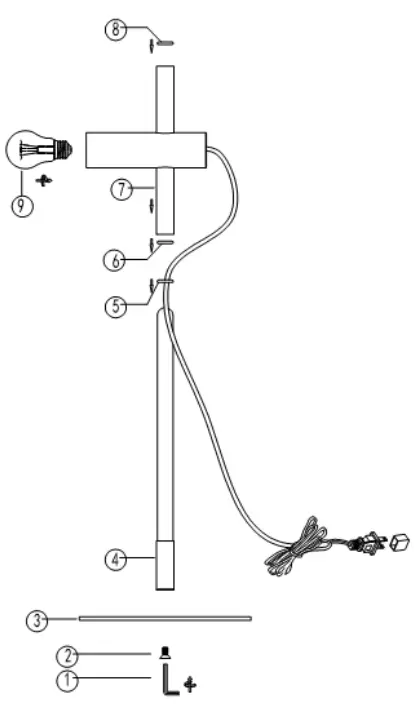
- ALLEN SPANNER
- ALLEN SCREW
- LAMP BASE
- LAMP ROD
- SILICION RING
- BOTTOM SILICON STOP
- SOCKET KITS
- UPPER SILICON STOP
- BULB
CAUTION
- WARNING: Risk of Fire. Consult a qualified electrician to ensure correct branch circuit conductor. Min 90ºC supply conductors.
GENERAL
- All electrical connections must be in accordance with local and National Electrical Code (N.E.C.) standards. If you are unfamiliar with proper electrical wiring connections obtain the services of a qualified electrician.
- Remove the fixture and the mounting package from the box and make sure that no parts are missing by referencing the illustrations on the installation instructions.
ASSEMBLY AND INSTALLATION
- Assemble the lamp rod (4) to base(3) with the allen screw (2).
- Use the silicon ring(5) to secure supply wire to lamp rod(4)
- Put bottom silicon stop (6) over lamp rod(4) to adjust the height.
- Put the socket kits(7) onto the lamp rod(4) and secure with upper silicon stop (8).
- Install the bulb (9, not included) into the socket
Do not exceed maximum wattage recommended – Max.60W
DO NOT USE BARE HAND TO TOUCH THE BULB.INSTALLATION IS NOW COMPLETE





















