TREND TT80062 Table Lamp

INSTALLATION INSTRUCTIONS
Please read carefully and save these instructions, as you may need them at a later date.
CAUTION
WARNING: Risk of Fire. Consult a qualified electrician to ensure correct branch circuit conductor. Min 90ºC supply conductors.
Turn off the main power at the circuit breaker before installing the fixture, in order to prevent possible shock.
GENERAL
All electrical connections must be in accordance with local and National Electrical Code (N.E.C.) standards. If you are unfamiliar with proper electrical wiring connections obtain the services of a qualified electrician.
Remove the fixture and the mounting package from the box and make sure that no parts are missing by referencing the illustrations on the installation instructions.
ASSEMBLY AND INSTALLATION
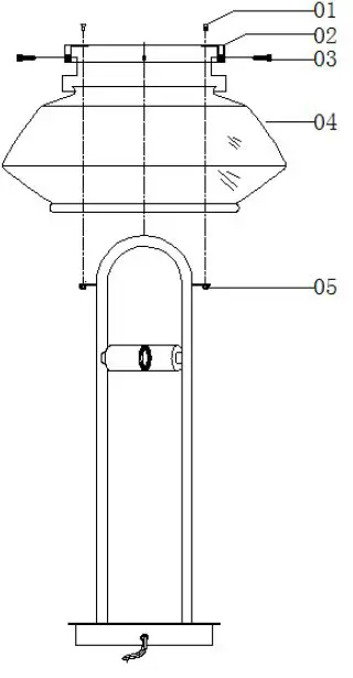
- Put glass holder (02) onto glass shade (04) and secure it with screws (03).
- Align the holes on top of glass holder (02) to the holes on stud (05) and secure it with screws (01).
- Install bulb (not included). DO NOT EXCEED THE SPECIFIED WATTAGE.

- SCREW
- GLASS HOLDER
- SCREW
- GLASS SHADE
- STUD
INSTALLATION IS NOW COMPLETE




















