2515213 75LTR Garden Dump Truck
Instruction Manual 
2515213 75LTR Garden Dump Truck
WARNING![]()
PLEASE READ THESE INSTRUCTIONS CAREFULLY AND KEEP THEM FOR FUTURE REFERENCE
WARNING! Read and understand all instructions. Failure to follow all instructions listed below may result in serious injury.
CAUTION: Do not allow persons to operate or assemble the Garden Dump Truck until they have read this manual and have developed a thorough understanding of how it works.
The warnings, precautions, and instructions discussed in this instruction manual cannot cover all possible conditions or situations that could occur. It must be understood that common sense and caution are factors that cannot be built into this product but must be supplied by the operator.
ASSEMBLY & BEFORE USE.
CAUTION: The assembly pack contains small parts which pose a choking hazard to small children and animals. Keep children and pets away from the assembly area at all times and account for all parts once assembled.
Ensure all parts are present before commencing assembly.
Ensure the Dump Truck is correctly assembled before attempting to load or transport any load.
Before first use, ensure you check that the tire pressure is at 30 PSI (maximum).
CAUTION: Do not inflate the tires to more than 30 PSI. Do not use the Dump Truck on surfaces that can cause damage to the pneumatic tires, or transport objects that may damage the tires.
Always check for damaged or worn-out parts before using the Dump Truck. Do not use the Dump Truck if any parts are worn or broken. Seek suitable repair or replacement from a qualified person.
LOADING THE DUMP Truck.
Do not drop or throw items into the Dump Truck.
Heavy items should be placed on the bottom of the Dump Truck.
Distribute the load over the surface of the Tub. Do not load items on the top edges of the Tub.
Distribute weight evenly across the Dump Truck.
Do not overfill the Dump Truck. Top heavy items should not be transported using the Dump Truck. Risk of accident or injury is present if misused.
Do not exceed the loading capacity.
Maximum load capacity: 250kg/550lbs.
Maximum dump capacity: 180kg/395lbs.
IMPORTANT: Load capacity is greater than the maximum weight for dumping. Weights are based on an evenly distributed load.
IMPORTANT SAFETY INFORMATION FOR USE.
Take care during assembly, use, and maintenance. Various crush and shear points are present in the turning axle and around the handles. Wear suitable safety equipment including footwear and gloves or any additional equipment recommended for the task at hand.
This product is not a toy. Do not allow children, animals, or passengers to climb onto or ride the Dump Truck. Do not use the Dump Truck to transport flammable or abrasive chemicals.
When dumping the Dump Truck, place suitable chocks behind the back wheels to improve stability under the weight of the dumping load.
Do not modify the Dump Truck in any way. Unauthorized modification may impair the function and/or safety of the Dump Truck and may affect the life of the equipment.
STORAGE & CARE.
When the Dump Truck is not in use, store it in a secure place away from adverse weather conditions and out of the reach of children. Inspect the Dump Truck to ensure it is in good working condition prior to storage and before re-use.
TOOLS REQUIRED*NOT SUPPLIED

HARDWARE LIST

COMPONENT LIST

ASSEMBLY
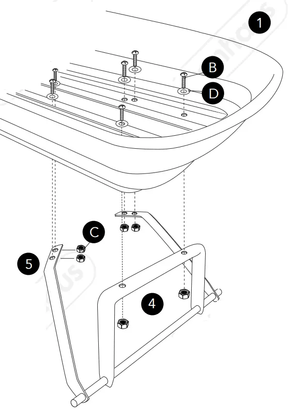
STEP 1
Take the Left & Right Strut Bars (5) and slide them over the outer poles of the Rear Axle Support Bar (4).
Align the holes on the Strut Bars over the curved end of the Tub (1), then take 6 M8X20 Truss Head Bolts (B), each with an M8 Lock Nut (C) and M8 Washer (D), and attach through the holes as shown.
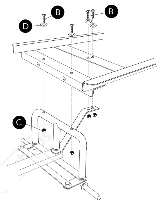
STEP 2
Attach the Support Frame (2) to the Front Axle Support (3), using 4 M8X20 Truss Head Bolts (B), and secure into place using M8 Lock Nuts (C) and M8 Washers (D).
STEP 3
Attach the assembled Axle Support to the Tub (1) using 2 M8X20 Truss Head Bolts (B) and secure into place using M8 Lock Nuts (C) and M8 Washers (D).
STEP 4
Attach the Spring-loaded Tip Handle (7) using 4 M8X20 Truss Head Bolts (B) and secure into place using M8 Lock Nuts (C) and M8 Washers (D).
STEP 5
Slide the Trolley Wheels (8) over the Axles and secure them using Wheel Washers (E) and M12 Wheel Lock Nuts (F). Tighten to secure.
STEP 6
Attach the Pully Handle (6) by lining up the holes on both the Handle and the Axle assembly. Secure into place using the M8X60 Bolt (A) along with an M8 Lock Nut (C) and M8 Washer (D).
USING THE HANDLE
To operate the dumping feature, pull the Springloaded Tip Handle (7) outward to release the Tub (1) from the locking mechanism.
Lower the Tub back down into position, making sure that the Tip Handle is locked into place.
CLEANING & MAINTENANCE
It is recommended that the general condition of your Dump Truck be examined before it is used.
Keep your Dump Truck in good repair by adopting a program of conscientious repair and maintenance. Have necessary repairs made by qualified service personnel.
Apply a small amount of suitable lubricant to any moving parts when needed to ensure continued smooth operation.
The Dump Truck can be washed with a gentle hosing before dumping to empty and dry.
WARNING! Do not attempt to clean your Dump Truck with any high-pressure water or steam-generating appliances.
CAUTION: Avoid using any solvents or abrasive cleaning chemicals with your Dump Truck. These can cause damage and impair future use.
DISPOSAL INFORMATION
Please recycle where facilities exist. Check with your local authority for recycling advice.
WARRANTY
To register your product and find out if you qualify for a free extended warranty, go to: www.VonHaus.com/warranty
Please retain a proof of purchase receipt or statement as proof of the purchase date.
The warranty only applies if the product is used solely in the manner indicated in the Warnings page of this manual, and all other instructions have been followed accurately. Any abuse of the product or the manner in which it is used will invalidate the warranty.
Returned goods will not be accepted unless repackaged in their original packaging and accompanied by a relevant and completed returns form. This does not affect your statutory rights.
No rights are given under this warranty to a person acquiring the product second-hand or for commercial or communal use.
COPYRIGHT
All material in this instruction manual is copyrighted by DOMU Brands Ltd. Any unauthorized use may violate worldwide copyright, trademark, and other laws.
Thank you for purchasing the 75Ltr Garden Dump Truck.
VonHaus is a registered trademark of DOMU Brands
Ltd Made in China for DOMU Brands Ltd M24 2RW


















