TITAN TTB805CHR 18V Li-Ion TXP Fast Charger

Safety warnings
WARNING Read all safety warnings and all instructions. Failure to follow the warnings and or serious injury.
Save all warnings and instructions for future reference.
- This appliance can be used by children aged from 8 years and above and persons with reduced physical, sensory or mental capabilities or lack of experience and knowledge if they have been given supervision or instruction concerning use of the charger in a safe way and understand the hazards involved. Children shall not play with the appliance. Cleaning and user maintenance shall not be made by children without supervision. Charge only the battery pack specifically stated on this instruction manual.
- Do not charge non-rechargeable batteries.
- Disconnect the charger from the power supply and allow it to cool down before cleaning, maintenance, storage and transportation. Before using the charger, read all the instructions and cautionary markings on the charger and battery pack.
- Charge the battery pack indoors only as the charger is designed for indoor use only.
- Protect the charger against moisture and wet conditions. There is a danger of electric shock.
- Do not place any object on top of the charger as it could cause overheating. Do not place the charger near any heat source.
- When the charger is in use it MUST be supervised, if there is any evidence of overheating then IMMEDIATELY disconnect the charger from the power supply.
- If gas or smoke is emitted from the battery during charging switch off the power supply and move to a well ventilated area. Always disconnect battery charger and remove battery from charger when the charging is complete.
- Do not charge a damaged battery pack.
- Do not use an extension cord unless it is absolutely necessary. The use of an improper extension cord could cause the risk of fire, electric shock or electrocution.
- Do not use the charger if it has been subjected to a heavy knock, dropped or otherwise damaged in any way. Have the charger checked and repaired by an authorised service centre.
- Charge the battery pack in an ambient temperature of 18 – 24°C (65 – 75°F) to ensure the longest battery life and best performance. Do not charge the battery pack in temperatures below 0°C (32°F) and above 45°C (113°F).
- If the supply cord is damaged, it must be replaced by the manu-facturer, its service agent or similarly qualified persons in order to avoid a hazard.
- During charging, the battery must be placed in a well-ventilated area.
IMPORTANT NOTE
Be sure the supply is the same as the voltage given on the rating plate for the charger. Remove the mains plug from socket before carrying out any adjustment or servicing.
Symbols
- Before charging, read the instructions
- Warning
- For indoor use only
- This is a product of class II. This means it is equipped with an insulation reinforced or double insulation.
- Time lag fuse with rated current of 3.15A
- WEEE symbol. Waste electrical products should not be disposed of with household waste. Please recycle where facilities exist. Check with your local authority or local store for recycling advice.
yyWxx Manufacturing date code; year of manufacturing (20yy) and week of manufacturing (Wxx)
The product complies with the applicable European directives and an evaluation method of conformity for these directives was done.
UK Conformity Assessed.
Your product
- Charger
- Power / charging status indicator lights
TECHNICAL SPECIFICATION
- Rated input
- Rated output
- Protection class
- Weight
For charging 18V Li-Ion battery pack as below: - 220 – 240 V~, 50Hz, 100W
- 21.4V—4 A
- Approx. 0.7 kg
| Battery pack models | TTI802BAT | TTI803BAT |
| Rated capacity | 4.0Ah | 5.0Ah |
| Battery cells | Li-Ion,10pcs | Li-Ion,10pcs |
| Charging time(approx.) | 70min | 80min |
Before you start
- Unpack all parts and lay them on a flat, stable surface.
- Remove all packing materials and shipping devices if applicable.
- Make sure the delivery contents are complete and free of any damage. If you find that parts are missing or show damage do not use the product but contact your dealer. Using an incomplete or damaged product represents a hazard to people and property.
WARNING! The product and the packaging are not children’s toys! Children must not play with plastic bags, sheets and small parts! There is a danger of choking and suffocation!
Setup
WALL-MOUNT HOLES
The charger has hanging holes for convenient storage.
Install screws in the wall 2 inches (51 mm) apart (Fig. A). Use screws sufficiently strong to hold the combined weight of the charger and battery pack.
Intended use
This charger is solely for the charging of batteries listed in the TECHNICAL SPECIFICATION section.
Charging the battery pack
WARNING! The charger and battery pack are specifically designed to work together so do not attempt to use any other devices. Never insert or allow metallic objects into your charger or battery pack connections because an electrical failure and hazard will occur.
NOTES: If the battery pack is very hot you must remove your battery pack from the charger and allow time for the battery to cool down before recharging.
1) Insert the battery pack fully in the charger (1) (Fig. 1). Connect the charger to the power supply. The indicator lights(2) on the charger show the battery status as described in below table.

2)After charging has finished, disconnect the charger from power supply. To remove the battery pack from the charger, press the release button on the battery and pull the battery pack out of the charger (Fig.2).
NOTE: It is normal for the battery pack and charger to become warm (but not hot) during the charging process. Depending on temperature and existing charge level, the actual charging time may change.
The battery in your new tool is not charged when it leaves the manufacturer. Therefore, it must be fully charged before first use.
Maintenance
Remove the plug from the socket before carrying out any adjustment, servicing or maintenance.
Your battery charger requires no additional lubrication or maintenance. Never use water or chemical cleaners to clean your charger. Wipe clean with a dry cloth. Always store your charger in a dry place.
If the supply cord is damaged, it must be replaced by the manufacturer, its service
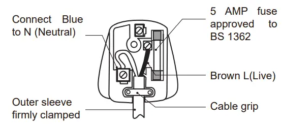
UK plug (only for UK market)
If you need to replace the fitted plug, then follow the instructions below. IMPORTANT: The wires in the mains lead are coloured in accordance with the following code:
Blue – Neutral
Brown – Live
As the colours of the wire in the mains lead of this product may not correspond with the coloured marking identifying the terminals in your plug, proceed as follows. The wire, which is coloured blue, must be connected to the terminal which is marked with N or coloured black. The wire, which is coloured brown, must be connected to the terminal which is marked L or coloured red.
Troubleshooting / Recycling and disposal
WARNING! Never connect live or neutral wires to the earth terminal of the plug which is marked with E.
Only fit an approved 13 Amp BS 1363 or BS 1363/A plug and the correctly rated fuse. If in doubt, consult a qualified electrician. If a moulded plug is fitted and has to be removed take great care in disposing of the plug and severed cable, it must be destroyed to prevent insertion into a socket.
Troubleshooting
| Problem | Possible cause | Solution |
| 1. The indicator light is still off after connecting the charger to the power supply. | 1.1 The charger is not well connected to the suitable power supply. | 1.1 Make sure the power supply voltage is same as the charger rating label, and correctly connected. |
| 1.2 The charger or its cable is damaged. | 1.2 Replace with new one. | |
|
2. The battery not charging. | 2.1 The battery pack is hot or ambient temperature is very cold or hot. | 2.1 Cool down the battery pack, and recharge at room temperature. |
| 2.2 The battery is not in position or damaged. | 2.2 Recharge with a new Or insert battery fully in position, if still not charging, replace it. |
Recycling and disposal
Waste electrical products should not be disposed of with household waste. Please recycle where facilities exist. Check with your local Authority or local store for recycling advice.
Guarantee
We take special care to select high quality materials and use manufacturing techniques that allow us to create products incorporating design and durability. This product ( TITAN Charger) has a manufacturer’s guarantee of 2 years against manufacturing defects, from the date of purchase (if bought in store) or date of delivery (if bought online), at no additional cost.
To make a claim under this guarantee, you must present your proof of purchase (such as a sales receipt, purchase invoice or other evidence admissible under applicable law), please keep your proof of purchase in a safe place. For this guarantee to apply, the product you purchased must be new, it will not apply to second hand or display products. Unless stated otherwise by applicable law, any replacement product issued under this guarantee will only be guaranteed until expiry of the original guarantee period.
This guarantee covers product failures and malfunctions provided the product was used for the purpose for which it is intended and subject to installation, cleaning, care and maintenance in accordance with the information contained in these terms and conditions, in the user manual and standard practice, provided that standard practice does not conflict with the user manual.
This guarantee does not cover defects and damage caused by normal wear and tear or damage that could be the result of improper use, faulty installation or assembly, neglect, accident, misuse, or modification of the product. Unless stated otherwise by applicable law, this guarantee will not cover, in any case, ancillary costs (shipping, movement, costs of uninstalling and reinstalling, labour etc), or direct and indirect damage.
This guarantee does not cover defects and damage caused by or resulting from: Normal wear and tear
Overload, misuse or neglect
Repairs attempted by anyone other than an authorised agent
Cosmetic damage
Damage caused by foreign objects, substances or accidents
Accidental damage or modification
Failure to follow manufacturer’s guidelines
Loss of use of the goods
If the product is defective, we will, within a reasonable time, repair or replace it. Rights under this guarantee are enforceable in the country in which you purchased this product. Guarantee related queries should be addressed to the store you purchased this product from.
The guarantee is in addition to and does not affect your statutory rights.
Declarations of conformity
Product
- Product name – Charger
- Product model – TTB805CHR
- Type / batch or serial number range 00001 to 99999
Name and address of the manufacturer or his authorised representative:
Kingfisher International Products Limited 3 Sheldon Square
London W2 6PX
United Kingdom
This declaration of conformity is issued under the sole responsibility of the manufacturer.
Product Model EAN
Charger TTB805CHR 5059340239255
The object of the declaration described above is in conformity with the relevant legislation:
Electrical Equipment (Safety) Regulation 2016 as amended
Electromagnetic Compatibility Regulations 2016 as amended
The Restriction of the use of Certain Hazardous Substances in Electrical and Electronic Equipment Regulations 2012 as amended
References to the relevant designated standards used or references to the other technical specifications in relation to which conformity is declared:
- BS EN 60335-1:2012+A2
- BS EN 60335-2-29:2004+A11
- BS EN 62233:2008
- BS EN 55014-1:2017+A11
- BS EN 55014-2:1997+A1+A2
- BS EN 55014-2:2015
- BS EN 61000-3-2:2014
- BS EN IEC 61000-3-2:2019
- BS EN 61000-3-3:2013
- BS EN 61000-3-3:2013+A1
Signed for and on behalf of:
Kingfisher International Products Limited 3 Sheldon Square
London W2 6PX
United Kingdom
David Awe
Group Quality Director On: 20/08/2021
EU DECLARATION OF CONFORMITY
Product
- Charger
- TTB805CHR
- SN: 000001-999999
Name and address of the manufacturer or his authorised representative:
Kingfisher International Products B.V
This declaration of conformity is issued under the sole responsibility of the manufacturer:
Object of the declaration
Product
- Charger
- Model TTB805CHR
- EAN 5059340239255 (UK) 5059340239927 (EU)
The object of the declaration described above is in conformity with the relevant Union harmonisation legislation:
- 2014/30/EU as amended Directive Electromagnetic compatibility
- 2014/35/EU Directive Electrical Safety: Low-voltage electrical equipment
- 2011/65/EU as amended Directive Restriction of the use of certain hazardous substances in electrical and electronic equipment
References to the relevant harmonised standards used or references to the other technical specifications in relation to which conformity is declared:
- EN 60335-1:2012+A11+A13+A1+A14+A2
- EN 60335-2-29: 2004+A2+A11
- EN 62233: 2008
- EN 55014-1:2017+A11
- EN 55014-2:2015
- EN IEC 61000-3-2:2019
- EN 61000-3-3:2013+A1
Manufacturer,
UK Manufacturer:
Kingfisher International Products Limited
3 Sheldon Square
London
W2 6PX
United Kingdom
www.kingfisher.com/products
EU Manufacturer:
Kingfisher International Products B.V. Rapenburgerstraat 175E, 1011 VM, Amsterdam The Netherlands
www.diy.com
www.screwfix.com
www.screwfix.ie
To view instruction manuals online, visit www.kingfisher.com/products




















