Comfort Zone CZHVP30 30-in 3-Speed Indoor Black Industrial Fan

Features
- 3 Powerful Fan Speeds
- Powerful Ventilation for Large Areas
- High-Velocity Aluminum Fan Blades
- All Metal Construction with
Metal Safety Grille - Height Adjustable from 56in to 76in
- Adjustable Tilt Angle
- Meets OSHA Standards
- 120V A.C. / 60Hz
INTENDED USE:
This product is intended for indoor residential, office, industrial, or other commercial applications. Use only with electrical wiring that is in good working order and that meets applicable codes and ordinances. If you have any questions whether your wiring is adequate, consult a qualified electrician. While using your fan, you should follow the IMPORTANT INSTRUCTIONS listed below. As part of those instructions, we have used the word “WARNING” to indicate the level of hazard:
WARNING indicates a hazard which, if not avoided, could result in injury or death.
IMPORTANT INSTRUCTIONS
As with all electrical appliances, basic safety precautions should always be followed to reduce the risk of electric shock, fire, or injury to persons, including the following precautions:
- Read all the instructions before using this fan.
- Use this fan only as described in this manual. Any other use not recommended by the manufacturer may cause electrical shock, fire or injury to persons.
- Do not operate the fan with a damaged power cord or after the fan malfunctions or has been dropped in any manner.
- Use of extreme caution is necessary when any fan is used by or near children, disabled persons or pets and whenever the fan is left operating unattended.
- Do not place the fan on a small, unlevel, uneven or any surface which might allow fan to tip or fall.
- For proper operation, fan should be placed on a smooth, non-combustible, level surface.
- Always unplug fan when not in use, when moving from place to place, when assembling or disassembling parts, and before cleaning.
- The use of attachments, not recommended or sold by the manufacturer, may cause hazards.
- Do not use outdoors.
- Do not use fan in window. Rain may cause electrical hazard (for non-window models).
- Do not operate the fan with blade guards or any safety device removed.
- Avoid the use of extension cords due to risk of fire. If an extension cord must be used, the cord must be minimum 14 AWG and rated not less then 1875 watts.
- Do not run power cord under carpeting. Do not cover cord with throw rugs, runners or the like. Arrange cord away from traffic area where it will not be tripped over.
- Do not insert or allow any object to enter any openings on the fan. Doing so may cause electric shock and/or fire hazard. Avoid contact with moving parts.
- This appliance is not intended for use by persons (including children) with reduced physical, sensory or mental capabilities or lack of experience and knowledge, unless they have been given supervision or instruction concerning use of the appliance by a person responsible for their safety.
- Children should be supervised to ensure they do not play with the appliance.
READ & SAVE THESE INSTRUCTIONS!
WARNING: SHOCK HAZARD
Use your fan only in dry environments. This fan is not intended for use in a bathroom, laundry area, or similar locations, or near sinks, washing machines, swimming pools or other sources of water. Never locate fan where it may fall into a bathtub or other water receptacle. Do not use in damp environments such as flooded basements.
WARNING: HOT SURFACES
Do not touch fan motor when in use. This motor is hot when in use, to avoid burns, do not let bare skin touch hot surfaces.
WARNING: FIRE HAZARD
Fans have arcing or sparking parts inside. Do not use near combustible materials or flammable gases or sources of heat. DO NOT USE in areas where gasoline, paint or flammable materials are used or stored. To prevent a possible fire, do not block air intakes or exhaust in any manner. Do not insert or allow foreign objects to enter any ventilation or exhaust opening as this may cause an electric shock, fire, or damage the fan.
WARNING: ELECTRICAL SHOCK HAZARD
Do not use with damaged cord or plug. Use with adequate electrical system that is up to code.
WARNING: TO REDUCE THE RISK OF FIRE OR ELECTRIC SHOCK, do not use this product with any solid-state speed control device.
WARNING: PREVENT ELECTRIC SHOCK
This product has a cord with 3-prong grounding-type plug (A) which fits the 3-slot grounded receptacle (A2). DO NOT remove the grounding prong (A1) if only a 2-slot receptacle (B) is available. For connecting 3-prong grounding-type plug to 2-slot receptacle, use an ADAPTER (C). The grounding lug (C1) extending from the adapter must be connected to a permanent ground with the Metal Screw (D) such as a properly grounded outlet box (E). The adapter should not be used if a 3-slot grounded receptacle is available.
DO NOT DEFEAT THE SAFETY PURPOSE OF EITHER A GROUNDED PRONG OR A GROUNDING LUG.
DO NOT operate any fan with a damaged cord or plug or after fan malfunctions, has been dropped or damaged in any manner. Do not operate fan with a broken blade, safety cage or any visual imperfections. Disconnect power before servicing. For repairs covered under warranty, see warranty statement. For all other repairs contact Comfort Zone® Customer Service by telephone or mail for information and assistance.
DO NOT run power cord under carpeting. DO NOT cover cord with throw rugs, runners or the like. Arrange cord away from traffic area where it will not be tripped over. Avoid the use of extension cords due to risk of fire. If an extension cord must be used, the cord must be minimum 14 AWG and rated not less then 1875 watts. Do not use an extension cord unless the plug can be completely inserted into its receptacle. Unplug the fan when not in use. Do not operate fan with its ventilation obstructed.
USAGE
Operating Instructions: Plug power cord into any properly grounded, 3-prong, 120 volt wall outlet. The fan speed is controlled by a 3-speed rotary switch. Turn the rotary switch to change the speed or turn the fan off. Height of fan can be adjusted by loosening cap screw (19). Make sure collar is tight before operating fan. The angle can be adjusted by loosening the knob screw (16) which holds the motor to the column. Once you have the desired angle, be sure to tighten the knob screw. Do not attempt to relocate fan by dragging the base. The fan can be moved to its next location by tilting it on the edge of the base and rolling it, or by carrying it.
Note: This fan is equipped with a thermal protection switch. If the fan overheats for any reason, the switch will turn off the fan. The switch will automatically reset after the fan cools.
Assembly Instructions
Tools Required: Phillips Screwdriver and Adjustable Wrench.
Head Assembly: ( Fig 1 )
Mount motor assembly (9) to extension column (14) with 1/2″ x 1″ hex bolt (15), one lock washer (10) and hex nut (11), and with 1/4″ x 1″ knob screw (16), one lock washer (13) and hex nut (12). Ensure that the knob on the 1/4″ knob screw and the head of the 1/2″ bolt are on the same side (See figure 1). Tilt motor slightly up and tighten motor mounting nut. Place the rear guard (8) on motor studs. Place four additional flat washers (7), over grille onto motor studs. Secure using four hex nuts (5). Slide fan blade (4) on motor shaft with hub pointing towards the motor. Tighten set screw (3) against flat on shaft with 5/32 hex key wrench provided. Mount the front guard to the rear guard using grille clips (17).
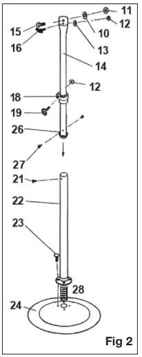
Pedestal Assembly: ( Fig 2 )
- Place the spring (28) inside the painted column (22).
- Mount the painted column (22) to the base using four carriage bolts 5/16″ x 3/4″ (23) and lock with the thread on the base.
- Adjust the extension column (14) to the proper height, then tighten the plastic collar (18) using a 1/4″-20 x 1/4″ cap screw (19) and a 1/4″-20 nut (12).
| # | Description | Qty |
| 1 | Nameplate | 1 |
| 2 | Front Guard | 1 |
| 3 | Set Screw 5/16″- 24 x .250 | 1 |
| 4 | Fan Blade | 1 |
| 5 | Nut #8-32 | 4 |
| 6 | Dome Cover | 1 |
| 7 | Flat Washer #10 | 4 |
| 8 | Rear Guard | 1 |
| 9 | Motor | 1 |
| 10 | Lock Washer 1/2″ | 2 |
| 11 | Nut 1/2″-13 | 2 |
| 12 | Nut 1/4″-20 | 2 |
| 13 | Lock Washer 1/4″ | 1 |
| 14 | Extension Column | 1 |
| 15 | Bolt 1/2″ – 13 x 1 | 1 |
| 16 | Knob Screw 1/4″ – 20 x 1″ | 1 |
| 17 | Grille Clip | 6 |
| 18 | Collar | 1 |
| 19 | Cap Screw 1/4 – 20 x 1-1/4″ | 1 |
| 20 | Power Cord 9ft/274cm | 1 |
| 21 | Screw #8 – 32 x 1/4″ | 1 |
| 22 | Painted Column | 1 |
| 23 | Carriage Bolt 5/16″ – 18 x .750 | 5 |
| 24 | Base Plate | 1 |
| 25 | Rotary Switch | 1 |
| 26 | Plastic Spacer | 1 |
| 27 | Screw #8 – 18 x 5/16″ | 2 |
| 28 | Spring | 1 |
CARE AND MAINTENANCE
WARNING: ALWAYS UNPLUG THE UNIT BEFORE ATTEMPTING TO PERFORM ANY SERVICE.
Cleaning: Unscrew and remove front grille only. Clean the grille and fan blade surface with a clean damp cloth. Do not use harsh chemical or abrasive cleaners. DO NOT IMMERSE THE FAN OR ANY WIRES IN WATER. Replace front grille before fan use. Allow fan to dry completely before use. Periodic grille cleaning with a vacuum will prevent dust build up. The motor does not require any interior maintenance, cleaning or lubrication.
Maintenance: The Internal motor bearings are permanently lubricated at the factory and do not require any additional lubrication.
Repair: DO NOT OPERATE THE FAN WITHOUT THE GRILLE IN PLACE. DO NOT USE THE FAN IF IT HAS MALFUNCTIONED OR BECOME DAMAGED IN ANY WAY.
STORAGE: Keep original package for storage of the fan. Coil and tie the power cord to avoid damage during storage.
Note: Some models come with a plug where you can replace a fuse. If your model has this, please read and follow the below instructions to replace the fuse.
This product employs overload protection (fuse). A blown fuse indicates an overload or short-circuit situation. If the fuse blows, unplug the product from the outlet. Replace the fuse as per the user servicing instructions (follow product marking for proper fuse rating) and check the product. If the replacement fuse blows, a short-circuit may be present and the product should be discarded or returned to an authorized service facility for examination and/or repair.
Fuse Replacement

- Grasp plug and remove from the receptacle or other outlet device. Do not unplug by pulling on cord.
- Open fuse cover by sliding open fuse access cover on top of attachment plug towards blades. See Fig. 2.
- Remove fuse carefully. Use a small tool to pry the end of the fuse from holder cavity. Be careful not to break glass window.
- Replace fuse. WARNING: Risk of fire. Replace fuse only with identical 2.5 or 5.0 Amp, 125 Volt fuse (3.6mm x 10mm). Besure fuse is properly seated within its cavity.
- Close fuse cover by sliding it back to its original closed position.
Troubleshooting Chart
Work Should be Done by a Factory Authorized Service Center:
| Symptom | Possible Causes | Corrective Action |
| Fan fails to operate | 1. Cord not plugged in 2. Fuse blown or circuit breaker open 3. Low voltage 4. Defective switch 5. Motor winding open 6. Motor bearings dry 7. Limit control | 1. Plug cord into outlet 2. Replace fuse or reset breaker 3. Ensure that there is proper voltage at outlet 4. Replace switch 5. Replace motor 6. Replace motor 7. Vacuum air blockage on fan guards; Clear air obstruction; wait for motor to cool down |
| Fan operates noisily | 1. Motor bearings dry 2. Fan blade loose | 1. Replace motor 2. Tighten fan blade |
| Fan vibrates | 1. Fan sitting on uneven or inclined surface 2. Fan blade dirty 3. Fan blade broken or bent | 1. Place fan on level surface 2. Clean fan blade (see Maintenance) 3. Replace fan blade |
LIMITED WARRANTY
This unit is guaranteed to the original retail purchaser against defects in quality or workmanship for a period of one year from the date of original purchase. If this unit fails because of a manufacturing defect within 30 days of purchase, return the unit, with your receipt, to the retailer. After 30 days, but within the warranty period, if the unit was purchased within the continental United States, return it, freight prepaid, to World and Main for repair or replacement. If the unit was purchased outside the continental United States, return the unit to the place of purchase. This warranty does not cover damage caused by misuse, abuse, overheating or alteration. Repairs made by anyone other than World and Main are not covered in this warranty. World and Main will not be held liable for any losses due to neglectful operation. All implied warranties, including the warranties of merchantability and of fitness of purpose, if applicable, are hereby limited in duration to the period of one year from the date of original retail purchase. Some states do not allow limitations on how long an implied warranty lasts, so the above limitations may not apply to you. Incidental or consequential damages arising from a breach of either express or implied warranties are hereby disclaimed and excluded. Some states do not allow the exclusion of limitation of incidental or consequential damages, so this limitation or exclusion may not apply to you. Upon the expiration of this warranty all such liability will terminate. No other warranties are expressed or implied.
This warranty gives you specific legal rights, and you may also have other rights which vary from state to state. No informal dispute settlement mechanisms are available. This limited warranty is given in lieu of all other warranties.
Manufactured for:
World and Main (Cranbury), LLC
324A Half Acre Rd.
Cranbury, NJ 08512 USA
800-221-6895
www.comfortzoneproducts.com
Rev. 11/08/21
www.comfortzoneproducts.com




















