Clihome CL-AF49177 19.7 in. D Bluetooth Accent Table with USB and adjustable LED Instruction Manual
Assembly Instruction
| Smart light music table manual | |
| Step 1: Open the package, place the smart panel with PE foam on the ground or on a big table, and unscrew the hexagon screws at 1 2 3 4 as shown in the figure | ![]() |
| Step 2: Take out the hardware bracket (the intersection of the hardware bracket is divided into upward and downward), first install the hardware bracket with the upward opening and fix it at the place 1 and 2 as shown in the figure, and twist the hexagon screws. | ![]() |
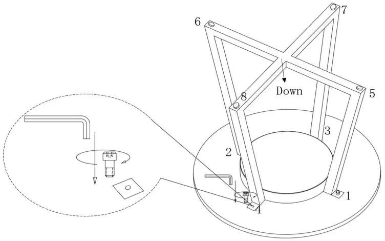
| Step 3: Take out the other hardware bracket with the intersection downward, fix the hardware bracket to the 3 and 4 shown in the figure, and tighten the hexagon screws. Use a six-inner-angle wrench to tighten the hexagon screws at 1 2 3 4 as shown in the figure. | ![]() |
| Step 4: Turn the product over and stand on the ground, adjust the feet at 5 6 7 8 as shown in the figure to make the product on the ground | ![]() |























