Whitehall Manufacturing WHR2142ADA Ligature-Resistant Toilet

- Ligature Resistant Siphon Jet Replacement Toilet is arranged to be installed against a finished wall from the front side with a fixture-to-wall mounting channel. Fixture is designed to replace a variety of existing toilets. Unit is fabricated from 16 gage, type 304 stainless steel and is seamless welded construction with exterior surfaces powder coated white (interior of toilet will have a satin finish and will not be powder coated). Toilet will be provided with WH-LRSC-GRAY Ligature Resistant ABS Toilet Seat Cover.
- Toilet is siphon jet type with an elongated bowl manufactured to comply with ASME A112.19.3, CSA B45.4 and 2010 ADA Standards for Accessible Design. Toilet requires a minimum of 25 PSI flow pressure and uses a minimum water consumption of 1.28 GPF. On-floor units can withstand load rating of 5000 lbs. without permanent damage. Trap has a minimum 3-1/2″ seal, will pass a 2-1/8″ ball and is fully enclosed. Toilet has a 1-1/2” NPT flushing inlet connection. Wall waste outlet connection is a 5-1/2” gasket flange. Floor waste outlet locations from rear of fixture with a 7-1/2” gasket flange.
- Optional Hydraulic Flush Valve is concealed type with cast bronze body. Flush valve supply is available in 1.28 GPF and 1.6 GPF. All exposed parts are chrome plated.
- Optional Flush Valve Cover is 16 gage, type 304 stainless steel with exposed surfaces powder coated white. It is furnished with six removable wall brackets secured with vandal resistant screws. Refer to WH2802-ADA submittal for additional information. (For top supply toilet only.)
GUIDE SPECIFICATION
Provide and install Whitehall Best-Care™ Ligature Resistant ADA 2010 Compliant Replacement Toilet (specify model number and options). Fixture shall be fabricated from 16 gage, type 304 stainless steel. On-floor units can withstand load rating of 5000 lbs. without permanent damage. Construction shall be seamless welded and outside surfaces are powder coated white. Housing to include side access panels. Toilet shall be concealed siphon jet type with an elongated bowl and self-draining flushing rim. Toilet shall be ASME A112.19.3, CSA B45.4 and 2010 ADA compliant. Toilet requires a minimum of 25 PSI flow pressure and uses a minimum water consumption of 1.28 GPF. Toilet trap shall have a minimum 3-1/2” seal and shall pass a 2-1/8” diameter ball and is fully enclosed. Provided with WH-LRSC-GRAY Ligature Resistant ABS Toilet Seat Cover.
MODEL NUMBER AND OPTIONS SELECTION
- BASE MODEL NUMBER
- WHR2142ADA-T-2-EGE10 Wall Outlet, Siphon Jet Replacement Toilet
- WHR2142ADA-T-3-EGE10 Floor Outlet, Siphon Jet Replacement Toilet
- Optional Flush Valve Cover w/ Flush Valve (Must Specify):
- WH2802SLPT-ADA-EG10-1.28: Ligature Resistant Flush Valve Cover With 1.28 GPF Hydraulic Flush Valve (White)
- WH2802SLPT-ADA-EG10-1.6: Ligature Resistant Valve Cover With 1.6 GPF Hydraulic Flush Valve (White)
- Accessories:
Note: Gray Ligature Resistant Seat Cover is Standard- WH-LRSC-WHITE: Ligature Resistant Seat Cover, White (Shipped Loose)
- WH-LRSC-BLACK: Ligature Resistant Seat Cover, Black (Shipped Loose)
- WH-LRSC-BLUE: Ligature Resistant Seat Cover, Dignity Blue (Shipped Loose)
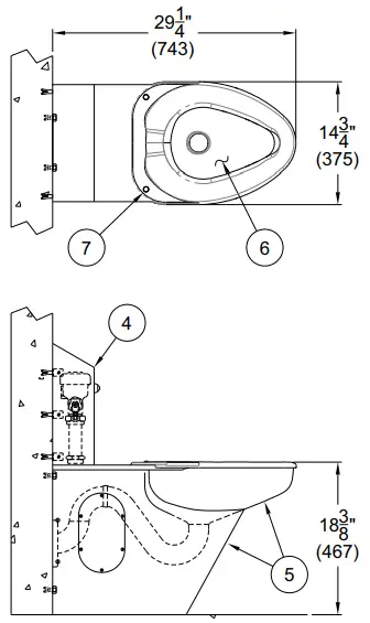
DIMENSION



- Flushing Inlet
- Waste Outlet
- Mounting Points
- Optional Flush Valve Cover With Flush Valve
- Exterior Surfaces Powder Coated White
- Interior of Toilet w/ Satin Finish (Not Powder Coated)
- WH-LRSC-GRAY Whitehall Ligature Resistant ABS Toilet Seat Cover
DISCLAIMER:
This product is designed to decrease the probability that it may be utilized as an apparatus for ligature. It is not a replacement for professionals who are trained in the proper evaluation, management and supervision of persons at risk of suicide.
MODEL NUMBER AND OPTIONS SELECTION
- BASE MODEL NUMBER
- WHR2142ADA-W-2-EGE10 Wall Outlet, Siphon Jet Replacement Toilet
- WHR2142ADA-W-3-EGE10 Floor Outlet, Siphon Jet Replacement Toilet
- Optional Flush Valve (Must Specify):
- -HET 1.28 GPF Hydraulic Flush Valve
- –ULF 1.6 GPF Hydraulic Flush Valve
- Accessories:
Note: Gray Ligature Resistant Seat Cover is Standard- WH-LRSC-WHITE Ligature Resistant Seat Cover, White (Shipped Loose)
- WH-LRSC-BLACK Ligature Resistant Seat Cover, Black (Shipped Loose)
- WH-LRSC-BLUE Ligature Resistant Seat Cover, Dignity Blue (Shipped Loose)
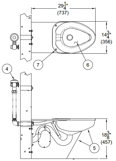
DIMENSION



- Flushing Inlet
- Waste Outlet
- Mounting Points
- Optional Flush Valve
- Exterior Surfaces Powder Coated White
- Interior of Toilet w/ Satin Finish (Not Powder Coated)
- WH-LRSC-GRAY Whitehall Ligature Resistant ABS Toilet Seat Cover (Standard)
All dimensions are nominal and subject to manufacturer’s change without notice. Whitehall assumes no responsibility for use of void or superseded data © Whitehall Manufacturing, Member of Morris Group International.
Please visit www.whitehallmfg.com for most current specifications.
DISCLAIMER:
This product is designed to decrease the probability that it may be utilized as an apparatus for ligature. It is not a replacement for professionals who are trained in the proper evaluation, management and supervision of persons at risk of suicide.
SELECTION SUMMARY & APPROVAL FOR MANUFACTURING

ABOUT COMPANY
- Whitehall Mfg.
- P.O. Box 3527
- City of Industry, CA 91744
- (800) 782-7706
- (626) 968-6681
- Fax (626) 855-4862

















