
Model: MR-IH003
Miroir BAby Monitor
User Guide
SAFETY INSTRUCTIONS
- Keep cord out of the reach of children (more than 3ft / 0.9m away) in case of STRANGULATION.

- NEVER place the camera or cord in or near the crib or playpen.
- NEVER mount the camera directly above the crib or playpen to avoid the risk of injury.
- Only use the AC adapters provided.
- Never use the unit near water, including near o bathtub, sink, laundry machine tube, wet basement, etc.
- Do not install near any heat sources such as radiators, heat registers, stoves, or other devices that produce heat.
- Only use attachments and accessories specified by the manufacturer.
- Unplug this device when unused for long periods of time.
CAUTION
- NOT toys. Do not allow children to play with them.
- This product is NOT intended to replace the proper supervision of children. You MUST check your child’s activity regularly.
- This product is not intended for use as a medical camera and its use should not replace adult supervision.
- Unplug the product during lightning storms.
- Please check the operating range and condition of the camera carefully at the initial installation, and on a regular basis after that
- Check the reception regularly. Test the camera before use and after changing the camera’s location.
- For indoor use only.
- Clean the camera with a dry cloth only.
- Do not block any ventilation openings.
- Microphone feedback might occur when the monitor is too close to the camera. Please keep them at least 1.5m / 4.9ft apart.
PACKAGE CONTENTS

- Baby Monitor & Camera
- AC Power Adopter 2
- Mount Kit
- Camera Mount
- Power Cable ‘2
- User Guide
PRODUCT DIAGRAM
Bady Monitor

- Antenna.
- Sound Level LED: Low/high level shows low/high sound detected by the camera.
- Microphone.
- Charging Indicator: blue during charging, and goes out when fully charged; Flashes red when the monitor is in a low power state.
- Monitoring Status Indicator Green. When the camera is disconnected, it flashes slowly; when it enters pairing mode, it flashes quickly; when the camera is turned on, it is always on.
- Menu/Back Button: Press to enter the menu page or press as a Back button.
- Camera Switch: Switch cameras if connected with two or more cameras.
- Left Button: Press to pan the camera leftward or to change your selection leftward.
- Up Button: Press to tilt the camera upward or to change your selection upward.
- Right Button: Press to pan the camera rightward or to change your selection rightward.
- Confirm/Zoom Button: Press to Zoom in/out or to confirm your selection.
- Down Button: Press to tilt the camera downward or to change your selection downward.
- Call key: long press to talk to the baby on the monitoring screen; short press to adjust the sound or brightness of the display; short press next time to enter the lullaby play page.
- Power/Sleep Button: Long press to turn on/off the monitor; short press to turn on/off the screen.
- Support Stand
- Speaker
- Power Input
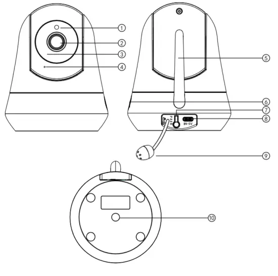
Camera

- Night Vision Sensor
- Camera Lens
- L EDS
- Microphone
- Antenna
- Speaker
- Pair Button
- Power Input
- Temperature Sensor
- Wall Mounting Threaded Holes
GETTING STARTED
1. Charging & Powering Baby Monitor
- Connect the monitor adapter to the monitor and a power outlet.
- Unplug the unit when its power indicator turns off, indicating a full charge.Of course, if you have been plugged in, it will not affect the use, but it may affect the battery life.
- Press the Power button on the monitor to power on with the power indicator lighting green.
2. Powering Camera
- Connect the camera to a power source via the Type-C cable and camera adapter.
Only use the power adapters included in the package. Do not place the camera and power cord within the reach of your baby.
3. Pairing the Baby Monitor & the Camera
By default, one camera has been paired with the monitor when manufactured. When you power on the monitor and camera, the two will automatically pair.
To add more cameras.
Step 1:
- Press
to enter the menu page. - Choose
and press
the button.
Step 2:
- Select
then press
the button.

Step 3:
- Select
and press
the button TWICE. See Camera is NOT paired. - Press Ockl< button to start pairing.

Step 4:
- Press
the PAIR button on the back of the. -camera. - Then the monitor will auto-pair with the camera.

Once they’re paired successfully, the camera number with the icon
will be shown at the top left. It is recommended to pair in the baby’s room, or wherever you intend to place the camera.- Microphone feedback might occur when the monitor is too close to the camera. Please keep them at least 1.5m / 4.9ft apart. Four cameras at most can be connected to one monitor.
4. Placing the Camera
For safety reasons and better vision in night vision mode, if the camera is placed on a 0.75m / 2.5ft tabletop, the distance from the baby is at least 1.5m / 4.9ft. ( The effective distance between the camera and the baby is within 6m / 19.7ft. In the meantime, please ensure that the camera power cord cannot be touched by the baby.) 
5. Wall Mounting Camera
- Unscrew the bracket nut and adjust the bracket to an appropriate angle. Screw the nut again tightly.
- Drill holes on the wall and put green ribbed plastic anchors into holes with a hammer.
- Fix the bracket on the wall by screwing its screws into the ribbed plastic anchors.
- Screw up the top bolt of the bracket with the nut at the bottom of the camera.
- To better match the proper viewing field, Please unscrew the nut on the side of the bracket, adjust the angle of the bracket downwards, until the baby appears in the monitoring range, tighten the nut on the side of the bracket again, and the installation is complete.

Don’t release the camera until you’re sure it is firmly mounted.
FUNCTIONS & OPERATIONS
Top Status Indications
| No signal connection | |
| Signal strength | |
| Live video loop (Multiple cameras polling for 10 seconds) | |
| Camera | |
| Current Time | |
| Lullabies enabled | |
| Sleep Mode enabled | |
| Voice Activation Mode | |
| Temperature alarm enabled | |
| Feeding reminder enabled | |
| Screen mute | |
| Night vision Mode | |
| 2 times magnification | |
| 4 times magnification | |
| Current room temperature | |
| Battery Level |
Notifications Icons
| No camera connected | |
| Sound Alarm | |
| Temperature Alarm | |
| Feeding Notification |
You can open the Live-Video-Loop function through shirt presses on the
button until you see
on the status bar. When Live-Video-Loop
the function is on, the connected cameras will automatically switch every 10 seconds. And if there is a sound/temperature alarm, the camera-switch function will pause temporarily.
- Volume Adjustment
Use Shortcut Button: Press the TALK Button -> Left / Right Button to quickly adjust the volume with
icons.
- Display Brightness Adjustment
Use Shortcut Button: Press the TALK Button -> Up / Down Button to quickly adjust the volume with
icons.
- Talkback
Press and hold the TALK button to talk to your baby, and release it to exit the talking mode.
When you are in the monitoring mode, press and hold the TALK -111111 key to enter the intercom mode, and the
icon will be displayed on the monitor. When you enter the menu, the intercom function can still be used, but the
icon will not appear on the screen.
When it’s mute or the speaker volume is too low, you may not be able to hear the baby
When you’re pressing the Talk Button, the camera will not transfer the sound to the monitor. Please release the button to listen to your baby - Add Camera
Step 1: 1. Press,,
to enter the menu page.
2. Choose
and press the
buttons.
Step 2:
1. Select
then press
the button.
Step 3:
1. Select
and press
the button TWICE. See Camera is NOT paired.
2. Press the
button to start pairing.
Step 4:
1. Press the
button on the back of the camera.
2. Then see the prompted Paired.
Four Cameras at most can be connected to one monitor. - Delete Camera
Step 1:
1. Press
to enter the menu page. Choose
and press the
button.
2. Select the camera needs deleting. Press
button.
Step 2:
1. Select the right camera icon. Press the
button TWICE.
2. See Deleted. Your camera is deleted.
- Camera interaction and loop
Note: Connecting multiple cameras is available. Multiple cameras are powered on and within the monitor connection range.
Step 1:
1. Confirm that the camera channel page is connected to more than two cameras
Step 2:
1. Check the camera channel, click
and the monitor screen will switch to the next camera.
Step 3:
1. After all the camera pages have been switched, click the
camera channel icon to display the loop icon, and all camera screens will be polled and played every 10 seconds, with images and sounds.
Step 4:
1. Click
again to exit the screen polling. The camera screen returns to the current polling screen. - View camera
Note: Connecting multiple cameras is available. Multiple cameras are powered on and within the monitor connection range. Explanation: This function can switch and poll the camera.
Step 1:
1. Press
to enter the menu page. Choose
and press
button.
2. Select the camera you want to switch. Press
button.
3. You need the camera to poll for playback. Choose
and press
the button.
• Shortcut keys: short press TALK twice to enter this page, and press
to return to the video page.
• If you need to return to the video page, please press
twice or wait 30 seconds to return. - VOX mode
Explanation:
1. There are three options for sound detection, LOW(78dB), MEDIUM(65d6), and HIGH(60dB). LOW means the sound can be detected if it reached 78dB, and so on for MEDIUM and HIGH. 2. Setting ” off ” turns off the alarm sound in VOX mode.
Step 1: 1. Press
to enter the menu page. Choose
and press the
button.
2. Select the option you want. Press the
button.
If you need to return to the video page, please press MENU twice or wait 30 seconds to return. - Temperature Alarm
Explanation:
indicates that the temperature value for high and low-temperature alarms can be set.
Step 1:
1. Press
to enter the menu page. Choose
and press the
button.
2. Select the option you want. Press
button.
• A vox/temperature alarm can be temporarily turned off by 9- pressing any button on the monitor.
• If you need to return to the video page, please press Mau twice or wait 30 seconds to return. - Feeding
Explanation:
This function is to remind you of feeding your baby. OFF means you shut down the function; 2 hour means it reminds you every 2 hours and so on for the other options.
Step 1: 1. Press
to enter the menu page. Choose and press
the button.
2. Select the time you want. Select OFF to turn off the feeding reminder.
• Selecting +will set the alarm to the specified time.
• If you need to return to the video page, please press uwu twice or wait 30 seconds to return. - Lullabies
Explanation:
This function is to comfort the baby when needed.
Step 1: 1. Press
to enter the menu page. Choose
and press
the button.
2. Select the lullaby you want. Select ALL to play the lullabies in a loop.
If y need to return to the video page, please press
or wait 30 seconds to return. - SCREEN SLEEP
Explanation:
This function is to prolong your monitor’s runtime by shutting down the screen.
Step 1:
1. Press
to enter the menu page. Choose
and press Cg< button.
2. Select the time you want
• The screen will automatically light up if there is a vox alarm or a temperature alarm. If you need to return to the video page, please press MENU twice or wait 30 seconds to return. - Settings
Explanation: This is a submenu of the function page, which can set screen sound and brightness, system sound, time and date, system language, system reset, and provide service support information.
Step 1: 1. Press
to enter the menu page. OK Choose
and press
the button.
2. Select the function to be adjusted.
Brightness
Step 1: 1. Choose
and press
the button.
2. Adjust monitor screen brightness.
If you need to return to the video page, please press mum twice -V- or wait 30 seconds to return.
Volume
Step 1: 1. Choose
and press OK button.
2. Adjust the monitor volume.
If you need to return to the video page, please press MOW twice -V- or wait 30 seconds to return.
Alarm
This function is to adjust the monitor side system sound.
Step 1: 1. Choose
and press
the button.
2. Select the option you want. press
button.
l in vox mode, set ” silent ” , the alarm sound under vox will not be turned off 2.If you need to return to the video page, please press PAM or wait 30 seconds to return.
Date/Time
Step 1: 1. Choose
and press
the button.
2.
stands for finishing the setting.
• Press Up/Down/Left/Right to select and press
the button t confirm.
• If OW in ON, the date and time will be displayed on the bar of the monitor; otherwise, it will not be displayed.
• If you need to return to the video page, please press
twice or wait 30 seconds to return.
Language
There are two languages built in your device, you can choose your language here.
Step 1:
1. Press
to enter the menu page. Choose
and press
the button.
2. Select your language and press
the button.
If you need to return to the video page, please press MENU twice or wait 30 seconds to return.
Contact Us
Step 1:
1. Select
Press
to enter the interface.
2. Contact Us. Press
to return.
If you need to return to the video page, please press km,,,u twice V- or wait 30 seconds to return.
Restore factory settings
Step 1:
1. Selects.
Press
to enter the interface. Ct
2. Conform YES to reset. Press
or conform NO to exit.
If you need to return to the video page, please press M! twice or wait 30 seconds to return.
SPECIFICATIONS
Monitor
| Resolution | IPS (720 x 1280), PPI =296 |
| Connectivity | 2.4GHz |
| Image Aspect | 16:9 (HD720P) |
| Image Compression | H.264 (frame rate = 15fs) |
| Operating Range | 280-300m (antenna vertically placed at 90°) (No interference) |
| Temperature Alert | Yes |
| Volume Control | 9 levels |
| Brightness | 8 levels |
| Antenna | Rotatable (max. 90 degree) |
| Power Input | 5V / 1.5A (2.5m long Type-C cable) |
| Zoom | Zoom In (2X) Zoom In (4X) |
| Two-Way Talk | Yes |
| Multi-Camera | Max. 4 cameras |
| Storage Temperature | -10°C – 55°C / 14 °F – 131°F |
| Operation Temperature | 0°C – 40°C / 32 °F – 104 °F |
Camera
| Cmos | 720P(1280×720), 1.0M, 1/4″ |
| Connectivity | 2.4GHz |
| Image Compression | H.264 (frame rate = 15fs) |
| Power Input | 5V / 1.5A (2.5m long Type-C cable) |
| Pan- n-Tilt | 100 degrees vertical (Up=90°, Down=10°) 340 degrees horizontal (Left=170°„ Right=170°) |
| Zoom | Zoom In (2X) Zoom In (4X) |
| View Angle | D: 81 0, H: 67 0, V: 28 ° |
| Depth of Field | 1.5m to 6m |
| Night Vision | Black & White image, 2m clear range, up to 6m |
| IR LED | Non-visible IR LED with wavelength 940nm (x 8 pcs) |
| Light Sensor | Yes |
| Two-Way Talk | Yes |
| Storage Temperature | -10°C – 55°C / 14 °F – 131°F |
| Operation Temperature | 0°C – 40°C / 32 °F – 104 °F |
TROUBLESHOOTING
| Is the product not powering on? | •Check that the camera and monitor are turned on. Check the camera and make sure it is well plugged into the outlet. •Check that the monitor is of enough battery (When the battery level icon flashes red slowly on the display, it will automatically turn off in about 10 minutes). |
| The baby monitor can’t connect with the camera? | Check whether the camera is near the monitor (recommended to keep within 1.5-2m / 4.9-6.6ft). •Check whether the monitor is of low battery. Charge it in time to restore a good connection. •Check whether the camera is well connected to power. Check whether there are any large metallic objects including doors, refrigerators, mirrors, etc., placed between the camera and monitor thus blocking the radio signals. Check whether there’s any other 2.4GHz product is used nearby like WiFi routers, and microwave ovens, which may interfere the connection. •If nothing above is involved, please retry to pair. |
| Nothing showed when I view a camera? | Check all connections to the camera (power cable plugging and pairing). •Check whether the screen is in sleep mode. Press any button to awake it. – Check whether the camera is within range of the monitor. Adjust the monitor antenna to a vertical position for better signal transfer. |
| No sound from the monitor? | Check whether the system sound volume is set to High or Low. It’ll be mute if set so. |
| Black and white pictures? | Night vision LED may be ON. Please turn on the room lights to force them out of the night mode. |
| Choppy videos? | Check whether the camera is near the monitor and that there’re no obstacles between them. – Adjust the monitor antenna to a vertical position for better signal transfer. VnL,mp mny hn cet tnn h. h DrPCe Chnrtr I. R ttnn , I aft |
| Too much noise? | Button to volume down. •The camera and monitor may be put too close; keep them at least 1.5m / 4.9ft apart. |
WARRANTY & CUSTOMER SERVICE
12 months warranty Lifetime customer service (contacts on the monitor, or back cover of this User Guide)
FCC STATEMENT
changes or modifications not expressly approved by the party responsible for compliance could void the user’s authority to operate the equipment. This device complies with Part 15 of the FCC Rules. Operation is subject to the following two conditions: (1) this device may not cause harmful interference, and (2) this device must accept any interference received, including interference that may cause undesired operation.
Note: This equipment has been tested and found to comply with the limits for a Class B digital device, pursuant to Part 15 of the FCC Rules. These limits are designed to provide reasonable protection against harmful interference in a residential installation. This equipment generates, uses, and can radiate radio frequency energy, and if not installed and used in accordance with the instructions, may cause harmful interference to radio communications. However, there is no guarantee that interference will not occur in a particular installation. If this equipment does cause harmful interference to radio or television reception, which can be determined by turning the equipment off and on, the user is encouraged to try to correct the interference by one or more of the following measures:
- Reorient or relocate the receiving antenna.
- Increase the separation between the equipment and receiver.
- Connect the equipment into an outlet on a circuit different from that to which the receiver is connected.
- Consult the dealer or an experienced radio/TV technician for help.
FCC 20cm Statement
This equipment complies with FCC radiation exposure limits set forth for an uncontrolled environment. This equipment should be installed and operated with a minimum distance of 20cm between the radiator & your body. This transmitter must not be co-located or operating in conjunction with any other antenna or transmitter.
WEEE COMPLIANCE
Correct Disposal of This Product (Waste Electrical & Electronic Equipment) (Applicable in countries with separate collection systems)This marking on the product, accessories or literature indicates that the product and its electronic accessories should not be disposed of with other household waste at the end of their working life. To prevent possible harm to the environment or human health from uncontrolled waste disposal, please separate these items from other types of waste and recycle them responsibly to promote the sustainable reuse of material resources. Household users should contact either the retailer where they purchased this product, or their local government office, for details of where and how they can take these items for environmentally safe recycling. Business users should contact their suppliers and check the terms and conditions of the purchase contract. This product and its electronic accessories should not be mixed with other commercial wastes for disposal.
The FCC warnings Baby monitor
This device complies with Part 15 of the FCC Rules. Operation is subject to the following two conditions: (1) this device may not cause harmful interference, and (2) this device must accept any interference received, including interference that may cause undesired operation
NOTE: This equipment has been tested and found to comply with the limits for a Class B digital device, pursuant to Part 15 of the FCC Rules. These limits are designed to provide reasonable protection against harmful interference in a residential installation. This equipment generates, uses, and can radiate radio frequency energy and, if not installed and used in accordance with the instructions, may cause harmful interference to radio communications. However, there is no guarantee that interference will not occur in a particular installation. If this equipment does cause harmful interference to radio or television reception, which can be determined by turning the equipment off and on, the user is encouraged to try to correct the interference by one or more of the following measures:
— Reorient or relocate the receiving antenna.
— Increase the separation between the equipment and receiver.
— Connect the equipment into an outlet on a circuit different from that to which the receiver is connected.
— Consult the dealer or an experienced radio/TV technician for help.
Warning: Changes or modifications not expressly approved by the party responsible for compliance could void the user’s authority to operate the equipment
The device has been evaluated to meet general RF exposure requirements the device can be used in portable exposure conditions without restriction
Website
www.miroirusa.com
E-mail: US: [email protected]
UK: [email protected]
EU: [email protected]
JP: [email protected]
Manufacturer.
Manufacturer: Shenzhen Danya Technology Co., Ltd.
Address: Room 2801, Building C, Galaxy World Phase II,
Mingle Community, Minzhin Street, Longhua District, Shenzhen
UK Importer Senfreed Technology limited
Address:16 NICHOLAS STREET MANCHESTER ENGLAND M1 4EJ
EU Importer: ZBT International Trading GmbH
Address: Halstenbeker Weg 98C, 25462 Rellingen, Deutschland![]()






Step 2:
Step 3:
Step 4:
2. Select the camera needs deleting. Press
Step 2:
2. See Deleted. Your camera is deleted.
Step 2:
Step 3:
Step 4:
2. Select the camera you want to switch. Press
3. You need the camera to poll for playback. Choose
• Shortcut keys: short press TALK twice to enter this page, and press
2. Select the option you want. Press the 
2. Select the option you want. Press 
2. Select the time you want. Select OFF to turn off the feeding reminder.
2. Select the lullaby you want. Select ALL to play the lullabies in a loop.
2. Select the time you want
2. Select the function to be adjusted.
Brightness
2. Adjust monitor screen brightness.
2. Adjust the monitor volume.

















