MODEL: 810991
810991 Stainless Steel Internal Blower
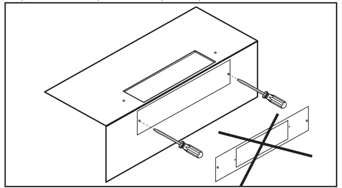
Remove the block off the plate from the top of the hood.

When a vertical discharge has been chosen, discard the damper mounting plate from the back of the hood and install the block-off plate from the previous step in its place.

Next, remove the knock-out on the blower plate.
NOTE: DO NOT remove the knock-out on the blower plate if a horizontal discharge is desired.

Secure the blower plate inside the hood with 4 lock nuts.

If a vertical discharge has been chosen, the included air diverter must be installed.
NOTE: If installed correctly, the air diverter will protrude about 1/8” above the blower plate.

Remove the filter support from the upper filter channel located inside the hood.

Remove the cover from the blower assembly.

Remove the impeller by pulling it out gently.

Install 4 screws into the location shown below. Do not tighten screws down fully, leave a 1/8” gap. Hang the blower unit onto blower plate (screws through the large part of the keyholes. Slide the blower to its position (screws in the small part of the keyhole). Tighten the screws.

Secure the blower by installing 2 more screws into the locations shown below. Reinstall the impeller and cover. Also, reinstall filter support. Plug ventilator’s power cord into receptacle inside the hood.

Align damper screw holes with holes in the hood to properly position the damper on the hood. Using two (2) standard ½” screws (1 per side), secure the adapter to the top (or back) of the hood). Seal the adapter to the hood using duct tape.



















