intelbras ELC 3012 Electric Fence Center

Congratulations, you have just purchased a product with Intelbras quality and safety. The ELC 3012 and ELC 3020 energizers for electric fencing are microprocessed, they monitor the high voltage output, generating a trigger by grounding or fence breaking. They have a mixed zone (wired and/or wireless) for connecting aperture and/or infrared sensors. They have a specific output that informs the perimeter triggering, activation and deactivation of the shock and a LED output terminal. This guide contains information about the product’s installation. For more details, see the complete manual at www.intelbras.com.br.
Care and Safety
- Read and follow all user manual instructions before installing and/or using this equipment.
- The product was developed in accordance with the ABNT NBR IEC 60335-2-76 stan-dard.
- The equipment, cables or the electrified fence must not be installed in places where extreme conditions prevail, such as the presence of corrosives, explosive atmosphere (with presence of gases), flammable liquids, etc.
- The equipment must be installed in a ventilated place.
- The fixed wiring used to power the equipment 115-230 Vac must have a safety swi-tch or similar device such as a circuit breaker. This device must allow the discon-nection from the mains, without the need to open the equipment case, as well as protecting the installation against possible short circuits in the power input.
- The equipment must be attached to a rigid wall or similar construction so that the user cannot change its position without the aid of tools. Do not install the central unit on wooden surfaces or materials that favor the propagation of flames, in case of a short in the wiring or equipment.
- Use only 12 Vdc rechargeable batteries suitable for security/intrusion systems.
- The equipment should never be opened, programmed or handled by the end user. Whenever repair, reprogramming or installation is required, a specialized technician should be hired.
- Before installing the product, it is important to find out if the municipality or state in which you wish to install the electric fence has any specific laws that regulate this type of installation. If there is, it must be complied with in its entirety.
- Follow the recommendations in this manual regarding the installation procedures and materials to be used when installing.
- In case of defect, malfunction or questions, please contact our support department or authorized technical assistance.
- Inform the user of the system about the operation and danger of the electrified fence, and of the care he should take in handling the product and in signaling the protected area.
- Inform the user that vegetation or objects should not touch the fence wiring, respec-ting a distance of 15 cm from the wires. If it is necessary to move something away from the wiring, disconnect the product from the mains and also from the battery.
- Never interconnect more than one central to the same fence that is to be electrified.
- Do not install the energizer close to another electrical appliance (minimum 0.5 m from the high-isolation cable).
- Provide the user with a complete description of the entire installed system and make sure they understand and are able to use and/or operate the system.
- The installation of the electrified fence must be carried out in accordance with the determinations of the ABNT NBR IEC 60335-2-76 standard.
- This appliance is not intended for use by persons (including children) with reduced physical, sensory or mental capabilities, or lack of experience and knowledge, unless they have been given instructions concerning use of the appliance or have been supervised by a person responsible for their safety.
- It is recommended that children be supervised to ensure that they are not playing with the device.
- LGPD – General Law of Personal Data Protection: Intelbras does not access, transfer, capture, nor perform any other type of processing of personal data from this product.
Note: before accessing the terminals, all power circuits must be de-energized.
Battery Care and Use Recommendations
To install or replace the battery of the equipment it is mandatory that the shock be deactivated by the remote control. It is also necessary to disconnect the mains supply using the safety switch or similar device. This product has an internal battery. After its useful lifespan, the batteries must be delivered to an Intelbras authorized technical assistance or disposed of directly in an environmentally appropriate manner, avoiding environmental and health impacts. If you prefer, the battery as well as other Intelbras brand electronics without use, can be disposed of at any Green Eletron collection point (an electro-electronic waste management company with which we are associated). If you have any questions about the reverse logistics process, please contact us by phone (48) 2106-0006 or 0800 704 2767 (Monday to Friday from 8am to 8pm and on Saturdays from 8am to 6pm) or by e-mail [email protected].
Technical Specifications
| ELC 3012 | ELC 3020 | |
| AC power supply | 115 – 230 Vac, it is recommended to use a cable with gauge ≤ 18 AWG (1 mm) | |
| DC power supply | 12 V/7 Ah battery (not supplied) | |
| Minimum shock | 8,000 pulsating V, ± 5% | 12,000 pulsating V, ± 5% |
| Maximum shock | 12,000 pulsating V, ± 5% | 20,000 pulsating V, ± 5% |
| Nominal frequency | 50-60 Hz | |
| Consumption in 115 – 230 Vac | 4.5 W | |
| Number of failed pulses | 10 pulses, non-adjustable | |
| Output pulse energy | < 0.7 joules | |
| Pulse duration | 360 μs | |
| Interval between pulses | 1s | |
| Pulses per minute | +/- 60 pulses | |
| Auxiliary Voltage/Current output | 14.5 Vdc/250 mA | |
| Siren output current | With battery: up to 1.5 A | |
| Without battery: 400 mA | ||
| Siren time | 5 minutes, non-adjustable | |
| Dimensions (W × H × D) | With packaging: 260 × 225 × 85 mm | |
| Without packaging: 255 × 215 × 80 mm | ||
| Weight | Gross: 0.8680 Kg | |
| Net: 0.772 Kg | ||
| Protection Index | IPX4 | |
Features
- Capacity of 3,000 linear meters of 0.6 mm stainless steel wire (ELC 3012).
- Capacity of 7,000 linear meters of 0.9 mm stainless steel wire (ELC 3020).
- Activates/Deactivates the shock via remote control.
- Accepts up to 30 wireless devices (compatible only with OOK modulation).
- Range: up to 100 meters with direct view in open field.
- Auxiliary output protected against overload.
- High voltage, fence and sensor tampering monitoring.
- Allows interconnection with alarm centers and sirens.
- Battery charger with short-circuit and reverse polarity protection.
- 1-second interval between electric pulses.
- Built-in high voltage module.
- 14.5 Vdc output for siren.
- Protection against liquid penetration IPX4.
- LED output for arming and disarming visualization.
- 2 outputs for monitoring the perimeter/sensor triggering status and fence activation/deactivation (TRIGGER STATUS and FENCE STATUS ).
Product

Installation

- LED OUTPUT+: positive LED output
- TRIGGER STATUS : fence and sensor trigger monitoring output;
- FENCE STATUS: fence enable/disable status output;
- ( − ): negative output;
- ON INPUT: input for fence activation;
- Z1: zone input for wired sensor;
- +AUX: positive of the auxiliary output;
- ( − ): negative output;
- +SIR: siren positive output;;
- AC: input for mains power supply;
- BATTERY: battery connector;
- RETURN: high voltage return;
- GROUND: input for grounding;
- FENCE: high-voltage output.
Table of minimum wire diameter to be used
| Distance | 3,000 | 5,000 | 7,000 |
| Diameter ELC 3012 | 0.6 mm | × | × |
| Diameter ELC 3020 | 0.6 mm | 0.6 mm | 0.9 mm |
If the high-voltage conductors and wires of the electric security fence are installed close to overhead power lines, the separation distances should not be less than those indicated in the following table:
| Power line voltage (V) | Separation distance (m) |
| ≤1,000 | 3 |
| >1,000 and ≤33,000 | 4 |
| >33,000 | 8 |
Siren (SIR +): maximum output = 14.5 Vdc
Connect the positive (+) and negative (-) wires of the siren to the positive (SIR+) and negative (-) outputs of the energizer. More than one siren can be connected, provided that the total current does not exceed the technical specifications indicated below:

- With battery: 1.5 A
- Without battery: 400 mA
After a violation occurs on the perimeter or sensor, the siren will stay on for 5 minutes, this time is not configurable.
Note: when connecting, observe polarity (+/-).
Auxiliary (AUX +): 14.5 Vdc / 250 mA output
This output is used to power the sensors. Connect a wire to the positive (AUX+) and negative (-) outputs of the energizer and con-nect them to the positive (+) and negative (-) inputs of the sensor. It is recommended to use a cable with gauge ≤ 26 AWG (0.41 mm). Obs.: ao ligr, observe a polaridade (+/-).

Zone (Z1)
Connection of the sensors should be made with cable with gauge ≤4×26 AWG (0.41 mm), maximum length of 100 meters and resistance up to 40 Ω. Connect a wire to the zone (Z1) and negative (-) inputs of the ener-gizer and connect them to the ALARM output of the sensor. If you do not use this zone for wired sensor installation, the CN3 pin bar pair (INPUT ZONE), located behind the terminal (CN1), must be closed with the jumper.

On input (ENT. LIGA)
The energizer can be activated or deactivated through a PGM from the alarm center, a reten-tive pushbutton switch, or an On/Off switch. Connection of the energizer´s on input on the PGM of the alarm center

Connect 1 wire to the on input terminal ( ENT. LIGA) and 1 wire to the negative (-) terminal of the energizer and connect them to the PGM and negative (-) of the alarm center.
Connection of the energizer´s on input to a pushbutton switch or on/off switch
Connect the pair of wires from the retentive pushbutton or on/off switch to the negative (-) terminal and the on input (ENT. LIGA) on the energizer.

Note: the on input, activates only the shock function.
Monitoring of fence triggering and activation/deactivation
The energizer has two outputs for monitoring, with one output that informs the triggering of the fence perimeter and sensor (TRIGGER STATUS) and one output that informs the status of activation and deactivation of the shock (FENCE STATUS). The interconnection of the monitoring output with the alarm center should be at least with a 26 AWG (0.41 mm) cable and a maximum distance of 100 m. Before connecting the products make sure that the cable resistance does not exceed 80Ω. To measure the resistance, short–circuit one end of the cable and measure the other end with a multimeter.
Connection for monitoring fence and sensor triggering (TRIGGER STATUS)
The Trigger Status output is a dry contact that is activated when there is a triggering due to a violation of the fence perimeter or sensor. This contact acts as normally closed (NC). Connect a pair of wires to the TRIGGER STATUS outputs and connect them to the ZONE and COM inputs of the alarm center, in the event of fence triggering, the alarm center will also trigger.
Note: it is advisable to program the center´s zone as electric fence triggering for those that have this function, for the others, program it as a 24 hour zone, so that the center monitors the triggering of the fence, even when it is not activated.
Connection for monitoring fence activation and deactivation (FENCE STATUS)
The fence status output is a dry contact that is actuated when there is activation or deactivation of the energizer. This contact acts as normally open (NO) with the system deactivated. Connect a wire pair in the energizer’s FEN-CE STATUS outputs and connect them to the ZONE and COM inputs of the alarm center, in the event of perimeter activation, the alarm center will trigger.

Installing the energizer
The equipment must be attached to a permanent wall or similar construction, so that the user cannot change its position without the aid of tools, as shown in the following figure.

Note:
- Do not install the product on surfaces that favor flame propagation, in case of short circuit in the wiring or equipment.
- When possible, secure this equipment in a location protected from sun, rain, and moisture, even with IPX4 degree of protection.
- The energizer may cause interference in electronic equipments when installed nearby.
AC power connection (mains)
In the lower left corner of the board, there is a 2-terminal block (AC) for connecting the center to the mains. The AC terminal is used to connect the equipment to the 115 – 230 Vac electrical network. Next to the terminal is located the fuse that protects the energizer. If you need to change it, use a fuse of the same value (1 A) with delay. To provide the user with greater safety in case the mains power cable jams, it must be installed as shown in the following figure:

- Leave approximately 27 cm of the power cable inside the case, through point D;
- Bend the cable between points B and C, as shown in the picture;
- Push the cable to the surface of the base;
- Connect the cable to the (AC) terminal on the board;
- Check the mains voltage. The mains wiring for power should have a safety switch or similar device, such as a circuit breaker. This device must allow the disconnection of the electrical network, without the need to open the equipment’s case, besides protecting the installation against eventual shorts in the power input.
Battery connection (two-color wire cable)
At the bottom center of the board is a two-way J6 connector (BATTERY) which is used to connect the battery of the energizer.

During normal operation, this output acts as a battery charger, and in the absence of mains power, the battery provides power to the system. To install or replace the equipment’s battery, it is necessary to follow the order indicated below, avoiding risk of electric shock:
- Disable the shock with the remote control;
- Disconnect the power supply using the safety switch or similar device;
- Make sure that the electric fence is completely inactive and without electricity;
- Open the equipment cover by loosening the screws and disconnect the J6 connector (bat-tery);
- Install and replace the battery, following these steps:
Battery fitting orientation:
- Insert the battery cable;

- Position the battery at an angle for the best fit in the case;

- Lower the battery until it touches the bottom;

- Connect the battery cable to the J6 connector on the board.

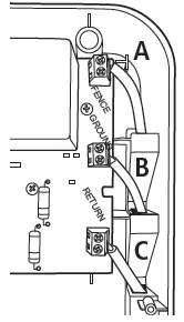
Connection of the high-voltage cables and grounding:
The high-voltage input and grounding cables must be installed through the holes on the right side of the case. After passing the cables through, you must make the connection in their respective terminals, as shown in the figure, you need high voltage cable with dielectric strength of at least 20 kV.
A high voltage output cable.- B grounding cable.
- C high voltage return cable.
We recommend a minimum distance of 0.5 m from the high-voltage cables for any other electronic device. After installing the cables, fit the cover of the energizer, following this orientation
Lid fitting orientation:
- Position and fit the lid on the bottom of the case;

- Place the lid on top and fit it with the bottom until the case snaps into place;

- Make sure there are no gaps between the lid and the base. Place the lid fastening screws in the indicated location

Grounding connection
Grounding is mandatory and very important for the sensation of shock to whoever touches the fence wires, besides protecting against lightning and overload of the electrical network and/or the wiring of the sensors. Always look for a moist place to fix the grounding rod (copper bars). The rods must be longer than 2 m, except when associated to a grounding mesh.
Attention: do not use the neutral of the electric network as grounding.
Connection and installation of the electric fence
Rods and insulators specially developed for the assembly of electric fences can easily be purchased on the market. The rods are made of flat or corner-shaped aluminum for easy assembling. Its material must absorb impact and have minimum flexibility to wind. If desired, the rod can be made of iron, as long as these characteristics are considered. Insulators are manufactured in polypropylene or with billets. Due to the high voltage applied to the fence, they must have excellent electrical insulation between wire and rod. The rods for fixing the wires should be fastened with screws and plugs at a minimum height of 2.10 m with a maximum recommended spacing of 3 m between them, as shown in the following figure.

Keep a minimum distance of 15 cm between the wires and from the wire to the wall.

Note: this distance (15 cm) must be respected even on uneven surfaces
Mounting the rods
The rods are to use quality wires with a section larger than 0.60 mm² because they have good durability, low electrical resistance per meter and resistance to the mechanical tension required by stretching, in order to avoid bellies and swinging that would cause breakage.

Programming
The ELC 3012/ELC 3020 energizer is compact and easy to program, it has several programmable parameters that can be executed through selection buttons and jumpers directly on the board. These settings are maintained even if the energizer is completely switched off, thus avoiding the need for frequent reprogramming. Attention: all the following programming must be performed with the fence deactivated.
Register/delete wireless devices
After the device is activated, the Shock and Alarm LEDs will stay on for approximately 5 seconds, waiting for the activation of the wireless device. After this time, if the device is not triggered, these LEDs will turn off, and it will be necessary to start the registration process again.
Note: when turning off any wireless device with the energizer active, the siren will immediately go off and the monitoring output will be activated, signaling a breach of the security system.
Remote Control
XAC 2000 TX
Technical Specifications
| Activation | 3 command buttons |
| Frequency | 433.92 MHz |
| Modulation | OOK (On/Off/Key) |
| Power supply | 3 Vdc battery |
Homologation
This equipment operates on a secondary basis, that is, it is not entitled to protection against harmful interference, even from stations of the same type, and cannot cause interference to systems operating on a primary basis.
XAC 4000 Smart Control
Technical Specifications
| Activation | 3 command buttons |
| Frequency | 433.92 MHz |
| Modulation | FSK/OOK |
| Power supply | 3 V CR2032 battery |
| Color | Black |
Homologation
This equipment operates on a secondary basis, that is, it is not entitled to protection against harmful interference, even from stations of the same type, and cannot cause interference to systems operating on a primary basis.
Register remote control

Erase Remote Control

Register wireless sensor

Enable/disable the siren beep
The siren beep, can be enabled or disabled through jumper selection by the pin-bar pair, identified as BEEP ON CLOSED and BEEP OFF OPEN:

Note: when a trigger occurs and the siren time ends when the fence is disarmed (alarm and/or shock), a 1-second beep will sound on the siren signaling that there was a trigger.
Fence tension adjustment
This adjustment is made through jumper selection by the pin-bar pair, identified as MAX. SHOCK CLOSED and MIN. SHOCK OPEN , being possible to adjust 2 voltage levels (minimum and maximum), as explained in the image

Learning the fence perimeter
Perimeter fence learning can be enabled or disabled by jumper selection through the pin bar pair labeled WITH LEARN. OPEN and WITHOUT LEARN CLOSED.
WITH LEARN. OPEN (without jumper): always performs perimeter learning upon electric fence activation.WITHOUT LEARN. CLOSED (with jumper): does not perform perimeter learning at any time. While the electric fence is doing perimeter learning, the Shock and Alarm LEDs on the board will flash alternately for 10 seconds (10 pulses).

Note: whenever there is a need for maintenance, changing cables, insulators, pruning vegetation, etc., a new learning process must be carried out due to the new conditions
Reset

Operation
Description of the LEDs on the lid of the energizer
After being turned on, the s of the LEDs should be as follows

| LED | Status | Description |
| Connected | Off | Electric fence without power supply |
| On | Electric fence with power supply | |
|
Fence | Off | Electric fence disabled |
| 1 blink per second | Electric fence enabled with shock return | |
| 2 blinks per second | There has been triggering on the perimeter, fence remains enabled and with shock return | |
| Fast blinking | Perimeter triggering, fence remains activated and without shock return | |
| Slow Blinking | Electric fence disabled signaling previous perimeter breach triggering | |
|
Alarm | Off | Alarm Disabled |
| On | Alarm Enabled | |
| Fast blinking | Alarm triggered | |
| Slow Blinking | Alarm disabled signaling previous alarm breach trigger | |
| Fence and alarm | Alternate blinking for 10 seconds | Learning the Perimeter |
intelbras ELC 3012 Electric Fence CenterWhen a breach occurs on the perimeter fence or sensor, the siren will be activated for 5 minutes, after which time, when deactivated, the siren will emit 2 deactivation beeps and another 1-second beep indicating that there was a perimeter and/or sensor violation (Slowly blinking Fence and/or Alarm LED).
Note: even if the fence is with the siren beep disabled, the siren will emit a 1-second beep indicating that there was a violation of the perimeter and/or the sensor after disabling the system and signals flashing slowly that there was a trigger.
Warranty Terms
It is hereby expressly stated that this contractual warranty is conferred under the following conditions:
Serial Nº:
- All parts, pieces and components of the product are guaranteed against eventual manufacturing defects, which they may eventually present, for a period of 1 (one) year – this being 90 (ninety) days of legal guarantee and 9 (nine) months of contractual guarantee -, as from the date of purchase of the product by the Consumer, as shown on the invoice for the purchase of the product, which is an integral part of this Term throughout the entire national territory. This contractual warranty includes the free replacement of parts, pieces, and components that present manufacturing defects, including the expenses for the labor used in this repair. If no manufacturing defect is found, but defect(s) arising from improper use, the Consumer will bear these expenses.
- The product´s installation should be done according to the Product Manual and/or Installation Guide. If your product requires installation and configuration by a qualified technician, look for a competent and specialized professional, considering that the costs for these services are not included in the product’s price.
- Once the defect is confirmed, the Consumer must immediately contact the nearest Authorized Service listed by the manufacturer – only these are authorized to examine and repair the defect during the warranty period foreseen herein. If this is not done, this warranty will be void, since it will be characterized as a violation of the product.
- In the event that the Consumer requests home assistance, he or she must go to the nearest Authorized Service to inquire about the technical visit fee. If it is necessary to remove the product, the resulting expenses, such as transportation and security costs to and from of the product, will be the Consumer´s responsibility.
- The warranty will totally lose its validity in the occurrence of any of the following hypotheses: a) if the defect is not of manufacturing, but caused by the Consumer or by third parties not related to the manufacturer; b) if the damage to the product comes from accidents, disasters, nature agents (lightning, flooding, landslides, etc.), humidity, voltage in the electrical network (overvoltage caused by accidents or excessive fluctuations in the network), installation/use in disagreement with the user’s manual or resulting from the natural wear and tear of the parts and components; c) if the product has suffered chemical, electromagnetic, electrical or animal (insects, etc.) influence; d) if the product’s serial number has been tampered with or scraped; e) if the device has been breached.
- This warranty does not cover data loss, therefore it is recommended, if applicable to the product, that the Consumer make a backup copy of the data on the product on a regular basis.
- Intelbras is not responsible for the installation of this product, nor for any attempts of fraud and/or sabotage on its products. Keep the software updates and applications used up-to-date, if relevant, as well as the network protections required for protection against intrusions (hackers). The equipment is guaranteed against vices within its normal conditions of use, and it is important to be aware that, because it is an electronic equipment, it is not free of frauds and scams that may interfere with its correct operation.
- After its useful lifespan, the product must be delivered to an Intelbras authorized service center or directly disposed of in an environmentally appropriate manner, avoiding environmental and health impacts. If you prefer, the battery as well as other Intelbras brand electronics without use, can be discarded at any Green Eletron collection point (manager of electro-electronic waste with whom we are associated). If you have any questions about the reverse logistics process, please contact us by phone (48) 2106-0006 or 0800 704 2767 (Monday to Friday from 8am to 8pm and on Saturdays from 8am to 6pm) or by e-mail [email protected].
These being the conditions of this supplemental warranty term, Intelbras S/A reserves the right to alter the general, technical and aesthetic characteristics of its products without prior notice. All images in this manual are illustrative. Product benefited by the Informatics Legislation
Customer Support
Customer Support: (48) 2106 0006
- Forum: forum.intelbras.com.br
- Support via chat: chat.intelbras.com.br
- Support via e-mail: [email protected]
- Customer Service: 0800 7042767
Where to buy? Who installs it? 0800 7245115
Produced by: Intelbras S/A – Indústria de Telecomunicação Eletrônica Brasileira Rodovia BR 459, km 124, 1325 – Distrito Industrial – Santa Rita do Sapucaí/MG – 37540-000 CNPJ 82.901.000/0016-03 – www.intelbras.com.br | www.intelbras.com





A high voltage output cable.





















