Litt P1 Grey
SMD 6.5W 72 LED/M
100-240V~ 50/60HZ
Litt P1 Grey 103921

INSTRUCTION MANUAL
This item contains unchangeable LED
| 440 | LM |
| 6.5 | W |
| 2700 | K |
| >80 | CRI |
| 30000 | H |





SAFETY INSTRUCTION
Please study the instruction manual and below information carefully before installing or using
this product. Please keep this user manual for further reference
- The luminaires may only be installed by authorized and qualified technicians according the valid
regulations for electrical installation - Maintenance of the luminaires is limited to their surfaces. During maintenance no moisture can come into contact with any areas of the terminal connections or voltage control parts.
- The electrical supply must be switched off al the outset, preferably by means of a switch in the distribution box, before any installation, maintenance or repair work is undertaken
- Exterior lighting must not be installed during rain
- Take account of the minimal separation distance from other objects and the room required around the fitting
- IF in any doubt, consult a professional, taking local installation requirements into account. Some countries
- stipulate that lighting may be installed only by registered installers.
- Clamping screws in electrical connections must be adequately tightened. This is particularly the case with 12V low voltage conductors
- When replacing a halogen lamp, wait for it 0 cool, for a minimum of 5 minutes.
- Clean with a clean, dry cloth or brush, use no solvents or abrasives. Avoid dampness on all electrical components
- Take account of all available technical information
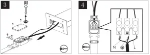
- Take note of the symbols when connecting wires:
N =Neutral Le @=Earth - Meaning of symbols:
For indoor use only, where direct contact with water is impossible
This icon indicates the level of water-proof and dust-proof
Protection Class |: the fitting must be earthed
Protection Class II: the fitting is doubled insulated and does not require earthing
Protection Class Ill: the fitting is low voltage
Minimum distance from lighted objects (meters)
Only the self-shielded halogen lamp should be used with the luminaire
Strip the wire to the indicated length (mm);different items require different length
Connect using the specified cable; different items require different cables
The type of lamp and maximum size and wattage indicated in each lighting unit must not
be exceed; different items require different kind of light sources with different bulb icons
The armature is designed to work only with the indicated voltage. Different items require
different working voltage
The luminaire can be used in combination with a dimmer
The reference light angle and light space of the luminaire
This luminaire cannot be disposed together with normal domestic waste in standard rubbish
can, but you have to bring it to a staging area for electrical waste



















